Application Type
Industrial Designs
Application SubType
Industrial Design
(10) Registration Number and Date
I/660 2025.01.02
Status
ACTIVE ( IP right granted)
(18) Expiration Date
2029.07.08
(20) Filing Number and Date
I/660 2024.07.08
(400) Publication Number and Date
I/660
2025.01.03
(30) Priority Details
(51/52) Classification
(74) Representative
(LA) Tilleke & Gibbins Lao Co., Ltd. : No. 302/1B, 3rd Floor, Vieng Vang Tower, Unit 15, Boulichan Road, Dongpalan Thong Village, Sisattanak District,
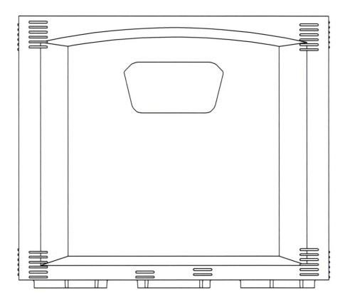
(54) Design Title
Description
(LA) Long Neck Bottle Crate
(EN) Long Neck Bottle Crate
(57) Design Novelty Statement
(56) Design Claims
${repeating.template.CLNB}
ClaimDescription
(70) License Details
Event NameDateLink
Application filed2024-07-08
IP right granted2025-01-02