Application Type
Industrial Design
Application SubType
Design (Single)
(10) Registration Number and Date
0082014 2014.12.17
Status
INACTIVE ( Application discontinued)
(18) Expiration Date
(20) Filing Number and Date
BN/D/2014/0008 2014.12.17
(400) Publication Number and Date
0082014
2014.12.17
(30) Priority Details
TH
TH1402001968
2014.07.23
(51/52) Classification
(72) Designer
(74) Representative
(EN) Ahmad Isa & Partners : Unit No. 404A-410A, 4th Floor, Wisma Jaya, Jalan Pemancha, Bandar Seri Begawan BS8811
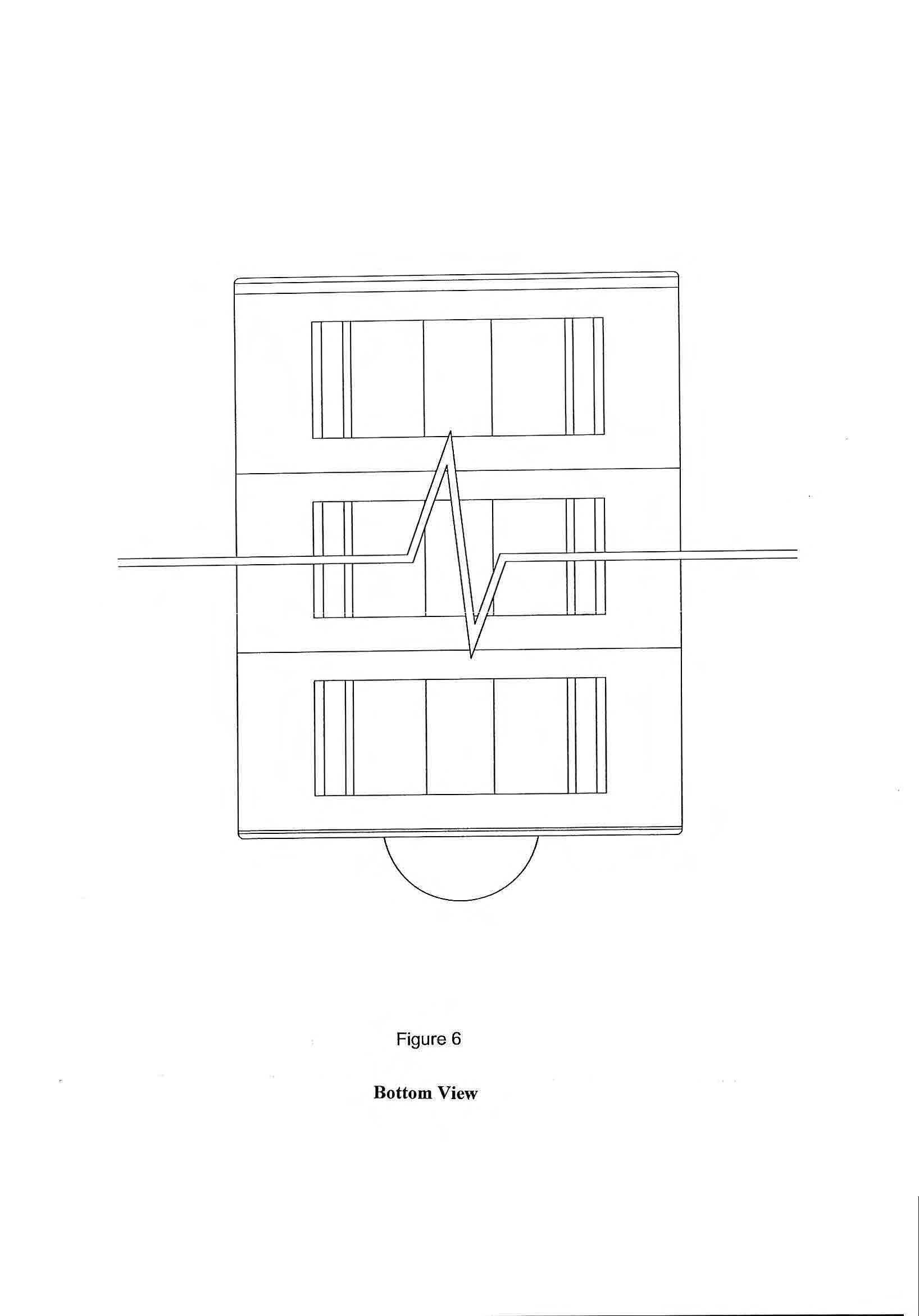
(54) Design Title
Description
(EN) HEAT EXCHANGER
(57) Design Novelty Statement
(EN)

THE FEATURES OF THE DESIGN FOR WHICH NOVELTY IS CLAIMED RESIDE IN THE SHAPE AND CONFIGURATION OF THE ARTICLE AS SHOWN IN THE REPRESENTATIONS

(56) Design Claims
${repeating.template.CLNB}
ClaimDescription
(70) License Details
Event NameDateLink
Application filed2014-12-17
Document published2014-12-17
IP right granted2014-12-17
Application discontinued2019-01-19