Application Type
PCT-NP
Application SubType
(10) Registration Number and Date
11202409254W
Status
ACTIVE ( Other event occurred)
(180) Expiration Date
(20) Filing Number and Date
SG 11202409254W 2024.12.30
(40) Publication Number (Gazette Number) and Date
(86) PCT Filing Number and Date
(87) PCT Publication Number and Date
(85) National Entry Date
(30) Priority Details
CN
CN202310839461.7
2023.07.10
CN202210816044.6
2022.07.12
(71/73) Applicant
(EN) QINGDAO SANLI INTELLIGENT POWER CO., LTD. : No. 217, Shanghai Road, Pingdu Economic Development Zone Qingdao, Shandong 266000<br/>
QINGDAO SANLI ZHONGDE MEI WATER EQUIPMENT CO., LTD. : North Of Industrial Road, No. 2, JihongtanStreet, Chengyang District Qingdao, Shandong 266000<br/>
QINGDAO SANLI PUMPING INDUSTRY CO., LTD.
QINGDAO SANLI GROUP CO., LTD.
(72) Inventor
(74) Representative
(54) Title
(EN) INTELLIGENT DUAL DRIVE PUMP AND WATER SUPPLY SYSTEM
(57) Abstract
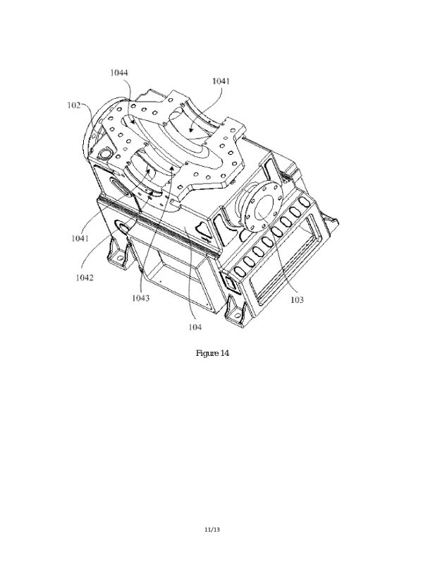
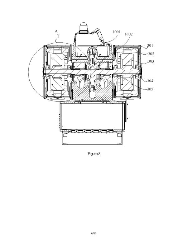
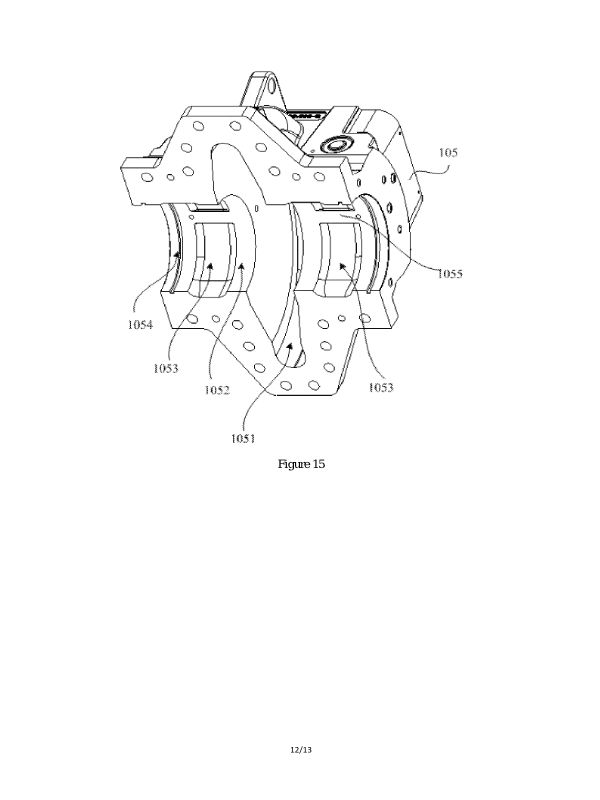
(EN) ABSTRACT INTELLIGENT DUAL DRIVE PUMP AND WATER SUPPLY SYSTEM Disclosed are an intelligent dual drive pump and a water supply system. The intelligent dual drive pump comprises a pump housing, an impeller, motors, and a controller; the impeller is rotatably arranged in the pump housing, the motors are arranged at one of two respective sides of the pump housing, and the two motors are symmetrically arranged and configured to simultaneously drive the impeller to rotate; the controller is provided with a frequency conversion module used for adjusting a power supply frequency, and the frequency conversion module is configured to adjust the power supply frequency of the motors. A rotor and the impeller are coaxially arranged, the motors and the water pump are an integral whole, the head of the intelligent dual drive pump is increased, and the water supply efficiency of the intelligent dual drive pump is improved. Figure 1 20
(58) Citations
License Details
(98) Annuity Details
YearValidity StartValidity EndPayment
Document Type Date Action
Amendment of Claim(s) only 2025-11-04T00:00:00Z
Claim(s) Only 2025-02-20T00:00:00Z
Claim(s) Only 2025-02-20T00:00:00Z
Amendment of Claim(s) only 2024-12-30T00:00:00Z
Abstract 2024-12-30T00:00:00Z
Description (with claims) 2024-12-30T00:00:00Z
Description (with claims) 2024-12-30T00:00:00Z
Drawing(s) 2024-12-30T00:00:00Z
Abstract 2024-12-30T00:00:00Z
Event NameDateLink
Other event occurred2023-07-11
Other event occurred2024-12-30
Other event occurred2025-01-10
Other event occurred2025-02-27
Other event occurred2025-03-06
Other event occurred2025-11-04