Application Type
Patents
Application SubType
National Patent
(10) Registration Number and Date
Status
ACTIVE ( Document published)
(180) Expiration Date
(20) Filing Number and Date
TH 2501007637 2025.11.07
(40) Publication Number (Gazette Number) and Date
(11/2569)
2026.03.16
(86) PCT Filing Number and Date
(87) PCT Publication Number and Date
(85) National Entry Date
(30) Priority Details
-
-25305592.5
2025.04.24
(51) IPC Classes
(71/73) Applicant
(TH) ซีท เวนทิเลชั่น : 70, อิมพาส ฌอง เมอร์มอซ, 09340 เวอร์นิโอลล์
พลาสเทค เวนทิเลชั่น, อิงค์ : 2012 58ทีเอช อเวนิว เซอร์เคิล อีสต์, เบรเดนตัน เอฟแอล ฟลอริดา 34203
(72) Inventor
(TH) ฌอง-ฌาคส์ เกาดิโยต์ : 31000 ตูลูซ,
(74) Representative
(TH) นางสาว จุฑาจิต ศรีประสาธน์ : บริษัท ไอแอลซีที จำกัด เลขที่ 175 ชั้น 18 อาคารสาธรซิตี้ทาวเวอร์ สาทรใต้ ตำบลทุ่งมหาเมฆ อำเภอสาทร จังหวัดกรุงเทพมหานคร
นาย รัชพงษ์ ทองดีแท้ : บริษัท ไอแอลซีที จำกัด เลขที่ 175 อาคารสาธรซิตี้ทาวเวอร์ ชั้น 18 สาทรใต้ ตำบลทุ่งมหาเมฆ อำเภอสาทร จังหวัดกรุงเทพมหานคร
นางสาว รตินุช ก้าวหน้าชัยมงคล : บริษัท ไอแอลซีที จำกัด บริษัท ไอแอลซีที จำกัด เลขที่ 175 อาคารสาธรซิตี้ทาวเวอร์ ชั้น 18 สาทรใต้ ตำบลทุ่งมหาเมฆ อำเภอสาทร จังหวัดกรุงเทพมหานคร
นาย ธิติรัชต์ วัฒนชีวโนปกรณ์
(54) Title
(TH)

โครงครอบพัดลมรูปทรงก้นหอยสำหรับพัดลมแบบแรงเหวี่ยงและพัดลมซึ่งประกอบรวม
ด้วยโครงครอบพัดลมรูปทรงก้นหอยดังกล่าว

(57) Abstract
(TH)

OCR 07AP

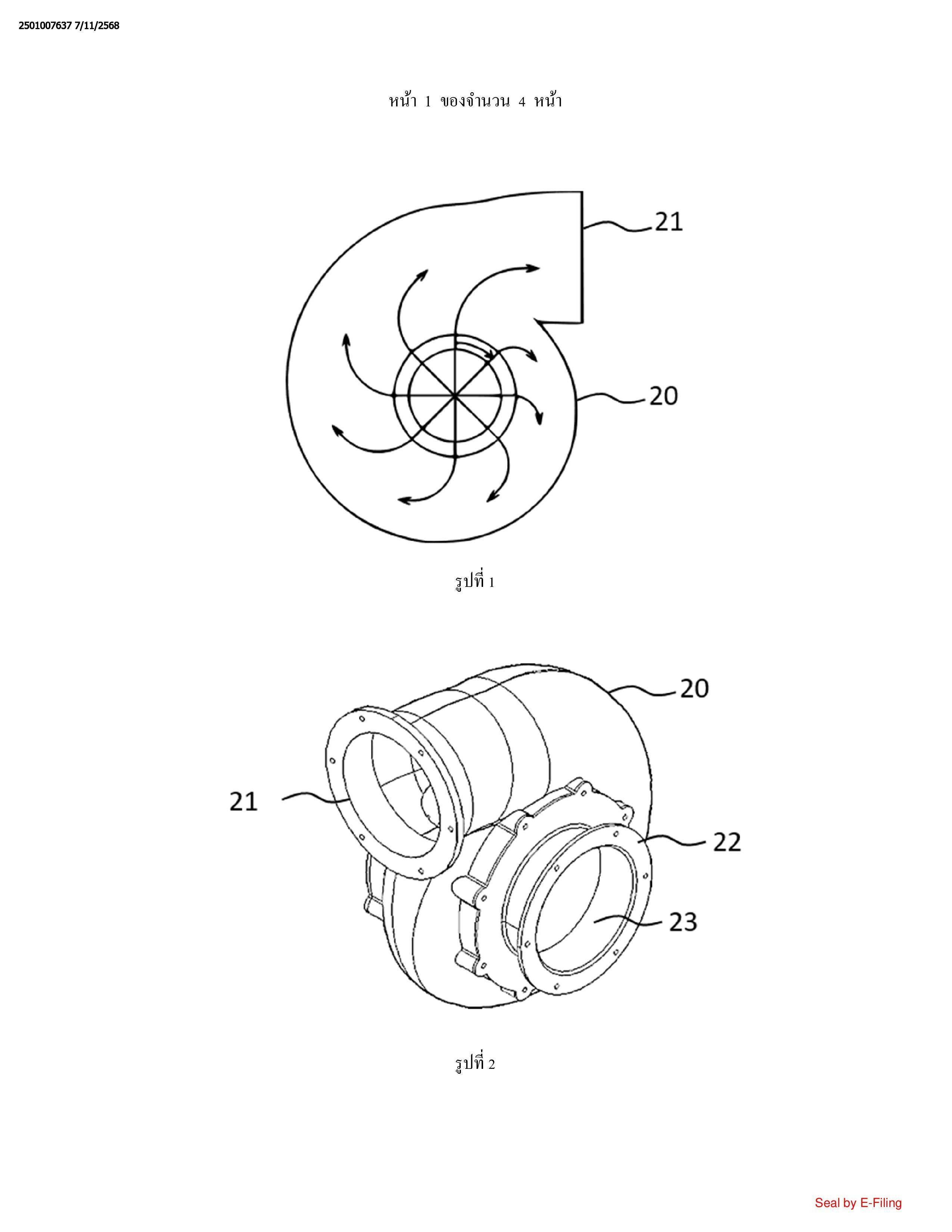
การประดิษฐ์นี้เกี่ยวข้องกับโครงครอบพัดลมรูปทรงก้นหอยสำหรับพัดลมแบบแรงเหวี่ยง ซึ่ง

พัดลมแบบแรงเหวี่ยงรวมถึงใบพัดถูกขับเคลื่อนโดยมอเตอร์ ใบพัดดังกล่าวสามารถเคลื่อนที่ได้โดย

การหมุนไปตามทิศทางการหมุน โครงครอบพัดลมรูปทรงก้นหอยดังกล่าวรวมถึงตัวโครงกลวง (20)

และช่องระบายออก (21) ถูกกำหนดตำแหน่งบนพื้นผิวของตัวโครงกลวง (20) น่าสังเกตว่าในตัวโครง

กลวง (20) นั้นนิยามเส้นทางกระแสอากาศแบบแรงเหวี่ยงเชิงเส้นโค้งมีพื้นที่หน้าตัดที่ขยายเพิ่มขึ้น

ระหว่างจุดเริ่มต้นมีมุม เธตา ขนาด 0องศา และจุดสิ้นสุดมีมุม เธตา ขนาด 360องศา ที่สอดคล้องกับช่องระบายออก

(21) ที่ซึ่งพื้นผิวของพื้นที่หน้าตัดที่เพิ่มขึ้นดังกล่าวเปลี่ยนแปลงไปตามสมการต่อไปนี้:

S(เธตา)(พายd2/4)แลมบ์ดา(เธตา) โดยที่ d คือเส้นผ่านศูนย์กลางของช่องดูดอากาศเข้าสู่พัดลม

(58) Citations
License Details
(98) Annuity Details
YearValidity StartValidity EndPayment
Document Type Date Action
claims 2026-03-16T00:00:00Z
abstract 2026-03-16T00:00:00Z
description 2026-03-16T00:00:00Z
gazette 2026-03-16T00:00:00Z
Event NameDateLink
Application filed2025-11-07
Document published2026-03-16

1

OCR 07AP

1. โครงครอบพัดลมรูปทรงก้นหอยสำหรับพัดลมแบบแรงเหวี่ยงซึ่งพัดลมแบบแรงเหวี่ยงรวมถึง

ใบพัดถูกขับเคลื่อนโดยมอเตอร์ ใบพัดดังกล่าวสามารถเคลื่อนที่ได้โดยการหมุนไปตาม

ทิศทางการหมุน โครงครอบพัดลมรูปทรงก้นหอยดังกล่าวรวมถึงตัวโครงกลวง (20) และ

ช่องระบายออก (21) ถูกกำหนดตำแหน่งบนพื้นผิวของตัวโครงกลวง (20) ที่ซึ่งตัวโครงกลวง (20)

นิยามเส้นทางกระแสอากาศแบบแรงเหวี่ยงเชิงเส้นโค้งมีพื้นที่หน้าตัดขยายเพิ่มขึ้นระหว่างจุดเริ่มต้นมี

มุม เธตา ขนาด 0องศา และจุดสิ้นสุดมีมุม เธตา ขนาด 360องศา ที่สอดคล้องกับช่องระบายออก (21) ที่ซึ่งพื้นที่ผิว

ของพื้นที่หน้าตัดที่เพิ่มขึ้นดังกล่าวเปลี่ยนแปลงไปตามสมการต่อไปนี้: S(เธตา)=(พายd2/4)แลมบ์ดา(เธตา) โดยที่ d

คือเส้นผ่านศูนย์กลางของช่องดูดอากาศเข้าสู่พัดลมและ แลมบ์ดา(เธตา) รวมถึงระหว่างขีดจำกัดบน แลมบ์ดาsup(เธตา)

และขีดจำกัดล่าง แลมบ์ดาinf(เธตา) ตามลำดับที่ถูกกำหนดโดย แลมบ์ดาsup(เธตา)= -6.85.10ยกกำลัง-13xเธตา5 + 5.28.10ยกกำลัง-10 xเธตา4-

1.38.10ยกกำลัง-7xเธตา3 + 1.85.10ยกกำลัง-5xเธตา2 + 1.4.10ยกกำลัง-3xเธตา + 0.192 และ แลมบ์ดาinf(เธตา) = -1.22.10ยกกำลัง-13xเธตา5 - 1.5.10ยกกำลัง-11xเธตา+

6.39.10ยกกำลัง-8xเธตา3-2.07.10ยกกำลัง-5xเธตา2 +4.13.10ยกกำลัง-3xเธตา

2. โครงครอบพัดลมรูปทรงก้นหอยตามที่ขอถือสิทธิไว้ในข้อถือสิทธิข้อที่ 1 ที่ซึ่งเส้นทางกระแส

อากาศแบบแรงเหวี่ยงเชิงเส้นโค้งมีรัศมีกระแสอากาศแบบแรงเหวี่ยงเชิงเส้นโค้ง รัศมี

การไหลเชิงเส้นโค้งถูกกำหนดโดยแฟคเตอร์ในการพัฒนา เบตา ถูกกำหนดตามสมการต่อไปนี้:

เบตา=1+Kเธตา โดยที่ K อยู่ระหว่าง 1.07.10ยกกำลัง-3 และ 2.09.10ยกกำลัง-3 โดยรัศมีการแยก R0 และโดยสมการต่อไปนี้:

R(เธตา) =R0เบตา

3. โครงครอบพัดลมรูปทรงก้นหอยตามที่ขอถือสิทธิไว้ในข้อถือสิทธิข้อที่ 1 หรือ 2 ซึ่ง

รวมเพิ่มเติมถึงหน้าแปลน (22) อย่างน้อยหนึ่งชิ้นถูกกำหนดตำแหน่งใกล้กับช่องดูดอากาศ (23) หรือ

ใกล้กับช่องระบายออก (21)

4. โครงครอบพัดลมรูปทรงก้นหอยตามที่ขอถือสิทธิไว้ในข้อถือสิทธิข้อที่ 1 ถึง 3 ข้อใดข้อหนึ่ง ที่

ซึ่งตัวโครงกลวง (20)รวมถึงสี่เหลี่ยมมุมฉากหรือวงกลมหรือเส้นทางกระแสอากาศแบบ

แรงเหวี่ยงเชิงวง

5. โครงครอบพัดลมรูปทรงก้นหอยตามที่ขอถือสิทธิไว้ในข้อถือสิทธิข้อที่ 1 ถึง 4 ข้อใดข้อหนึ่งที่

รวมถึงส่วนที่เบนหากันถูกยึดติดกับช่องระบายออกดังกล่าว (21) ส่วนที่เบนหากันดังกล่าวถูกจัดโครง

แบบเพื่อปรับโครงครอบพัดลมรูปทรงก้นหอยดังกล่าวเข้ากับระบบระบายอากาศที่มีอยู่

6. โครงครอบพัดลมรูปทรงก้นหอยตามที่ขอถือสิทธิไว้ในข้อถือสิทธิข้อที่ 1 ถึง 5 ข้อใดข้อหนึ่ง

รวมถึงดิฟฟิวเซอร์ถูกยึดติดกับช่องระบายออกดังกล่าว (21) ดิฟฟิวเซอร์ดังกล่าวถูกจัดโครงแบบ

เพื่อให้มีพื้นที่หน้าตัดที่เพิ่มขึ้นจากช่องระบายออก (21)

7. พัดลมแบบแรงเหวี่ยงซึ่งประกอบรวมด้วยโครงครอบพัดลมรูปทรงก้นหอยตามที่ขอถือสิทธิไว้

ในข้อถือสิทธิข้อที่ 1 ถึง 6 ข้อใดข้อหนึ่ง

8. พัดลมแบบแรงเหวี่ยงตามที่ขอถือสิทธิไว้ในข้อถือสิทธิข้อที่ 7 ที่ซึ่งอัตราการไหลของอากาศ

ผ่านโครงครอบพัดลมรูปทรงก้นหอยอยู่ระหว่าง 50 ลูกบาศก์เมตรต่อชั่วโมงและ 20,000 ลูกบาศก์

เมตรต่อชั่วโมง

9. การติดตั้งพัดลมแบบแรงเหวี่ยงซึ่งประกอบรวมด้วยพัดลมตามที่ขอถือสิทธิไว้ในข้อถือสิทธิ

ข้อที่ 7 หรือ 8 ที่ซึ่งโครงครอบพัดลมรูปทรงก้นหอยจ่ายกระแสอากาศไปยังระบบระบายอากาศ

ภายนอกรวมถึงท่อดูดอากาศและ/หรือท่อระบายอากาศ