Application Type
National
Application SubType
(10) Registration Number and Date
10202402484R
Status
ACTIVE ( Other event occurred)
(180) Expiration Date
(20) Filing Number and Date
SG 10202402484R 2023.12.31
(40) Publication Number (Gazette Number) and Date
(86) PCT Filing Number and Date
(87) PCT Publication Number and Date
(85) National Entry Date
(30) Priority Details
US
US61/365,518
2009.12.27
US61/386,725
(51) IPC Classes
    (72) Inventor
    (74) Representative
    (54) Title
    (57) Abstract
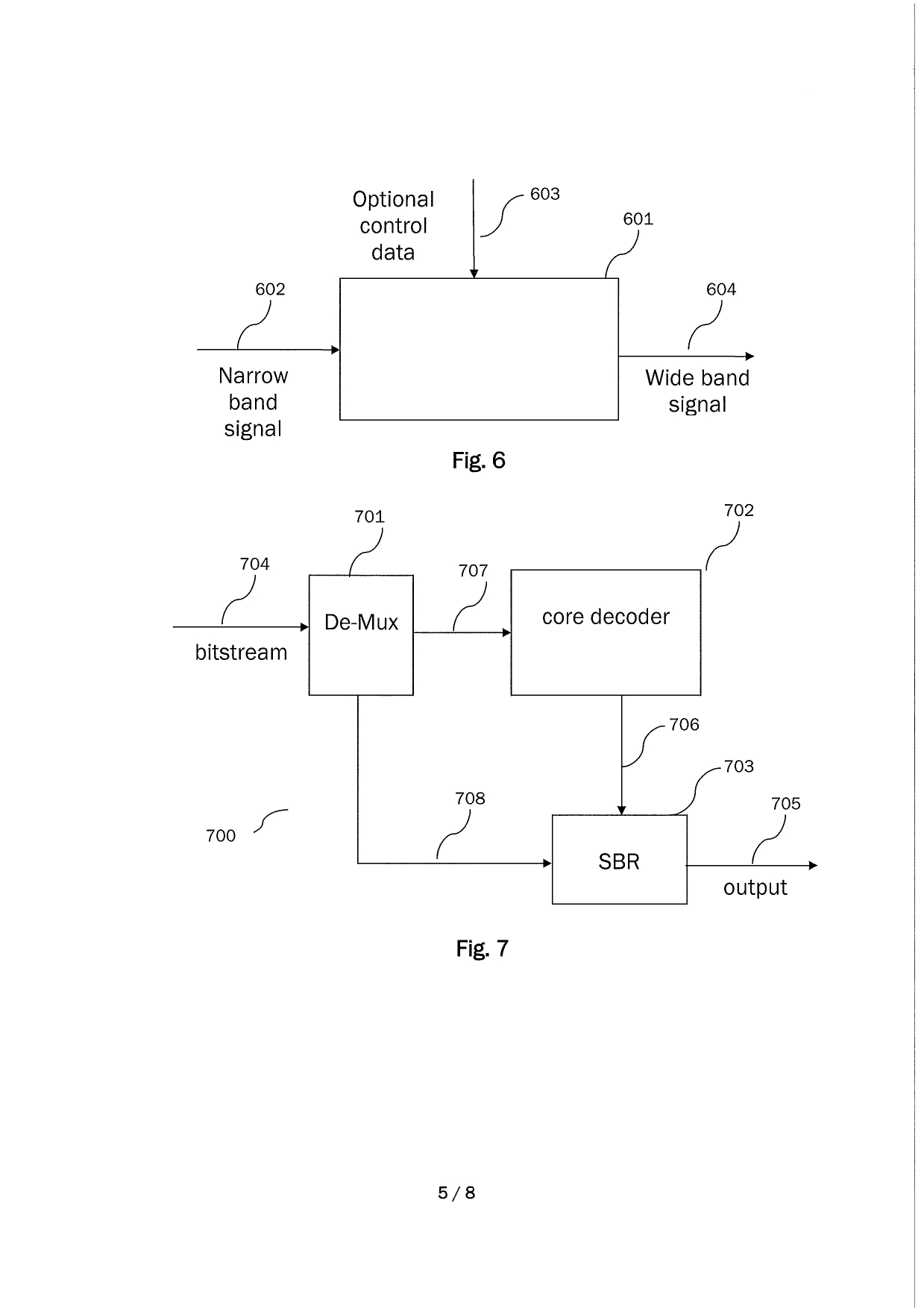
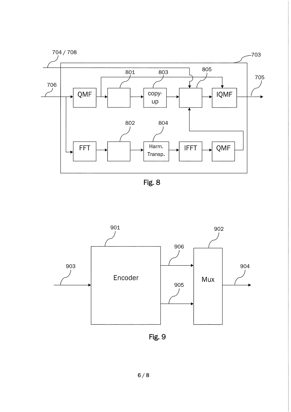
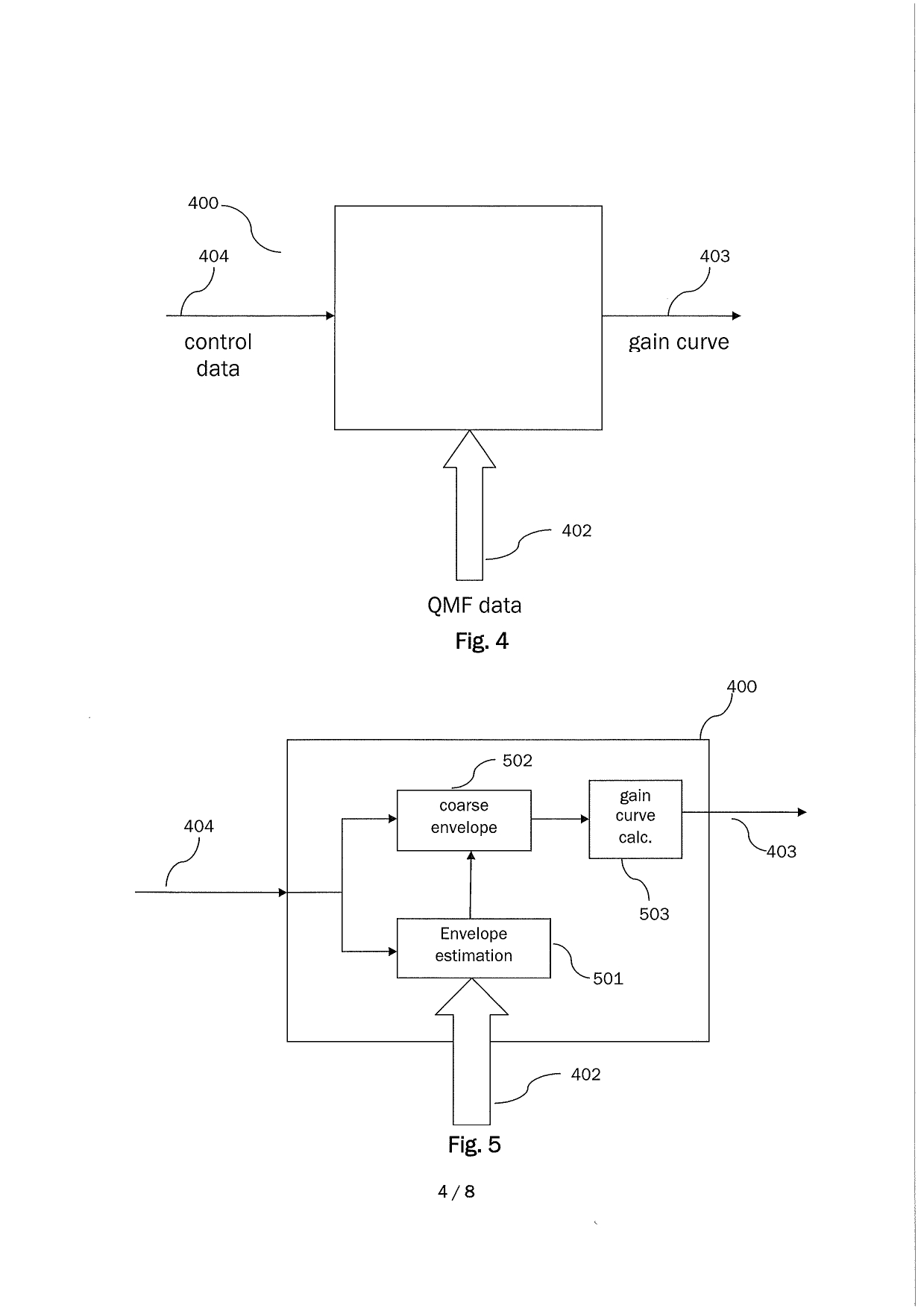
    (EN) - 30 - PROCESSING OF AUDIO SIGNALS DURING HIGH FREQUENCY RECONSTRUCTION Abstract The application relates to HFR (High Frequency Reconstruction/Regeneration) of audio signals. In particular, the application relates to a method and system for performing HFR of audio signals having large variations in energy level across the low frequency range which is used to reconstruct the high frequencies of the audio signal. A system configured to generate a plurality of high frequency subband signals covering a high frequency interval from a plurality of low frequency subband signals is described. The system comprises means for receiving the plurality of low frequency subband signals; means for receiving a set of target energies, each target energy covering a different target interval within the high frequency interval and being indicative of the desired energy of one or more high frequency subband signals lying within the target interval; means for generating the plurality of high frequency subband signals from the plurality of low frequency subband signals and from a plurality of spectral gain coefficients associated with the plurality of low frequency subband signals, respectively; and means for adjusting the energy of the plurality of high frequency subband signals using the set of target energies. Fig. 2
    (58) Citations
    License Details
    (98) Annuity Details
    YearValidity StartValidity EndPayment
    Document Type Date Action
    Description (with claims) 2024-08-16T00:00:00Z
    Abstract 2024-08-16T00:00:00Z
    Event NameDateLink
    Other event occurred2010-12-26
    Other event occurred2023-12-31
    Other event occurred2023-12-31
    Other event occurred2023-12-31