Application Type
Patents
Application SubType
National Patent
(10) Registration Number and Date
Status
ACTIVE ( Document published)
(180) Expiration Date
(20) Filing Number and Date
TH 2501005649 2025.08.25
(40) Publication Number (Gazette Number) and Date
(5/2569)
2026.02.02
(86) PCT Filing Number and Date
(87) PCT Publication Number and Date
(85) National Entry Date
(30) Priority Details
(51) IPC Classes
(71/73) Applicant
(TH) เดลต้า ฟอซิท คัมพะนี : 55 อีสต์ 111ทีเอช สตรีท, อินเดียแนโพลิส, รัฐอินดีแอนา 46280
(74) Representative
(TH) นาง ดารานีย์ วัจนะวุฒิวงศ์ : บริษัท ติลลิกีแอนด์กิบบินส์ อินเตอร์เนชั่นแนล จำกัด เลขที่ 1011 อาคารศุภาลัย แกรนด์ ทาวเวอร์ ชั้น 20-26 พระราม 3 ตำบลช่องนนทรี อำเภอยานนาวา จังหวัดกรุงเทพมหานคร
นางสาว สุคนธ์ทิพย์ จิตมงคลทอง : บริษัท ติลลิกีแอนด์กิบบินส์ อินเตอร์เนชั่นแนล จำกัด เลขที่ 1011 อาคารศุภาลัย แกรนด์ ทาวเวอร์ ชั้นที่ 20-26 พระราม 3 ตำบลช่องนนทรี อำเภอยานนาวา จังหวัดกรุงเทพมหานคร
นาย ณัฐพล อร่ามเมือง : บริษัท ติลลิกีแอนด์กิบบินส์ อินเตอร์เนชั่นแนล จำกัด 1011 อาคารศุภาลัยแกรนด์ทาวเวอร์ ชั้น 20-26 พระราม 3 ตำบลช่องนนทรี อำเภอยานนาวา จังหวัดกรุงเทพมหานคร
นาย สมบูรณ์ เอื้อธีรศรัณย์ : บริษัท ติลลิกีแอนด์กิบบินส์ อินเตอร์เนชั่นแนล จำกัด เลขที่ 1011 อาคารศุภาลัย แกรนด์ ทาวเวอร์ ชั้น 20 - 26 พระราม 3 ตำบลช่องนนทรี อำเภอยานนาวา จังหวัดกรุงเทพมหานคร
นาย สืบสิริ ทวีผล
(54) Title
(TH)

ตัวหนีบแบบยึดติดอย่างรวดเร็วสำหรับก๊อกน้ำ

(57) Abstract
(TH)

OCR 09WP 25/09/2568
ชุดชิ้นส่วนประกอบของก๊อกน้ำถูกติดตั้งเข้ากับแท่นติดตั้งซึ่งมีเส้นทางผ่านที่ต่อขยายจาก
พื้นผิวที่หนึ่งของแท่นติดตั้งไปยังพื้นผิวที่สองของแท่นติดตั้ง ชุดชิ้นส่วนประกอบของก๊อกน้ำ
จะรวมถึงปากก๊อกน้ำซึ่งปล่อยของไหลออกมาจากบริเวณดังกล่าว ฐานอันหนึ่งจะถูกติดตั้งบนพื้นผิว
ที่หนึ่งของแท่นติดตั้งและระหว่างปากก๊อกน้ำและแท่นติดตั้ง ฐานดังกล่าวมีขนาดและรูปทรง
ในลักษณะที่ฐานดังกล่าวจะไม่สามารถเคลื่อนตัวผ่านเส้นทางผ่านของแท่นติดตั้งไปได้เมื่อถูกติดตั้งบน
พื้นผิวที่หนึ่ง แท่งติดตั้งถูกเชื่อมต่อเข้ากับฐานและถูกสอดเข้าไปในเส้นทางผ่าน แท่งติดตั้งซึ่งมีพื้นผิว
ด้านนอกรูปวงกลมซึ่งมีลายเกลียวภายนอกอยู่บนบริเวณดังกล่าว แป้นเกลียวจะรวมถึงช่วงที่เป็นท่อ
ซึ่งมีผนังด้านในพร้อมด้วยลายเกลียวภายใน ผนังด้านในจะกำหนดขอบเขตให้กับช่องส่งที่ถูกกำหนด
ขนาดเพื่อให้รับแท่งติดตั้งเข้ามาในลักษณะที่ลายเกลียวภายในของผนังด้านในจะขบกับลายเกลียว
ภายนอกของแท่งติดตั้ง แขนคานยื่นจะต่อขยายจากผนังด้านนอกของช่วงที่เป็นท่อ แขนคานยื่นจะ
รวมถึงรูลอดที่มีลายเกลียว สกรูที่มีลายเกลียวภายนอกจะถูกขันเกลียวผ่านรูลอดที่มีลายเกลียวของ
แขนคานยื่นจนกระทั่งส่วนปลายด้านไกลของสกรูกดติดกับพื้นผิวที่สองของแท่นติดตั้งและทำให้
ลายเกลียวภายในของช่วงที่เป็นท่อโยกติดกับลายเกลียวภายนอกของแท่งติดตั้งซึ่งจะเป็นการยึด
ชุดชิ้นส่วนประกอบของก๊อกน้ำให้ติดแน่นเข้ากับแท่นติดตั้ง

(58) Citations
License Details
(98) Annuity Details
YearValidity StartValidity EndPayment
Document Type Date Action
abstract 2026-02-02T00:00:00Z
gazette 2026-02-02T00:00:00Z
description 2026-02-02T00:00:00Z
claims 2026-02-02T00:00:00Z
Event NameDateLink
Application filed2025-08-25
Document published2026-02-02

1

OCR 09WP 25/09/2568
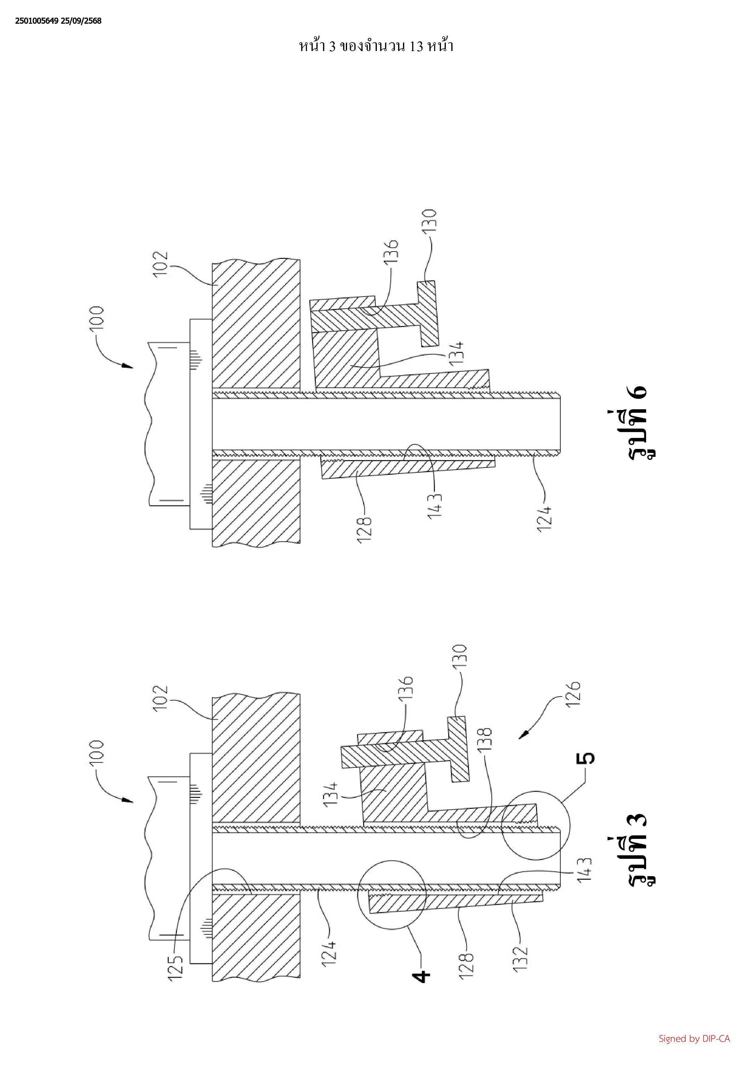
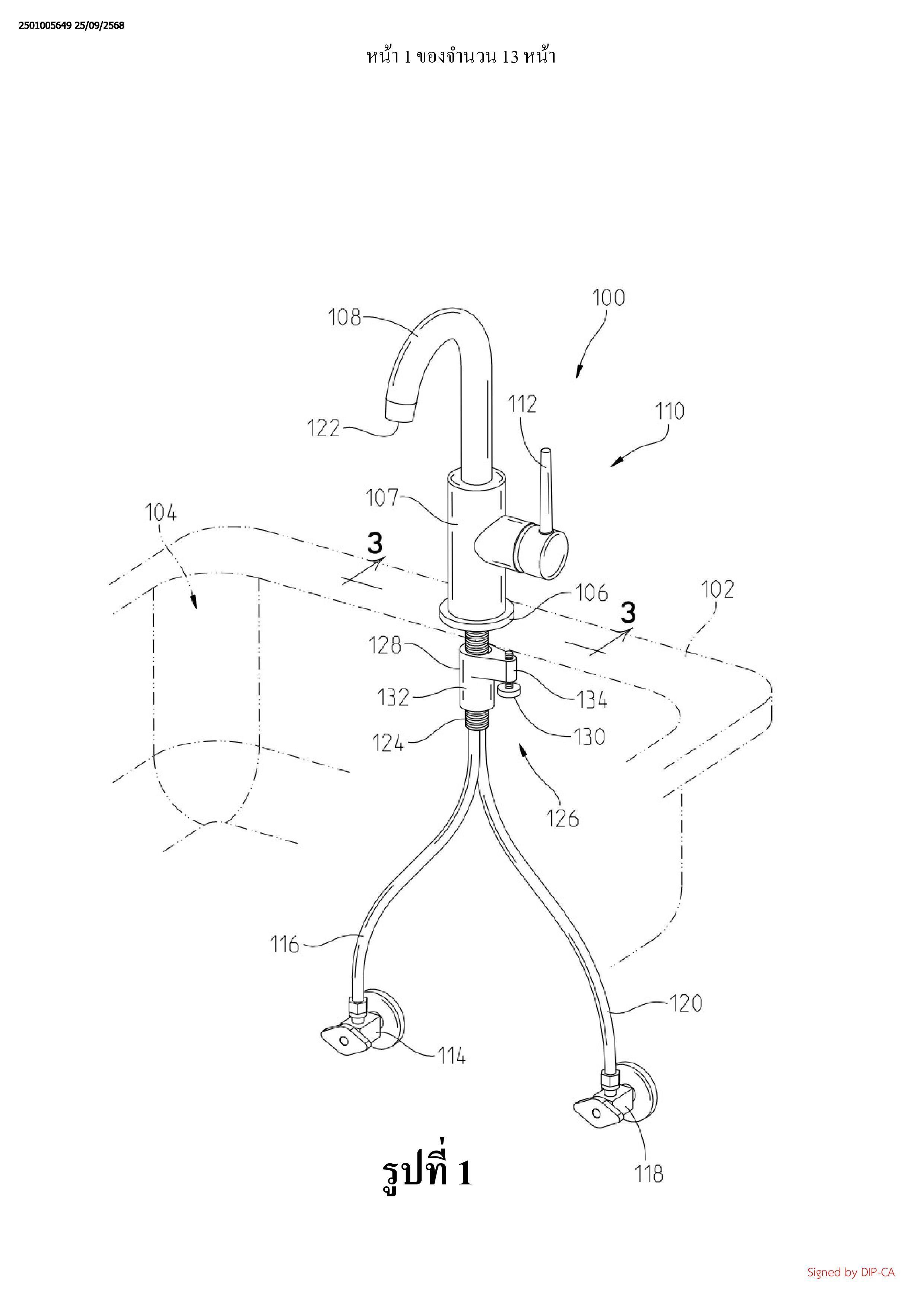
1. ชุดชิ้นส่วนประกอบของก๊อกน้ำซึ่งถูกจัดโครงแบบเพื่อให้ถูกติดตั้งเข้ากับแท่นติดตั้งซึ่ง
มีเส้นทางผ่านที่ต่อขยายจากพื้นผิวที่หนึ่งของแท่นติดตั้งไปยังพื้นผิวที่สองของแท่นติดตั้งโดยที่
ชุดชิ้นส่วนประกอบของก๊อกน้ำประกอบรวมด้วย
ปากก๊อกน้ำซึ่งถูกจัดโครงแบบเพื่อให้ปล่อยของไหลออกมาจากส่วนดังกล่าว
ฐานซึ่งถูกจัดโครงแบบเพื่อให้ถูกติดตั้งบนพื้นผิวที่หนึ่งของแท่นติดตั้งและระหว่าง
ปากก๊อกน้ำและแท่นติดตั้งโดยที่ฐานมีขนาดและรูปทรงในลักษณะที่ฐานดังกล่าวจะไม่สามารถ
เคลื่อนตัวผ่านเส้นทางผ่านของแท่นติดตั้งไปได้เมื่อถูกติดตั้งบนพื้นผิวที่หนึ่ง
แท่งติดตั้งซึ่งถูกเชื่อมต่อเข้ากับฐานและถูกจัดโครงแบบเพื่อให้ถูกสอดเข้าไปในเส้นทาง
ผ่านเพื่อให้ลำเลียงของไหลผ่านเส้นทางผ่านไปยังปากก๊อกน้ำโดยที่แท่งติดตั้งมีพื้นผิวด้านนอก
รูปวงกลมซึ่งมีลายเกลียวภายนอกอยู่บนส่วนดังกล่าว
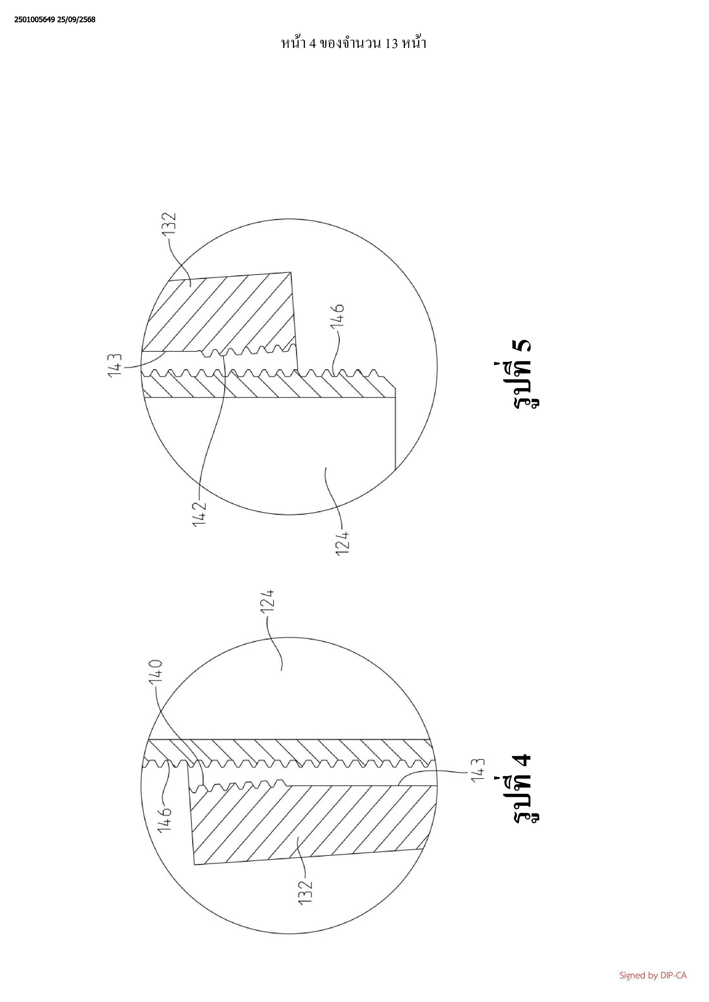
แป้นเกลียวซึ่งรวมถึง
ช่วงที่เป็นท่อซึ่งมีผนังด้านในพร้อมด้วยลายเกลียวภายในโดยที่ผนังด้านในจะกำหนด
ขอบเขตให้กับช่องส่งที่ถูกกำหนดขนาดเพื่อให้รับแท่งติดตั้งเข้ามาในลักษณะที่ลายเกลียวภายใน
ของผนังด้านในจะขบกับลายเกลียวภายนอกของแท่งติดตั้งตามแต่จะเลือกและ
แขนคานยื่นที่ต่อขยายจากผนังด้านนอกของช่วงที่เป็นท่อโดยที่แขนคานยื่นจะรวมถึง
รูลอดที่มีลายเกลียวและ
สกรูที่มีลายเกลียวภายนอกซึ่งถูกจัดโครงแบบเพื่อให้ถูกขันเกลียวผ่านรูลอดที่มีลายเกลียว
ของแขนคานยื่นจนกระทั่งส่วนปลายด้านไกลของสกรูกดติดกับพื้นผิวที่สองของแท่นติดตั้งและ
ทำให้ลายเกลียวภายในของช่วงที่เป็นท่อโยกติดกับลายเกลียวภายนอกของแท่งติดตั้งซึ่งจะเป็นการ
ยึดชุดชิ้นส่วนประกอบของก๊อกน้ำให้ติดแน่นเข้ากับแท่นติดตั้ง
2. ชุดชิ้นส่วนประกอบของก๊อกน้ำของข้อถือสิทธิที่ 1 โดยที่แท่งติดตั้งสามารถเลื่อนได้อย่าง
อิสระในช่องส่งของช่วงที่เป็นท่อก่อนที่ลายเกลียวภายในของช่วงที่เป็นท่อจะถูกโยกติดกับลายเกลียว
ภายนอกของแท่งติดตั้ง
3. ชุดชิ้นส่วนประกอบของก๊อกน้ำของข้อถือสิทธิที่ 1 โดยที่ลายเกลียวภายในของช่วงที่เป็น
ท่อไม่ได้ต่อขยายออกไปโดยรอบเส้นรอบวงทั้งหมดของผนังด้านในของช่วงที่เป็นท่อ
4. ชุดชิ้นส่วนประกอบของก๊อกน้ำของข้อถือสิทธิที่ 1 โดยที่ลายเกลียวภายในของช่วงที่เป็น
ท่อจะรวมถึงลายเกลียวภายในที่หนึ่งตรงส่วนปลายที่หนึ่งของช่วงที่เป็นท่อและลายเกลียวภายในที่สอง
ตรงส่วนปลายที่สองของช่วงที่เป็นท่อ
5. ชุดชิ้นส่วนประกอบของก๊อกน้ำของข้อถือสิทธิที่ 4 โดยที่ช่วงที่เป็นท่อจะรวมถึงส่วน
ตรงกลางที่ถูกคลายเกลียวระหว่างส่วนปลายที่หนึ่งและส่วนปลายที่สอง
6. ชุดชิ้นส่วนประกอบของก๊อกน้ำของข้อถือสิทธิที่ 5 โดยที่ส่วนตรงกลางของช่วงที่เป็นท่อ
จะเอียงทำมุมกับรูลอดที่มีลายเกลียวของแขนคานยื่น
7. ชุดชิ้นส่วนประกอบของก๊อกน้ำของข้อถือสิทธิที่ 4 โดยที่ลายเกลียวภายในที่หนึ่งของช่วง
ที่เป็นท่อและลายเกลียวภายในที่สองของช่วงที่เป็นท่อไม่ได้ต่อขยายออกไปโดยรอบเส้นรอบวง
ทั้งหมดของผนังด้านในของช่วงที่เป็นท่อ
8. ชุดชิ้นส่วนประกอบของก๊อกน้ำของข้อถือสิทธิที่ 4 โดยที่ผนังด้านในของส่วนตรงกลาง
ของช่วงที่เป็นท่อไม่ได้อยู่ตรงแนวกับลายเกลียวภายในที่หนึ่งและลายเกลียวภายในที่สองของช่วง
ที่เป็นท่อ
9. ชุดชิ้นส่วนประกอบของก๊อกน้ำของข้อถือสิทธิที่ 1 โดยที่สกรูที่มีลายเกลียวภายนอกถูก
จัดโครงแบบเพื่อให้ถูกขันเกลียวผ่านรูลอดที่มีลายเกลียวของแขนคานยื่นจนกระทั่งส่วนปลายด้านไกล
ของสกรูยึดเกี่ยวโดยตรงเข้ากับพื้นผิวที่สองของแท่นติดตั้ง
10. ชุดชิ้นส่วนประกอบของก๊อกน้ำของข้อถือสิทธิที่ 1 โดยที่สกรูที่มีลายเกลียวภายนอกถูก
จัดโครงแบบเพื่อให้ถูกขันเกลียวผ่านรูลอดที่มีลายเกลียวของแขนคานยื่นจนกระทั่งส่วนปลายด้านไกล
ของสกรูกดติดกับพื้นผิวที่สองของแท่นติดตั้งและให้แรงบิดบนแป้นเกลียวซึ่งทำให้ลายเกลียวภายใน
ของช่วงที่เป็นท่อโยกติดกับลายเกลียวภายนอกของแท่งติดตั้งและยึดชุดชิ้นส่วนประกอบของก๊อกน้ำ
ให้ติดแน่นเข้ากับแท่นติดตั้ง
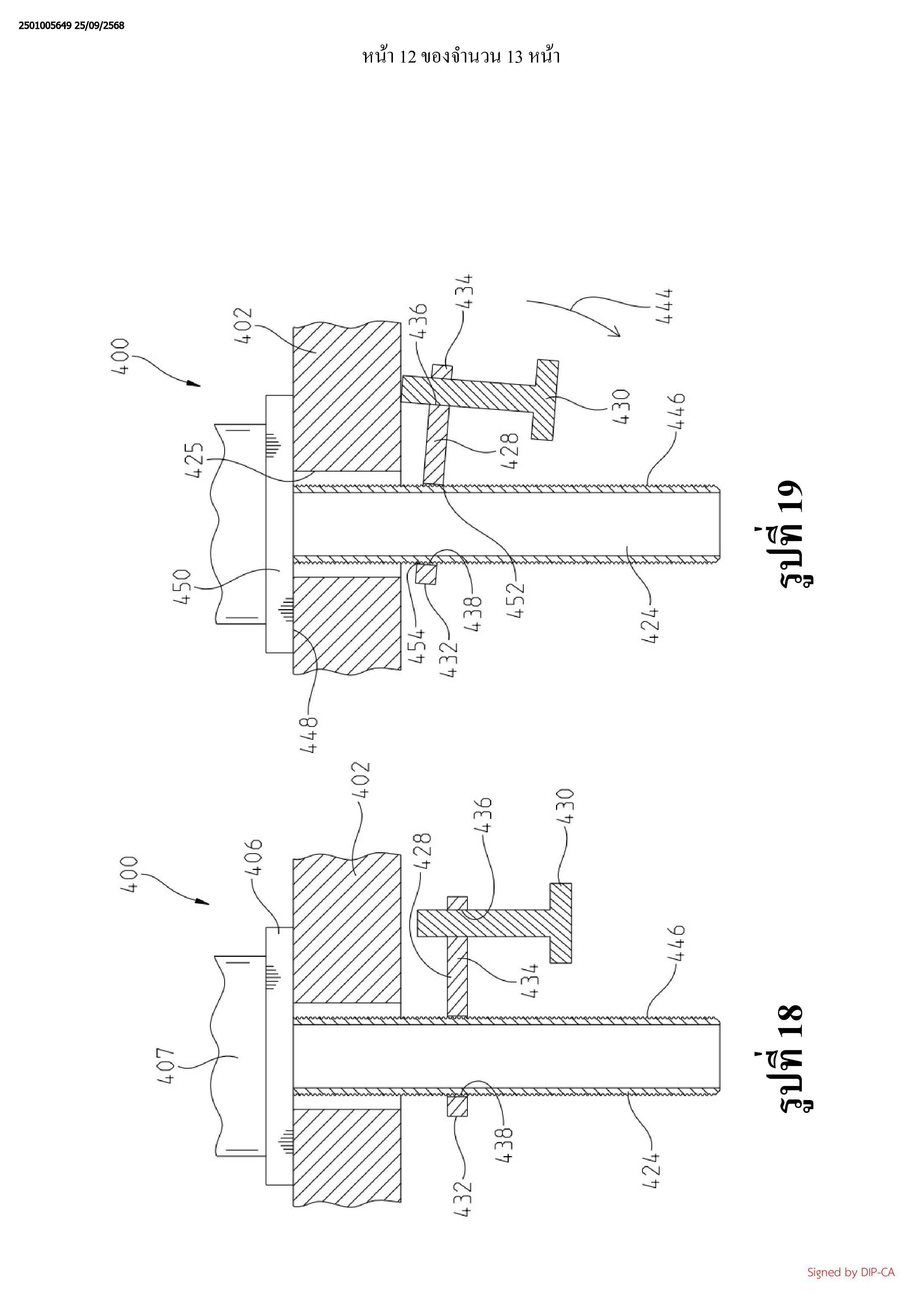
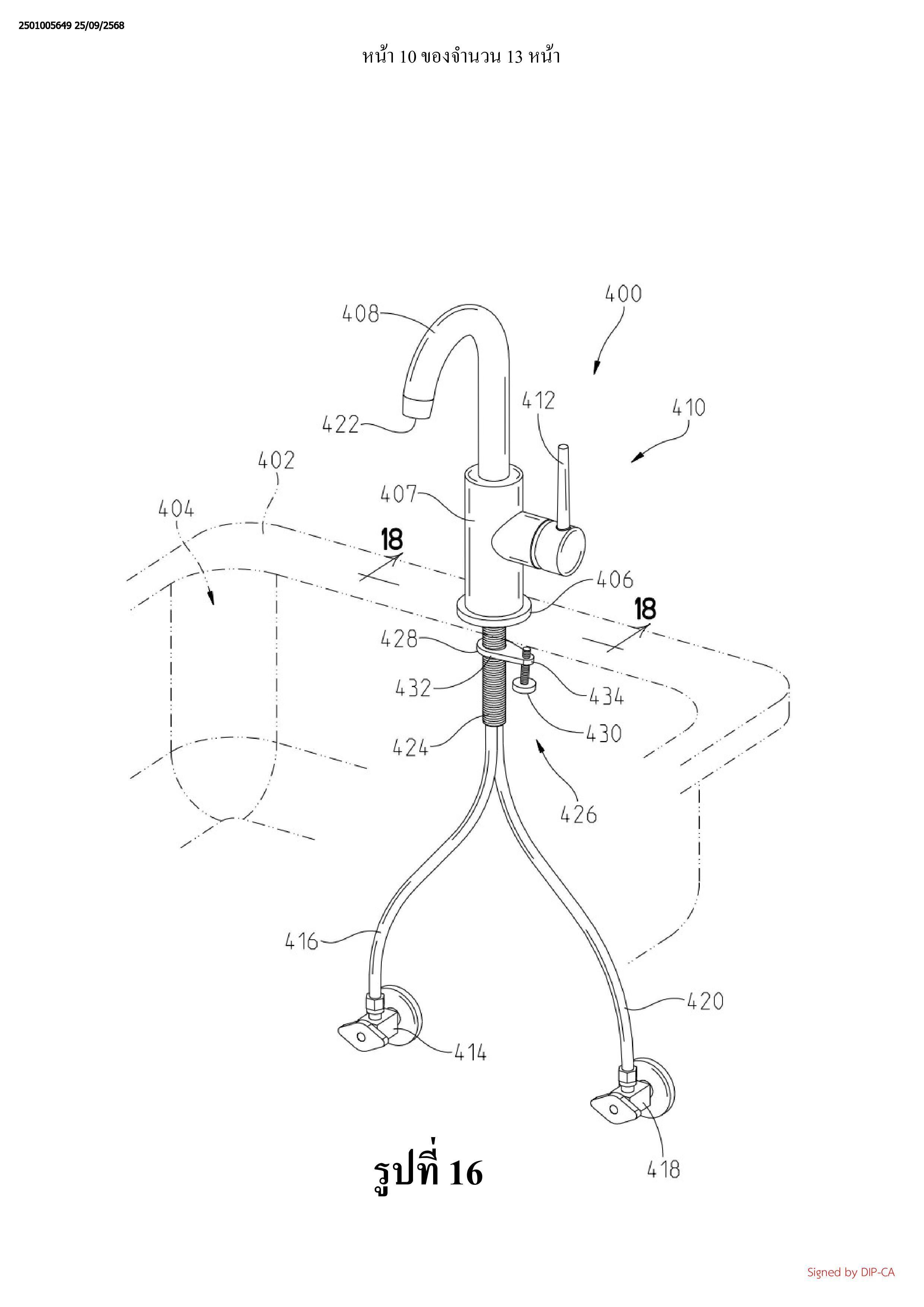
11. ชุดชิ้นส่วนประกอบของก๊อกน้ำซึ่งถูกจัดโครงแบบเพื่อให้ถูกติดตั้งเข้ากับแท่นติดตั้งซึ่ง
มีเส้นทางผ่านที่ต่อขยายจากพื้นผิวที่หนึ่งของแท่นติดตั้งไปยังพื้นผิวที่สองของแท่นติดตั้งโดยที่
ชุดชิ้นส่วนประกอบของก๊อกน้ำประกอบรวมด้วย
ปากก๊อกน้ำซึ่งถูกจัดโครงแบบเพื่อให้ปล่อยของไหลออกมาจากส่วนดังกล่าว
ฐานซึ่งถูกจัดโครงแบบเพื่อให้ถูกติดตั้งบนพื้นผิวที่หนึ่งของแท่นติดตั้งและระหว่างปาก
ก๊อกน้ำและแท่นติดตั้งโดยที่ฐานมีขนาดและรูปทรงในลักษณะที่ฐานดังกล่าวจะไม่สามารถเคลื่อนตัว
ผ่านเส้นทางผ่านของแท่นติดตั้งไปได้เมื่อถูกติดตั้งบนพื้นผิวที่หนึ่ง
แท่งติดตั้งซึ่งถูกเชื่อมต่อเข้ากับฐานและถูกจัดโครงแบบเพื่อให้ถูกสอดเข้าไปในเส้นทาง
ผ่านเพื่อให้ลำเลียงของไหลผ่านเส้นทางผ่านไปยังปากก๊อกน้ำโดยที่แท่งติดตั้งมีพื้นผิวด้านนอก
รูปวงกลมซึ่งมีลายเกลียวภายนอกอยู่บนส่วนดังกล่าว
แป้นเกลียวซึ่งรวมถึง
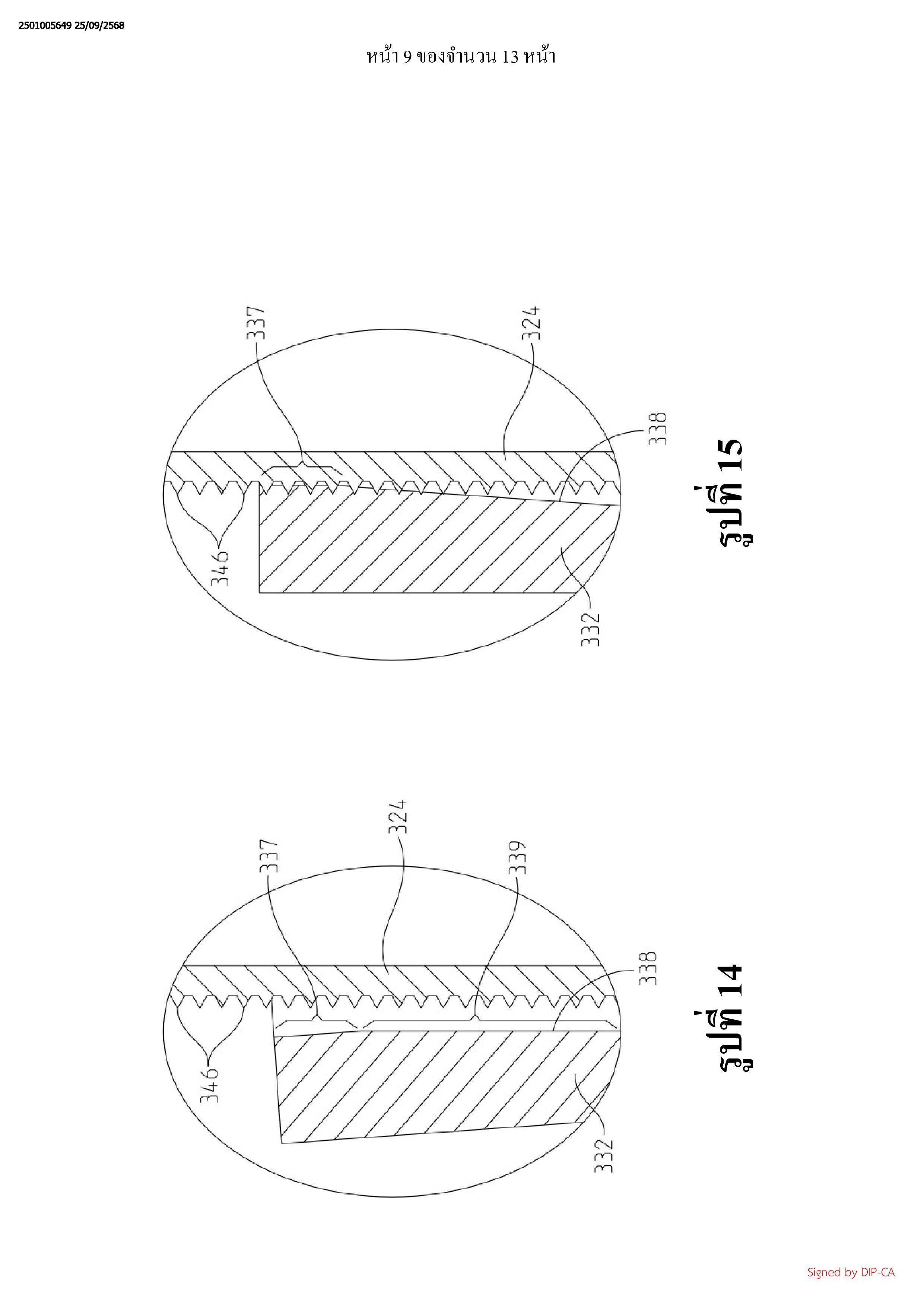
ช่วงที่เป็นท่อซึ่งมีผนังด้านในซึ่งกำหนดขอบเขตให้กับช่องส่งซึ่งมีส่วนปลายที่หนึ่ง,
ส่วนตรงกลางและส่วนปลายที่สองซึ่งอยู่ตรงข้ามกับส่วนปลายที่หนึ่งโดยที่ช่องส่งถูกกำหนดขนาด
เพื่อให้รับแท่งติดตั้งในลักษณะที่ส่วนปลายที่หนึ่งอยู่ใกล้กับฐานมากกว่าส่วนปลายที่สองดังกล่าว
โดยที่ส่วนปลายที่หนึ่งจะรวมถึงชุดที่หนึ่งของลายเกลียวภายในบางส่วนที่ต่อขยายออกไปไม่เต็ม
เส้นรอบวงโดยรอบช่องส่งโดยที่ส่วนปลายที่สองจะรวมถึงชุดที่สองของลายเกลียวภายในบางส่วน
ที่ต่อขยายออกไปไม่เต็มเส้นรอบวงโดยรอบช่องส่งโดยที่ชุดที่สองของลายเกลียวภายในบางส่วน
มีตำแหน่งตามเส้นรอบวงซึ่งเยื้องระยะออกไปประมาณ 180 องศาจากตำแหน่งตามเส้นรอบวงของชุด
ที่หนึ่งของลายเกลียวภายในบางส่วนและ
แขนคานยื่นที่ต่อขยายจากผนังด้านนอกของช่วงที่เป็นท่อในจุดที่ตั้งประมาณ 180 องศา
ซึ่งเยื้องระยะออกไปโดยรอบเส้นรอบวงของช่องส่งจากชุดที่หนึ่งของลายเกลียวภายในบางส่วน
ของส่วนปลายที่หนึ่งของช่องส่งโดยที่แขนคานยื่นจะรวมถึงรูลอดที่มีลายเกลียวและ
สกรูที่มีลายเกลียวภายนอกซึ่งถูกจัดโครงแบบเพื่อให้ถูกขันเกลียวผ่านรูลอดที่มีลายเกลียว
ของแขนคานยื่นจนกระทั่งส่วนปลายด้านไกลของสกรูกดติดกับพื้นผิวที่สองของแท่นติดตั้งและ
ทำให้ชุดที่หนึ่งของลายเกลียวภายในบางส่วนและชุดที่สองของลายเกลียวภายในบางส่วนของช่วง
ที่เป็นท่อโยกติดกับลายเกลียวภายนอกของแท่งติดตั้งซึ่งจะเป็นการยึดชุดชิ้นส่วนประกอบของก๊อกน้ำ
ให้ติดแน่นเข้ากับแท่นติดตั้ง
12. ชุดชิ้นส่วนประกอบของก๊อกน้ำของข้อถือสิทธิที่ 11, โดยที่ส่วนตรงกลางของช่องส่ง
ของช่วงที่เป็นท่อจะเอียงทำมุมกับส่วนปลายที่หนึ่งและส่วนปลายที่สอง
13. ชุดชิ้นส่วนประกอบของก๊อกน้ำของข้อถือสิทธิที่ 11 โดยที่แท่งติดตั้งสามารถเลื่อนได้
อย่างอิสระในช่องส่งของช่วงที่เป็นท่อก่อนที่ชุดที่หนึ่งของลายเกลียวภายในบางส่วนและชุดที่สอง
ของลายเกลียวภายในบางส่วนของช่วงที่เป็นท่อถูกโยกติดกับลายเกลียวภายนอกของแท่งติดตั้ง
14. ชุดชิ้นส่วนประกอบของก๊อกน้ำของข้อถือสิทธิที่ 11 โดยที่ส่วนตรงกลางของช่วงที่เป็นท่อ
จะถูกคลายเกลียวและเอียงทำมุมกับรูลอดที่มีลายเกลียวของแขนคานยื่น
15. ชุดชิ้นส่วนประกอบของก๊อกน้ำของข้อถือสิทธิที่ 11 โดยที่ผนังด้านในของส่วนตรงกลาง
ของช่วงที่เป็นท่อไม่ได้อยู่ตรงแนวกับชุดที่หนึ่งของลายเกลียวภายในบางส่วนและชุดที่สองของ
ลายเกลียวภายในบางส่วนของช่วงที่เป็นท่อ
16. อุปกรณ์ล็อกสำหรับยึดก๊อกน้ำให้ติดแน่นเข้ากับแท่นติดตั้งซึ่งมีเส้นทางผ่านที่ต่อขยาย
จากพื้นผิวที่หนึ่งของแท่นติดตั้งไปยังพื้นผิวที่สองของแท่นติดตั้งโดยที่แท่งติดตั้งของก๊อกน้ำจะต่อ
ขยายออกไปโดยผ่านเส้นทางผ่านของแท่นติดตั้งโดยที่แท่งติดตั้งมีพื้นผิวด้านนอกรูปวงกลมซึ่งมี
ลายเกลียวภายนอกอยู่บนส่วนดังกล่าวโดยที่อุปกรณ์ล็อกประกอบรวมด้วย
แป้นเกลียวซึ่งรวมถึง
ช่วงที่เป็นท่อซึ่งมีผนังด้านในซึ่งกำหนดขอบเขตให้กับช่องส่งซึ่งมีส่วนปลายที่หนึ่ง,
ส่วนตรงกลางและส่วนปลายที่สองซึ่งอยู่ตรงข้ามกับส่วนปลายที่หนึ่งโดยที่ส่วนตรงกลางจะเอียงทำมุม
กับส่วนปลายที่หนึ่งและส่วนปลายที่สองโดยที่ช่องส่งถูกกำหนดขนาดเพื่อให้รับแท่งติดตั้งในลักษณะ
ที่ส่วนปลายที่หนึ่งอยู่ใกล้กับแท่นติดตั้งมากกว่าส่วนปลายที่สองโดยที่ส่วนปลายที่หนึ่งจะรวมถึงชุด
ที่หนึ่งของลายเกลียวภายในบางส่วนที่ต่อขยายออกไปไม่เต็มเส้นรอบวงโดยรอบช่องส่งโดยที่
ส่วนปลายที่สองจะรวมถึงชุดที่สองของลายเกลียวภายในบางส่วนที่ต่อขยายออกไปไม่เต็มเส้นรอบวง
โดยรอบช่องส่งโดยที่ชุดที่สองของลายเกลียวภายในบางส่วนมีตำแหน่งตามเส้นรอบวงซึ่งเยื้อง
ระยะออกไปประมาณ 180 องศาจากตำแหน่งตามเส้นรอบวงของชุดที่หนึ่งของลายเกลียวภายใน
บางส่วนและ
แขนคานยื่นที่ต่อขยายจากผนังด้านนอกของช่วงที่เป็นท่อโดยที่แขนคานยื่นซึ่งมีตำแหน่ง
ตามเส้นรอบวงซึ่งเยื้องระยะออกไปประมาณ 180 องศาจากตำแหน่งตามเส้นรอบวงของชุดที่หนึ่ง
ของลายเกลียวภายในบางส่วนโดยที่แขนคานยื่นจะรวมถึงรูลอดที่มีลายเกลียวและ
สกรูที่มีลายเกลียวภายนอกซึ่งถูกจัดโครงแบบเพื่อให้ถูกขันเกลียวผ่านรูลอดที่มีลายเกลียว
ของแขนคานยื่นจนกระทั่งส่วนปลายด้านไกลของสกรูกดติดกับพื้นผิวที่สองของแท่นติดตั้งและ
ทำให้ชุดที่หนึ่งของลายเกลียวภายในบางส่วนและชุดที่สองของลายเกลียวภายในบางส่วนของช่วง
ที่เป็นท่อโยกติดกับลายเกลียวภายนอกของแท่งติดตั้งซึ่งจะเป็นการยึดก๊อกน้ำให้ติดแน่นเข้ากับ
แท่นติดตั้ง
17. อุปกรณ์ล็อกของข้อถือสิทธิที่ 16 โดยที่แท่งติดตั้งสามารถเลื่อนได้อย่างอิสระในช่องส่ง
ของช่วงที่เป็นท่อก่อนที่ชุดที่หนึ่งของลายเกลียวภายในบางส่วนและชุดที่สองของลายเกลียวภายใน
บางส่วนของช่วงที่เป็นท่อถูกโยกติดกับลายเกลียวภายนอกของแท่งติดตั้ง
18. อุปกรณ์ล็อกของข้อถือสิทธิที่ 16 โดยที่ส่วนตรงกลางของช่วงที่เป็นท่อจะถูกคลายเกลียว
และเอียงทำมุมกับรูลอดที่มีลายเกลียวของแขนคานยื่น
19. อุปกรณ์ล็อกของข้อถือสิทธิที่ 16 โดยที่ผนังด้านในของส่วนตรงกลางของช่วงที่เป็น
ท่อไม่ได้อยู่ตรงแนวกับชุดที่หนึ่งของลายเกลียวภายในบางส่วนและชุดที่สองของลายเกลียวภายใน
บางส่วนของช่วงที่เป็นท่อ
20. อุปกรณ์ล็อกของข้อถือสิทธิที่ 16 โดยที่สกรูที่มีลายเกลียวภายนอกถูกจัดโครงแบบเพื่อ
ให้ถูกขันเกลียวผ่านรูลอดที่มีลายเกลียวของแขนคานยื่นจนกระทั่งส่วนปลายด้านไกลของสกรูกดติด
กับพื้นผิวที่สองของแท่นติดตั้งและให้แรงบิดมากระทำบนแป็นเกลียวซึ่งเป็นการทำให้ชุดที่หนึ่ง
ของลายเกลียวภายในบางส่วนและชุดที่สองของลายเกลียวภายในบางส่วนของช่วงที่เป็นท่อโยกติด
กับลายเกลียวภายนอกของแท่งติดตั้งและยึดก๊อกน้ำให้ติดแน่นเข้ากับแท่นติดตั้ง