Application Type
Patents
Application SubType
National Patent
(10) Registration Number and Date
Status
ACTIVE ( Document published)
(180) Expiration Date
(20) Filing Number and Date
TH 2501005881 2025.09.04
(40) Publication Number (Gazette Number) and Date
(6/2569)
2026.02.09
(86) PCT Filing Number and Date
(87) PCT Publication Number and Date
(85) National Entry Date
(30) Priority Details
JP
JP2024-155513
2024.09.10
(51) IPC Classes
(71/73) Applicant
(TH) มิทซูบะ คอร์ปอเรชั่น : 2681 ฮิโรซาวะโช 1-โชเมะ, คิริว-ชิ, กุนมะ 3768555 ญี่ปุ่น
(72) Inventor
(TH) ดอนทอง พิไลพร : ซี/โอ มิทซูบะ คอร์ปอเรชั่น, 2681, ฮิโรซาวะโช 1-โชเมะ, คิริว-ชิ, กุนมะ 3768555 ประเทศ ญี่ปุ่น
ทาเกะโกชิ, ชิน : ซี/โอ มิทซูบะ คอร์ปอเรชั่น, 2681, ฮิโรซาวะโช 1-โชเมะ, คิริว-ชิ, กุนมะ 3768555 ญี่ปุ่น
พะพิมพ์ บารมี
อินาบะ, เคอิจิ
ไอฮาระ, เออิจิ
(74) Representative
(TH) นาย เดชอุดม ไกรฤทธิ์ : บริษัท เดชอุดม แอนด์ แอสโซซิเอทส์ จำกัด เลขที่ 942/69 อาคารชาญอิสสระทาวเวอร์ ชั้น 2 พระราม 4 ตำบลสุริยวงศ์ อำเภอบางรัก จังหวัดกรุงเทพมหานคร
นาย วรวุฒิ ไกรฤทธิ์
(54) Title
(TH)

ถังพักน้ำยาฉีดล้างกระจก

(57) Abstract
(TH)

OCR 07AP

ถังพักน้ำยาฉีดล้างกระจกที่ประกอบรวมด้วยฝาที่สามารถป้องกันการบุกรุกของแมลงเป็นต้น และ ป้องกันการลดลงของสมรรถนะ กล่าวคือ ถังพักน้ำยาฉีดล้างกระจก 30 ประกอบรวมด้วย ตัวถัง 1 ที่น้ำยา ล้างถูกเก็บไว้, รูฉีดเข้าที่จัดให้มีบนตัวถัง 1 เพื่อฉีดน้ำยาล้างเข้าไปในตัวถัง 1, รูระบายอากาศ 14 ที่จัดให้มีที่ ด้านบนในทิศทางแนวดิ่งมากกว่ารูฉีดเข้าในตัวถัง 1, และฝา 11 ที่ครอบรูระบายอากาศ 14 และยังคง สามารถให้อากาศเข้าออกผ่านรูระบายอากาศ 14 ได้

(58) Citations
License Details
(98) Annuity Details
YearValidity StartValidity EndPayment
Document Type Date Action
abstract 2026-02-09T00:00:00Z
claims 2026-02-09T00:00:00Z
description 2026-02-09T00:00:00Z
gazette 2026-02-09T00:00:00Z
Event NameDateLink
Application filed2025-09-04
Document published2026-02-09

1

OCR 07AP

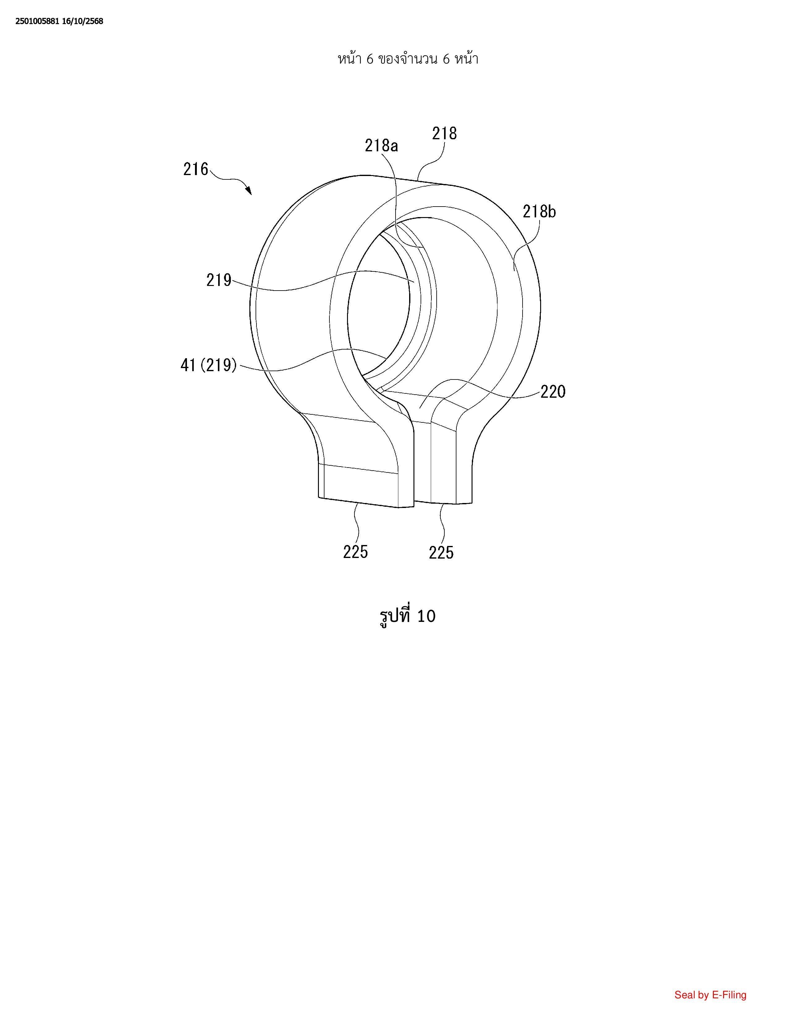
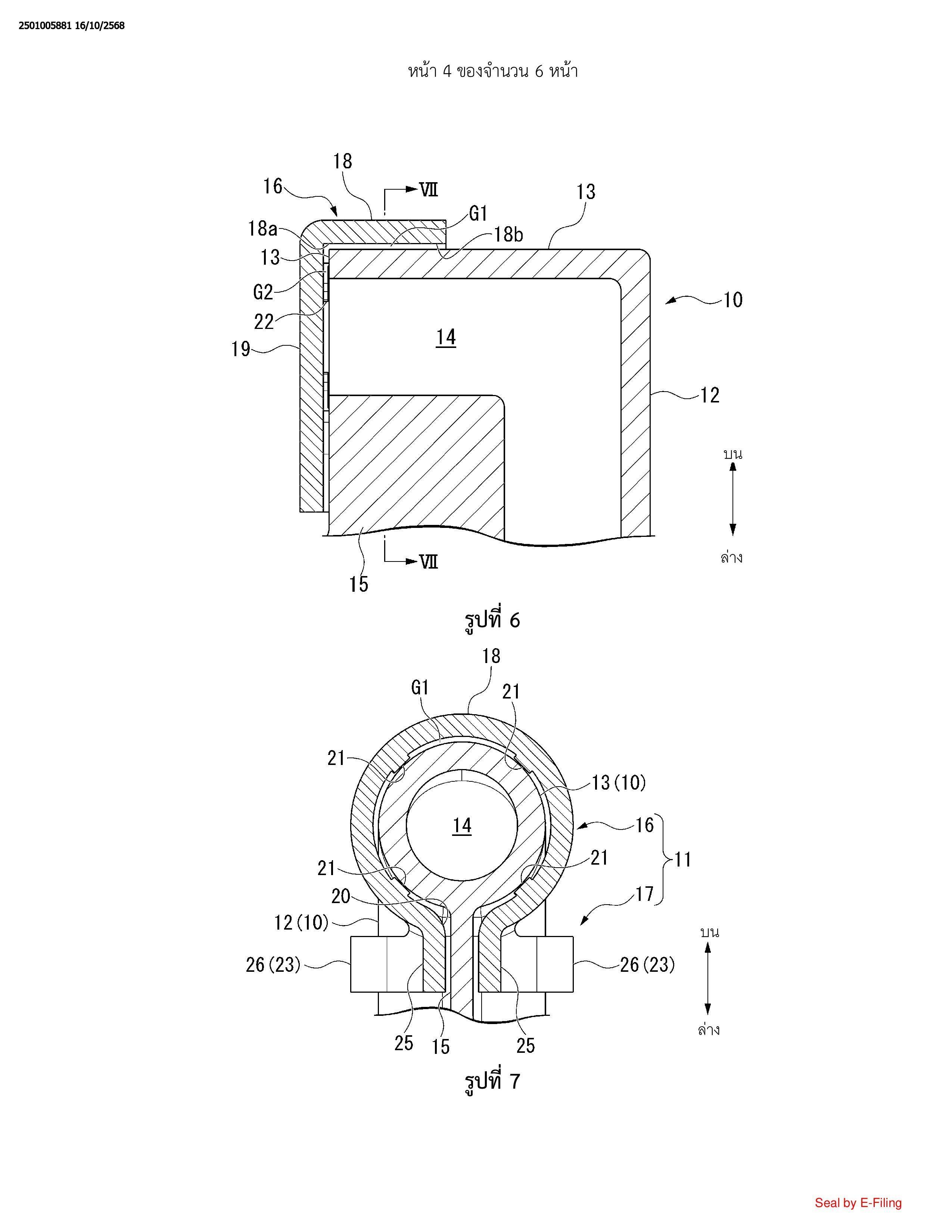
1. ถังพักน้ำยาฉีดล้างกระจกซึ่งประกอบรวมด้วยตัวถังที่ใช้เก็บน้ำยาล้าง, รูฉีดเข้าที่จัดให้มีในตัวถังเพี่อ ฉีดเข้าน้ำยาล้างดังกล่าวเข้าสู่ตัวถังดังกล่าว, รูระบายอากาศที่จัดให้มีในตัวถังดังกล่าวที่ด้านบนในทิศทางตั้ง ฉากมากกว่ารูฉีดเข้าดังกล่าว, และฝาที่ครอบรูระบายอากาศดังกล่าวเพี่อให้อากาศสามารถเข้าออกด้วยรู ระบายอากาศดังกล่าว 2. ถังพักน้ำยาฉีดล้างกระจกที่ระบุในข้อถือสิทธิ 1, ที่ซึ่งรูระบายอากาศดังกล่าวถูกขึ้นรูปโดยกระบอก ระบายอากาศทรงกระบอกที่ยื่นออกมาจากตัวถังดังกล่าว, และฝาดังกล่าวถูกขึ้นรูปในรูปทรงกระบอกมีก้นที่ ครอบปลายช่องเปิดกระบอกระบายอากาศด้านตรงข้ามกับตัวถังดังกล่าวของกระนอกระบายอากาสดังกล่าว. ฝาดังกล่าวมีกระบอกฝาที่ประกบกับพื้นผิวรอบวงนอกของกระบอกระบายอากาศดังกล่าว, ส่วนกันที่ครอบ ปลายช่องเปิดของกระบอกฝาของกระบอกฝาดังกล่าว, ส่วนแตะสัมผัสจำนวนหนึ่งที่แตะสัมผัสกับกระบอก ระบายอากาศดังกล่าวที่ได้รับการขึ้นรูปยื่นออกมาที่พื้นผิวรอบวงในของกระบอกฝาดังกล่าวและพื้นผิวด้านใน ของส่วนก้นดังกล่าว, และส่วนติดตั้งที่เกี่ยวติดกับกระบอกระบายอากาศดังกล่าว, ซึ่งมีการขึ้นรูปช่องว่าง ระหว่างพื้นผิวรอบวงนอกดังกล่าวของกระบอกระบายอากาศดังกล่าวกับพื้นผิวรอบวงในดังกล่าวของ กระบอกฝาดังกล่าว, และระหว่างปลายช่องเปิดกระบอกฝาดังกล่าวกับพื้นผิวด้านในดังกล่าวของส่วนก้น ดังกล่าวตามลำดับ 3. ถังพักน้ำยาฉีดล้างกระจกที่ระบุในข้อถือสิทธิ 2, ที่ซึ่งส่วนติดตั้งดังกล่าว ถูกจัดให้มีแบบบูรณาการกับ กระบอกฝาดังกล่าว 4. ถังพักน้ำยาฉีดล้างกระจกที่ระบุใบข้อถือสิทธิ 3, ที่ซึ่งกระบอกระบายอากาศดังกล่าวมีส่วนกระบอกที่ หนึ่งที่ยื่นออกมาจากตัวถังดังกล่าว, และส่วนกระบอกที่สองที่ยื่นออกมาในทิศทางที่ตัดกับทิศทางการยื่นของ ส่วนกระบอกที่หนึ่งจากส่วนปลายด้านตรงข้ามกับตัวถังดังกล่าวของส่วนกระบอกที่หนึ่งดังกล่าว, ซึ่งส่วน กระบอกที่สองดังกล่าวมีปลายช่องเปิดกระบอกระบายอากาศ, และส่วนติดตั้งดังกล่าวถูกเกี่ยวติดกับส่วน กระบอกที่หนึ่งดังกล่าวตามการคลื่อนที่ในทิศทางการสอดเข้ากระบอกฝาดังกล่าวไปยังส่วนกระบอกที่สอง ดังกล่าว 5. ถังพักน้ำยาฉีดล้างกระจกที่ระบุในข้อถือสิทธิ 4, ที่ซึ่งส่วนติดตั้งดังกล่าวยึดออกจากพื้นผิวรอบวง บอกดังกล่าวของกระบอกฝาดังกล่าวไปยังส่วนกระบอกที่หนึ่งดังกล่าวโดยมีเขี้ยวเกี่ยวติดคู่หนึ่งซึ่งสามารถ ยืดหยุ่นในทิศทางที่เข้าใกล้และแยกออกจากกันได้, และเขี้ยวเกี่ยวติดคู่หนึ่งดังกลาวก็หนีบอยู่ที่ส่วนกระบอก ที่หนึ่งดังกล่าว 6. ถังพักน้ำยาฉีดล้างกระจกที่ระบุในข้อถือสิทธิ 1, ที่ซึ่งรูระบายอากาศดังกล่าวจะถูกขึ้นรูปโดย กระบอกระบายอากาศทรงกระบอกที่ยื่นออกมาจากตัวถังดังกล่าว, และฝาดังกล่าวจะถูกขึ้นรูปให้มีลักษณะ รูปทรงกระบอกที่ก้นครอบปลายช่องเปิดกระบอกระบายอากาศของด้านตรงข้ามกับตัวถังดังกล่าวของ กระบอกระบายอากาศดังกล่าว, ฝาดังกล่าวมีกระบอกฝาที่ประกบกับพื้นผิวรอบวงนอกของกระบอกระบาย อากาศดังกล่าว, และส่วนกันที่ครอบปลายของเปิดกระบอกฝาของกระบอกฝาดังกล่าว, โดยที่ส่วนก้น ดังกล่าวจะมีการขึ้นรูปรูเล็กๆ จำนวนหนึ่ง 7. ถังพักน้ำยาฉีดล้างกระจกที่ระบุในข้อถือสิทธิ 6, ที่ซึ่งส่วนก้นดังกล่าวประกอบรวมด้วยส่วนช่องเปิดที่ ขึ้นรูปส่วนใหญ่ของส่วนก้นดังกล่าว, และฟิลเตอร์ลักษณะรูพรุนที่อุดปิดส่วนช่องเปิดดังกล่าว 8. ถังพักน้ำยาฉีดล้างกระจกที่ระบุในข้อถือสิทธิ 6 หรือข้อถือสิทธิ 7, ที่ซึ่งฝาดังกล่าวประกอบรวมด้วย ส่วนติดตั้งที่ถูกเกี่ยวติดกับกระบอกระบายอากาศดังกล่าว,โดยกระบอกระบายอากาศดังกล่าวมีส่วนกระบอก ที่หนึ่งที่ยื่นออกมาจากตัวถังดังกล่าว, และส่วนกระบอกที่สองที่ยื่นออกมาในทิศทางที่ตัดกับทิศทางการยื่น ของส่วนกระบอกที่หนึ่งจากส่วนปลายด้านตรงข้ามกับตัวถังดังกล่าวของส่วนกระบอกที่หนึ่ง, ซึ่งส่วนกระบอก ที่สองดังกล่าวมีปลายช่องเปิดกระบอกระบายอากาศ, และส่วนติดตั้งดังกล่าวถูกเกี่ยวติดกับส่วนกระบอกที่ หนึ่งดังกล่าวตามการเคลื่อนที่ในทิศทางการสอดเข้ากระบอกฝาดังกล่าวไปยังส่วนกระบอกที่สองดังกล่าว