Application Type
Patents
Application SubType
National Patent
(10) Registration Number and Date
Status
ACTIVE ( Document published)
(180) Expiration Date
(20) Filing Number and Date
TH 2501007687 2025.11.11
(40) Publication Number (Gazette Number) and Date
(9/2569)
2026.03.02
(86) PCT Filing Number and Date
(87) PCT Publication Number and Date
(85) National Entry Date
(30) Priority Details
JP
JP2024-199726
2024.11.15
(51) IPC Classes
(71/73) Applicant
(TH) เคนเดนชา โก., แอลทีดี. : 1372-15 นากาฮามา-โช, อิซูโม-ชิ, ชิมาเนะ 693-0043
(72) Inventor
(TH) ริวอิจิ อิชิโทบิ : เคนเดนชา โก., แอลทีดี., 1372-15 นากาฮามา-โช, อิซูโม-ชิ, ชิมาเนะ 693-0043
(74) Representative
(TH) นาง สายทิพย์ ฤดีอเนกสิน : แห่ง บริษัท สำนักกฎหมาย ดำเนิน สมเกียรติ และบุญมา จำกัด อยู่ที่ 719 สี่พระยา ตำบลบางรัก อำเภอบางรัก จังหวัดกรุงเทพมหานคร
นางสาว จุฑาทิพย์ เวชสุริยะกุล : แห่ง บริษัท สำนักงานกฎหมาย ดำเนิน สมเกียรติ และบุญมา จำกัด อยู่ที่ 719 สี่พระยา ตำบลบางรัก อำเภอบางรัก จังหวัดกรุงเทพมหานคร
นางสาว ปรับโยชน์ ศรีกิจจาภรณ์
นาย จักรพรรดิ์ มงคลสิทธิ์
(54) Title
(TH)

เครื่องการแยก

(57) Abstract
(TH)

OCR 07AP

เพื่อที่จะจัดให้มีเครื่องการแยกสำหรับการแยกสารที่จะได้รับการแยก ซึ่งเป็นสารของเหลว

ที่มีของเหลวมากกว่า ออกจากวัตถุที่เป็นของผสมของของแข็ง-ของเหลวและมีสภาวะเป็นของไหล

ที่ซึ่งประสิทธิภาพการแยกจะได้รับการปรับปรุงให้ดีขึ้น โดยการปรับภาระการลำเลียงวัตถุ ในขณะที่

การเพิ่มขึ้นของต้นทุนการผลิตจะได้รับการยับยั้งไม่ให้เกิดขึ้น

เครื่องการแยกจะประกอบรวมด้วยชุดการลำเลียงที่ซึ่งจำนวนหนึ่งของแผ่นเพื่อการหมุนที่มี

ความหนาในทิศทางด้านข้างนั้นจะได้รับการจัดไว้เชิงระนาบในลักษณะขนานกันทั้งในทิศทาง

ทางด้านข้างและตามแนวยาวในรูปเชิงระนาบ; ลำตัวโครงที่ซึ่งชุดการลำเลียงจะได้รับการจัดไว้

ภายในส่วนนี้และทิศทางความยาวทั้งหมดของลำคัวโครงจะยื่นตามแนวทิศทางตามแนวยาว; และ

ชุดการขับสำหรับการขับเชิงการหมุนแผ่นเพื่อการหมุนเพื่อที่จะลำเลียงวัตถุที่ได้รับการนำไปทางด้าน

พื้นผิวด้านบนของชุดการลำเลียงไปข้างหน้า ที่ซึ่งช่องว่างซึ่งยอมให้มีการรั่วของสารที่จะได้รับการ

แยกลงในช่องนี้จะได้รับการก่อรูปขึ้นอย่างน้อยที่สุดระหว่างแผ่นเพื่อการหมุนที่ได้รับการจัดไว้

ตามแนวยาวหรือไม่ก็แผ่นเพื่อการหมุนที่ได้รับการจัดไว้ทางด้านข้าง และชุดการลำเลียงสามารถ

จะได้รับการรองรับไว้ในสภาพเอียงเมื่อเทียบกับลำตัวโครงดังนั้นทำให้แผ่นเพื่อการหมุนได้รับการ

จัดเรียงแนวในทิศทางที่้เอียงในรูปด้านข้าง

(58) Citations
License Details
(98) Annuity Details
YearValidity StartValidity EndPayment
Document Type Date Action
abstract 2026-03-02T00:00:00Z
gazette 2026-03-02T00:00:00Z
description 2026-03-02T00:00:00Z
claims 2026-03-02T00:00:00Z
Event NameDateLink
Application filed2025-11-11
Document published2026-03-02

1

OCR 07AP

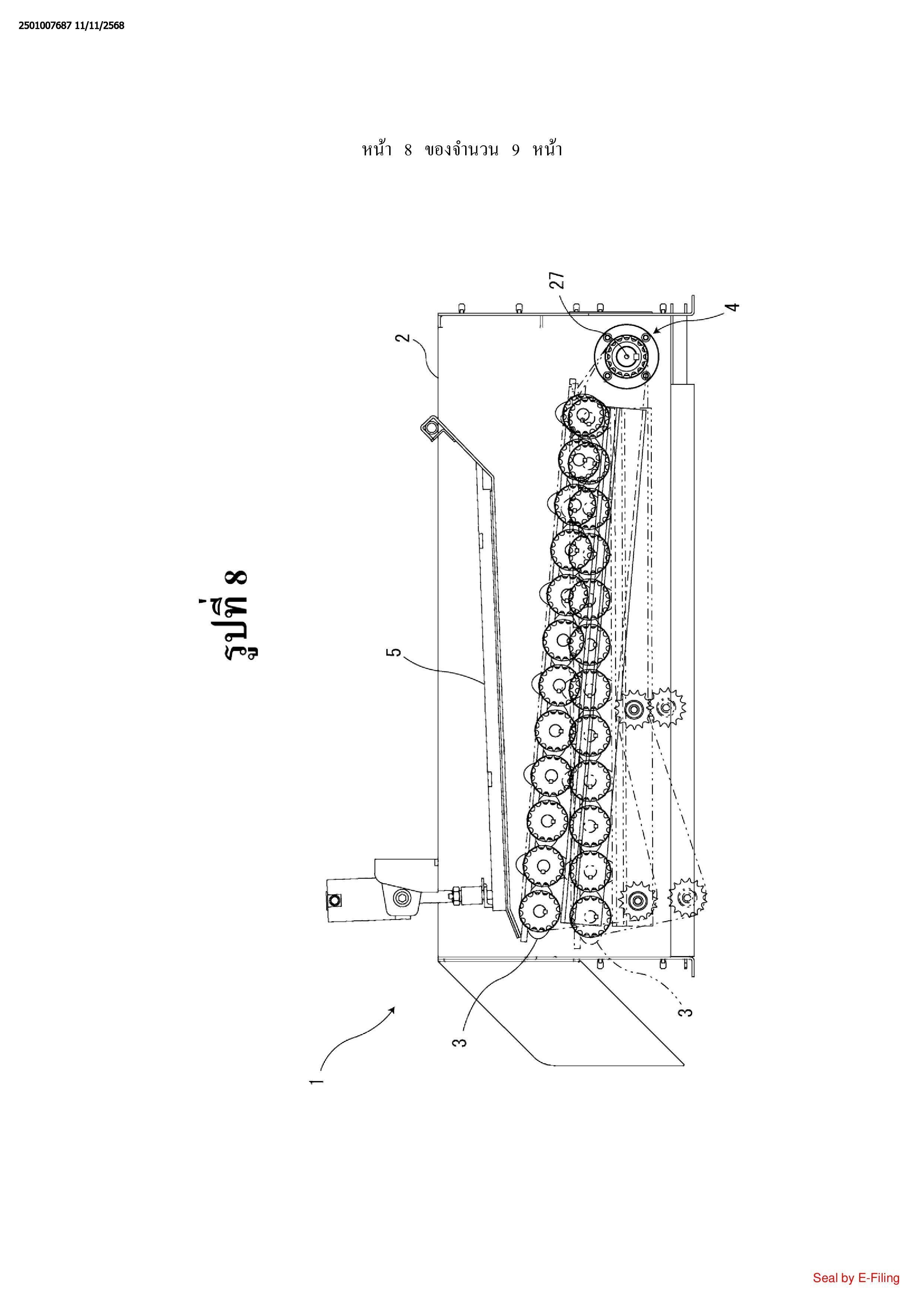
1. เครื่องการแยกสำหรับการแยกสารที่จะได้รับการแยก ซึ่งเป็นสารของเหลวที่มีของเหลว

มากกว่า ออกจากวัตถุที่เป็นของผสมของของแข็ง ของเหลวและมีสภาวะเป็นของไหล เครื่อง

การแยกที่ประกอบรวมด้วย:

ชุดการลำเลียงที่ซึ่งจำนวนหนึ่งของแผ่นเพื่อการหมุนที่มีความหนาในทิศทางทางด้านข้าง

นั้นจะได้รับการจัดไว้เชิงระนาบในลักษณะขนานกันทั้งในทิศทางทางด้านข้างและตามแนวยาว

ในรูปเชิงระนาบ;

ลำตัวโครงที่ซึ่งชุดการลำเลียงดังกล่าวจะได้รับการจัดไว้ภายในส่วนนี้และทิศทางความยาว

ทั้งหมดของลำตัวโครงจะได้รับการจัดวางทิศทางไว้ในทิศทางตามแนวยาวหรือทิศทางที่ขนานกับ

ทิศทางตามแนวยาว ; และ

ชุดการขับสำหรับการขับเชิงการหมุนแผ่นเพื่อการหมุนเพื่อที่จะลำเลียงวัตถุที่ได้รับการนำ

ไปทางด้านพื้นผิวด้านบนของชุดการลำเลียงดังกล่าวไปข้างหน้า;

ที่ซึ่งช่องว่างซึ่งยอมให้มีการรั่วของสารที่จะได้รับการแยกลงในช่องนี้จะได้รับการก่อรูปขึ้น

อย่างน้อยที่สุดระหว่างแผ่นเพื่อการหมุนที่ได้รับการจัดไว้ตามแนวยาวหรือไม่ก็แผ่นเพื่อการหมุน

ที่ได้รับการจัดไว้ทางด้านข้าง และชุดการลำเลียงดังกล่าวจะได้รับการรองรับอย่างสามารถปรับได้

ให้มีสภาพเอียงเมื่อเทียบกับลำตัวโครงดังกล่าวหรืออย่างตรึงแน่นในสภาพเอียงเมื่อเทียบกับลำตัว

โครงดังกล่าวดังนั้นทำให้แผ่นเพื่อการหมุนจะได้รับการจัดเรียงแนวในทิศทางที่เอียงในรูปด้านข้าง

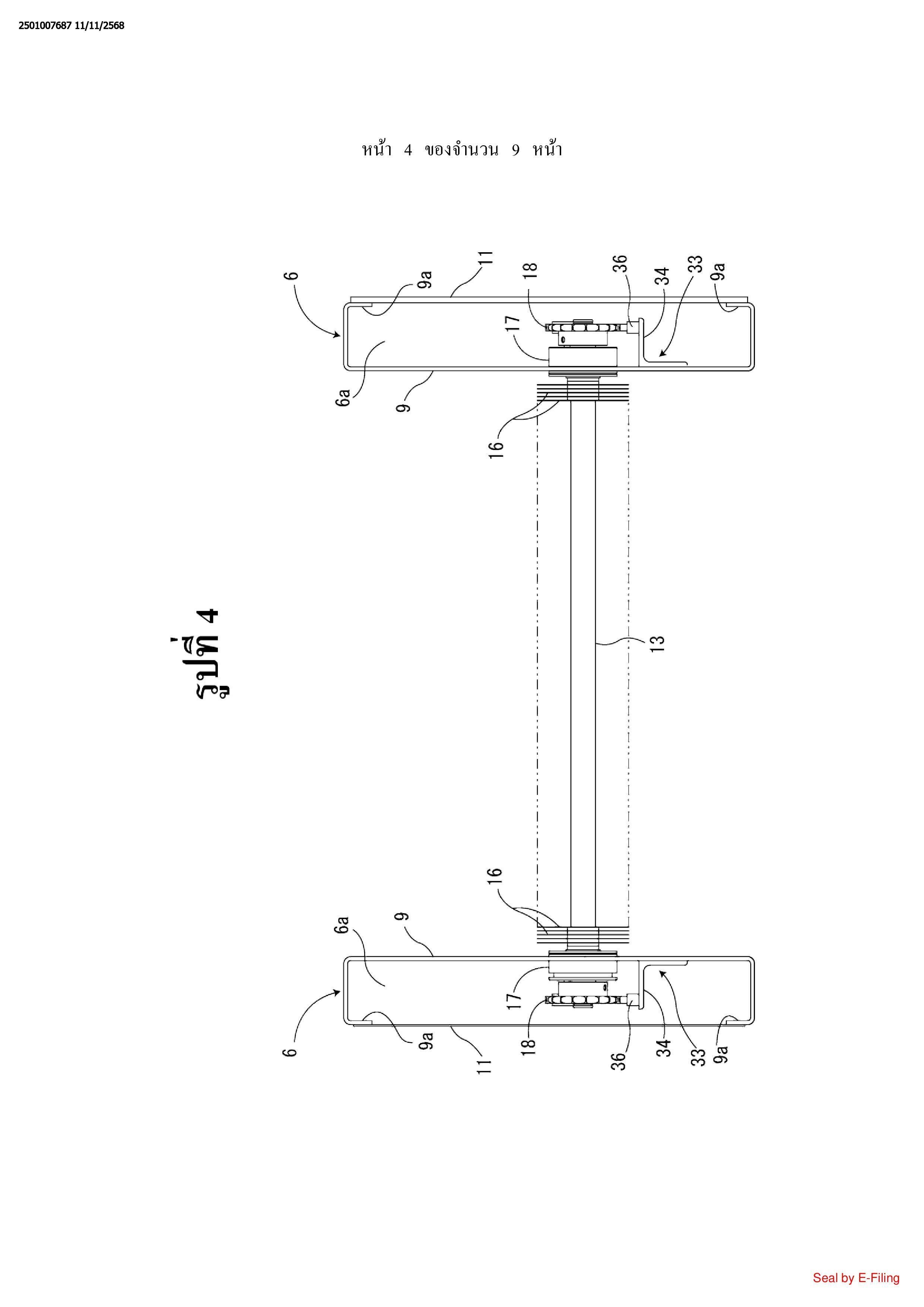
2. เครื่องการแยกตามข้อถือสิทธิที่ 1 ที่ซึ่งชุดการลำเลียงดังกล่าวจะมีจำนวนหนึ่งของเพลา

เพื่อการหมุนที่ได้รับการรองรับอย่างสามารถหมุนได้และได้รับการจัดไว้ตามแนวยาวในลักษณะ

ขนานกันในรูปเชิงระนาบ และเพลาเพื่อการหมุนแต่ละชิ้นจะได้รับการติดตั้งอย่างตรึงแน่นกับ

แผ่นเพื่อการหมุนที่ได้รับการจัดไว้ทางด้านข้าง

3. เครื่องการแยกตามข้อถือสิทธิที่ 2 ที่ซึ่งชุดการลำเลียงดังกล่าวจะมีโครงชุด และแผ่นเพื่อ

การหมุนดังกล่าวจะได้รับการรองรับอย่างสามารถหมุนได้ทางด้านโครงชุด ในขณะที่โครงชุด

ดังกล่าวจะได้รับการรองรับไว้ทางด้านลำตัวโครงอย่างสามารถปรับมุมเอียงได้

4. เครื่องการแยกตามข้อถือสิทธิที่2 ที่ซึ่งแผ่นเพื่อการหมุนดังกล่าวจะได้รับการจัดวางและ

ได้รับการรองรับอย่างสามารถหมุนได้ระหว่างคู่หนึ่งของผนังด้านข้างด้านซ้ายและด้านขวา

ที่สร้างโครงแบบเป็นลำตัวโครงดังกล่าว

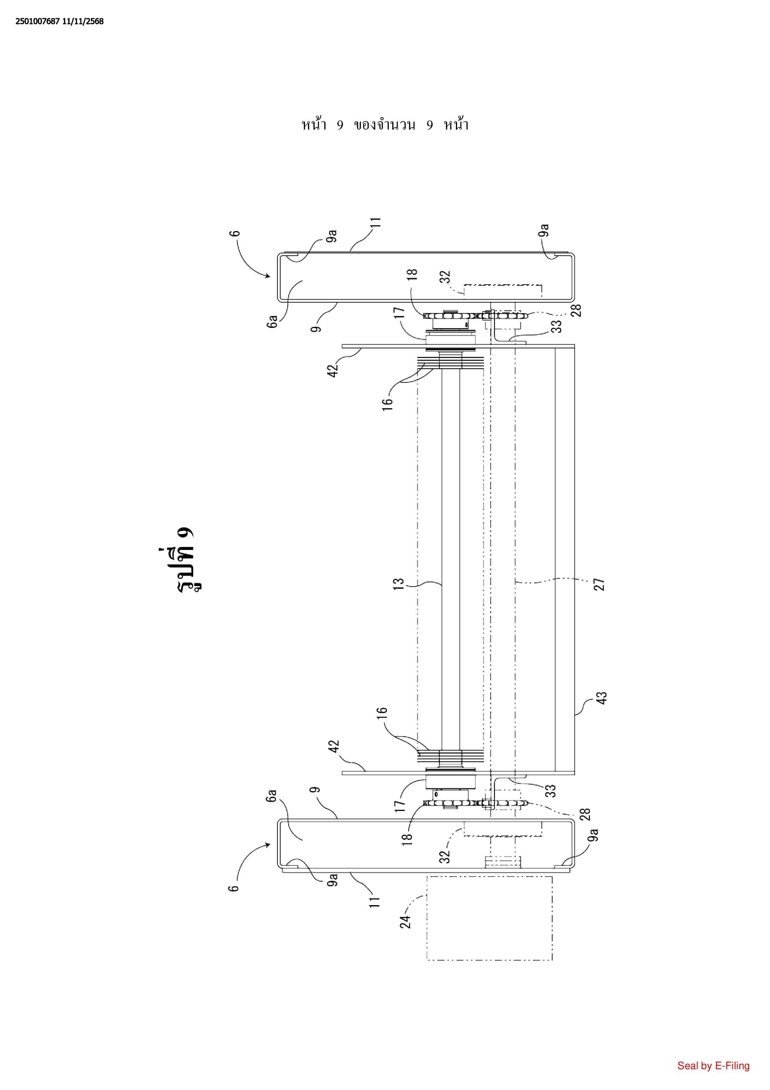
5. เครื่องการแยกตามข้อถือสิทธิที่ 2 ถึง 4ข้อใดข้อหนึ่ง ที่ซึ่งชุดการขับดังกล่าวจะมี

ตัวกระตุ้นการทำงานและกลไกการส่งกำลังสำหรับการส่งกำลังของตัวกระตุ้นการทำงานไปยังแผ่น

เพื่อการหมุนดังกล่าว และกลไกการส่งกำลังดังกล่าวจะได้รับการสร้างขึ้นมาในโครงแบบเพื่อส่ง

กำลังของตัวกระตุ้นการทำงานดังกล่าวจากทางด้านปลายทั้งคู่ของเพลาเพื่อการหมุนดังกล่าว

6. เครื่องการแยกตามข้อถือสิทธิที่ 2 ที่ซึ่งเพลาเพื่อการหมุนดังกล่าวหรือโครงชุดดังกล่าว

อย่างน้อยที่สุดชิ้นหนึ่งจะได้รับการทำขึ้นด้วยวัสดุเหล็กกล้าไร้สนิมแบบดูเพล็กซ์

7. เครื่องการแยกตามข้อถือสิทธิที่ 1 ที่ซึ่งลำตัวโครงดังกล่าวจะได้รับการทำขึ้นด้วยวัสดุ

เหล็กกล้าไร้สนิมแบบดูเพล็กซ์

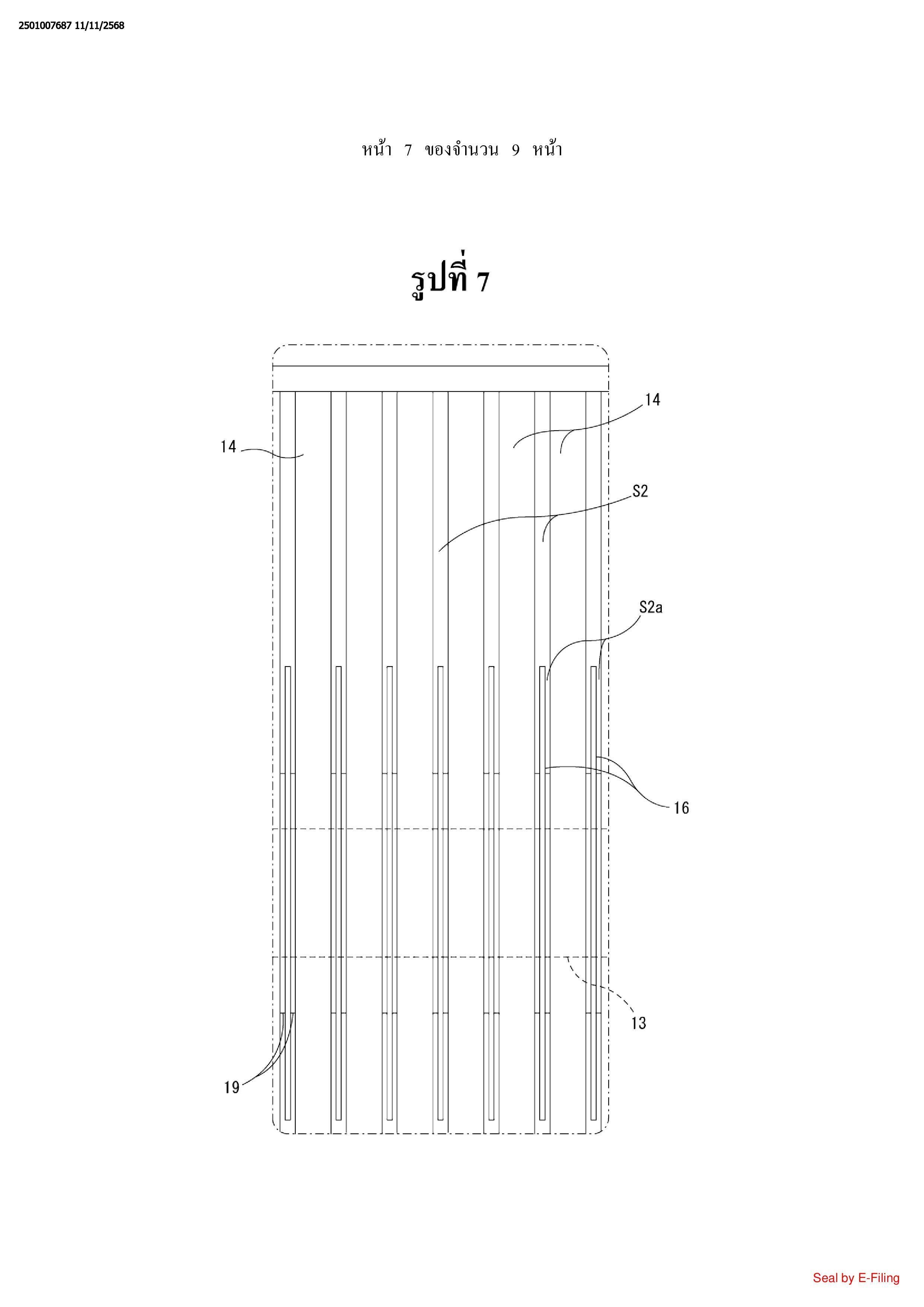
8. เครื่องการแยกตามข้อถือสิทธิที่ 1 ที่ซึ่งชุดการลำเลียงดังกล่าวจะมีจำนวนหนึ่งของ

ชิ้นประกอบนำที่ได้รับการก่อรูปขึ้นให้มีรูปร่างเป็นก้านที่อื่นตามแนวยาวในรูปเชิงระนาบและ

ได้รับการรองรับไว้ในสภาพเอียงเมื่อเทียบกับลำตัวโครงดังกล่าวเพื่อที่จะยื่นตามแนวทิศทางของ

การจัดของแผ่นเพื่อการหมุนดังกล่าวในรูปด้านข้าง และชิ้นประกอบนำจะได้รับการจัดไว้

ทางด้านข้างในลักษณะที่ขนานกัน ที่ซึ่งช่องว่างที่คล้ายช่องแคบยาวจะได้รับการก่อรูปขึ้นระหว่าง

ชิ้นประกอบนำที่อยู่ใกล้กันและกันทางด้านข้าง และแผ่นเพื่อการหมุนดังกล่าวจะได้รับการจัดไว้

ในช่องว่างแต่ละช่องตามแนวยาวในลักษณะขนานกันบนเส้นตรงเส้นหนึ่งในรูปเชิงระนาบ