Application Type
Patents
Application SubType
National Patent
(10) Registration Number and Date
Status
ACTIVE ( Document published)
(180) Expiration Date
(20) Filing Number and Date
TH 2501003843 2025.06.12
(40) Publication Number and Date
${pbin}
(86) PCT Filing Number and Date
(87) PCT Publication Number and Date
(85) National Entry Date
(30) Priority Details
DE
DE102024205847.5
2024.06.24
(51) IPC Classes
(74) Representative
(TH) นาง ดารานีย์ วัจนะวุฒิวงศ์ : บริษัท ติลลิกีแอนด์กิบบินส์ อินเตอร์เนชั่นแนล จำกัด เลขที่ 1011 อาคารศุภาลัย แกรนด์ ทาวเวอร์ ชั้น 20-26 พระราม 3 ตำบลช่องนนทรี อำเภอยานนาวา จังหวัดกรุงเทพมหานคร
นางสาว สุคนธ์ทิพย์ จิตมงคลทอง : บริษัท ติลลิกีแอนด์กิบบินส์ อินเตอร์เนชั่นแนล จำกัด เลขที่ 1011 อาคารศุภาลัย แกรนด์ ทาวเวอร์ ชั้นที่ 20-26 พระราม 3 ตำบลช่องนนทรี อำเภอยานนาวา จังหวัดกรุงเทพมหานคร
นาย ณัฐพล อร่ามเมือง : บริษัท ติลลิกีแอนด์กิบบินส์ อินเตอร์เนชั่นแนล จำกัด 1011 อาคารศุภาลัยแกรนด์ทาวเวอร์ ชั้น 20-26 พระราม 3 ตำบลช่องนนทรี อำเภอยานนาวา จังหวัดกรุงเทพมหานคร
นาย สมบูรณ์ เอื้อธีรศรัณย์ : บริษัท ติลลิกีแอนด์กิบบินส์ อินเตอร์เนชั่นแนล จำกัด เลขที่ 1011 อาคารศุภาลัย แกรนด์ ทาวเวอร์ ชั้น 20 - 26 พระราม 3 ตำบลช่องนนทรี อำเภอยานนาวา จังหวัดกรุงเทพมหานคร
นาย สืบสิริ ทวีผล
(54) Title
(TH)

แมกกาซีนลูกบอลสำหรับอุปกรณ์สำหรับการขัดผิว และ/หรือ การเจียรลูกบอล

(57) Abstract
(TH)

OCR 06WT

การเปิดเผย คือ แมกกาซีนลูกบอล (1) สำหรับอุปกรณ์ (2) สำหรับการขัดผิว และ/หรือ การ

เจียรลูกบอล (4), แมกกาซีนลูกบอลที่มีส่วนนำออกลูกบอล (12) ซึ่งถูกออกแบบให้เชื่อมต่อแมกกาซีน

ลูกบอล (1) กับอุปกรณ์ (2), ที่มีอย่างน้อยหนึ่งส่วนจัดเก็บ (14) และมีส่วนป้อนลูกบอล (16) ซึ่งถูก

ออกแบบให้นำทางลูกบอล (4) จากแมกกาซีนลูกบอล (1) กลับไปยังอุปกรณ์ (2), ที่ซึ่งส่วนจัดเก็บ

(14) อย่างน้อยบางส่วนมีความลาดเอียง

(58) Citations
License Details
(98) Annuity Details
YearValidity StartValidity EndPayment
Document Type Date Action
claims 2025-10-13T00:00:00Z
description 2025-10-13T00:00:00Z
gazette 2025-10-13T00:00:00Z
abstract 2025-10-13T00:00:00Z
Event NameDateLink
Application filed2025-06-12
Document published2025-10-13

1

OCR 06WT

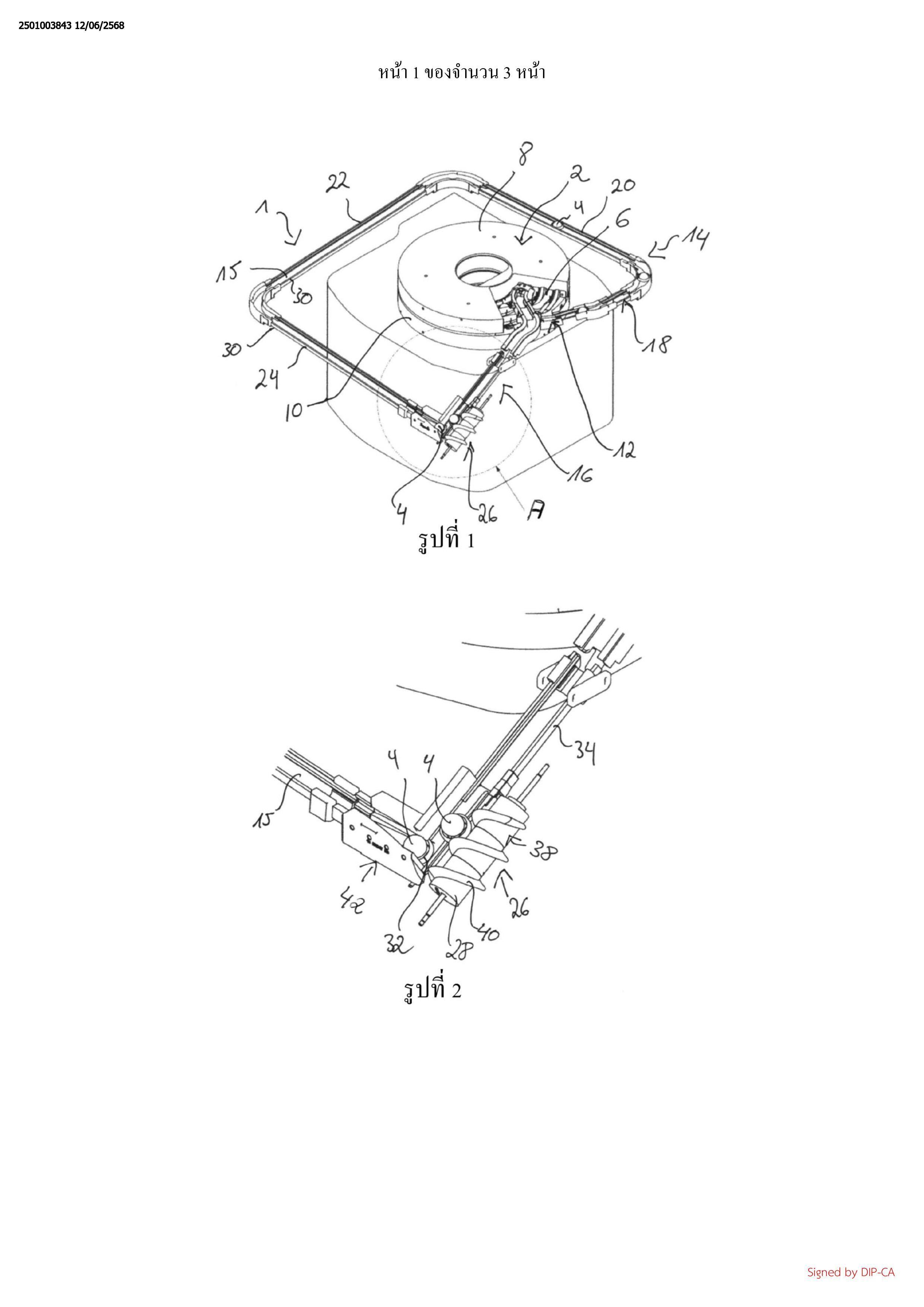
1. แมกกาซีนลูกบอล (1) สำหรับอุปกรณ์ (2) สำหรับการขัดผิว และ/หรือ การเจียรลูกบอล

(4), แมกกาซีนลูกบอลที่มีส่วนนำออกลูกบอล (12) ซึ่งถูกออกแบบให้เชื่อมต่อแมกกาซีนลูกบอล (1)

กับอุปกรณ์ (2), ที่มีอย่างน้อยหนึ่งส่วนจัดเก็บ (14) และมีส่วนป้อนลูกบอล (16) ซึ่งถูกออกแบบให้นำ

ทางลูกบอล (4) จากแมกกาซีนลูกบอล (1) กลับไปยังอุปกรณ์ (2), ที่มีลักษณะเฉพาะคือส่วนจัดเก็บ

(14) อย่างน้อยบางส่วนมีความลาดเอียง

2. แมกกาซีนลูกบอล (1) ตามข้อถือสิทธิที่ 1, ที่ซึ่งอย่างน้อยหนึ่งหน่วยยกขึ้น (26) ถูกจัดไว้

ระหว่างส่วนจัดเก็บ (14) และส่วนป้อนลูกบอล (16) และถูกออกแบบให้ยกขึ้นอย่างน้อยหนึ่งลูกบอล

(4) และนำทางลูกบอลไปยังส่วนป้อนลูกบอล (16)

3. แมกกาซีนลูกบอล (1) ตามข้อถือสิทธิที่ 1 หรือ 2, ที่ซึ่งส่วนนำออกลูกบอล (12) มีความ

ลาดเอียงซึ่งนำลูกบอล (4) ไปยังระดับความสูงซึ่งอยู่เหนือระดับความสูงของอุปกรณ์ (2)

4. แมกกาซีนลูกบอล (1) ตามข้อใดข้อหนึ่งของข้อถือสิทธิก่อนหน้านี้, ที่ซึ่งส่วนนำออกลูก

บอล (12), ส่วนจัดเก็บ (14) และ/หรือ ส่วนป้อนลูกบอล (16) มีอย่างน้อยหนึ่งส่วนประกอบนำทางลูก

บอล (30)

5. แมกกาซีนลูกบอล (1) ตามข้อใดข้อหนึ่งของข้อถือสิทธิก่อนหน้านี้, ที่ซึ่งส่วนนำออกลูก

บอล (12), ส่วนจัดเก็บ (14) และ/หรือ ส่วนป้อนลูกบอล (16) มือย่างน้อยหนึ่งส่วนประกอบนำทาง

(34) สำหรับตัวเว้นระยะ (32), ซึ่งถูกออกเเบบให้เว้นระยะสองลูกบอล (4) แยกห่างจากกัน

6. แมกกาซีนลูกบอล (1) ตามข้อใดข้อหนึ่งของข้อถือสิทธิก่อนหน้านี้, ที่ซึ่งอย่างน้อยหนึ่ง

ส่วนประกอบยึดแน่นถูกจัดไว้, ซึ่งยึดแน่นลูกบอล (4) ป้องกันการหลุดออก

7. แมกกาซีนลูกบอล (1) ตามข้อใดข้อหนึ่งของข้อถือสิทธิก่อนหน้านี้, ที่ซึ่งอย่างน้อยหนึ่ง

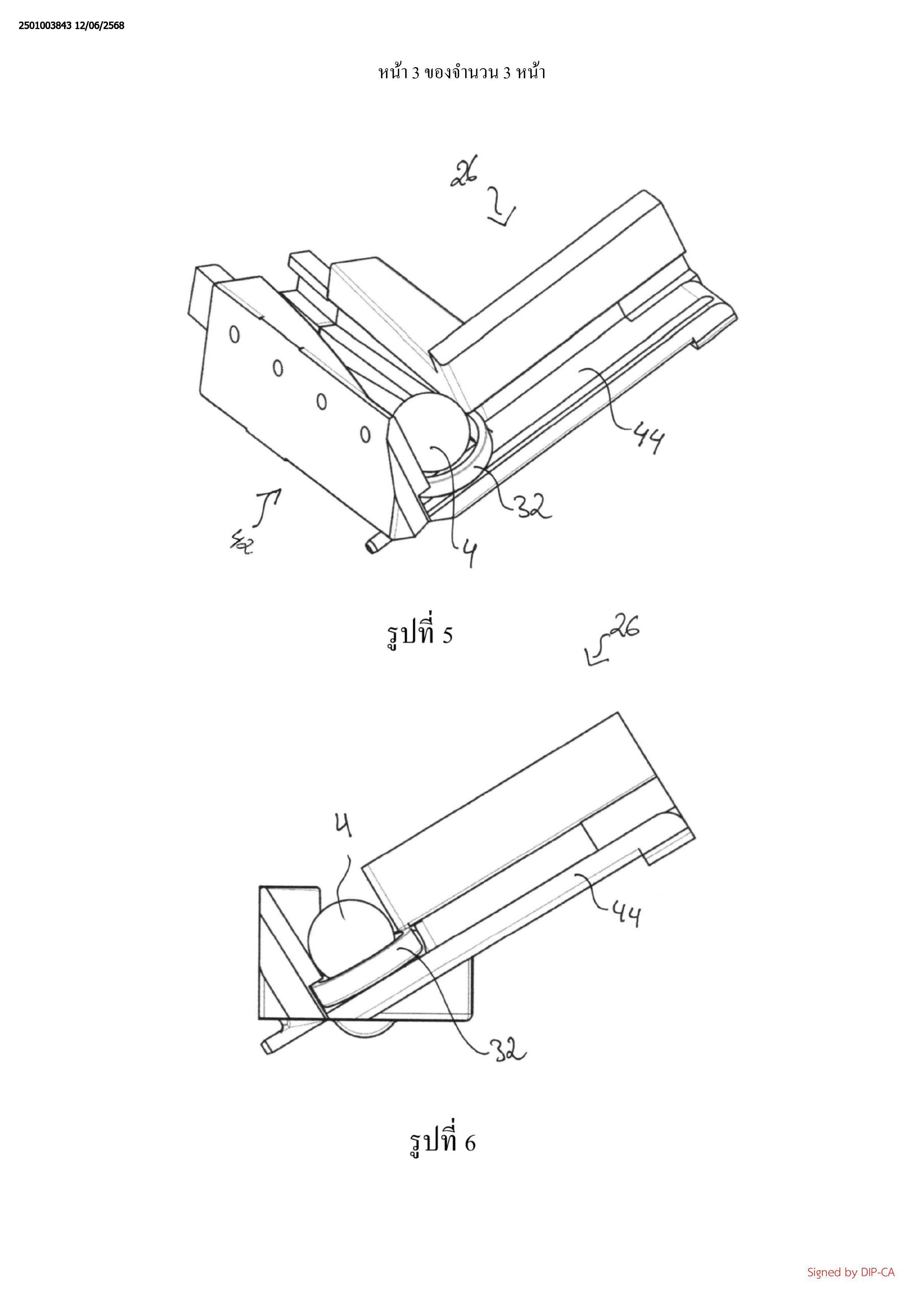
หน่วยยกขึ้น (26) ประกอบรวมด้วยสกรูลำเลียง (28) หรือ สายพานเครื่องลำเลียง (44)

8. แมกกาซีนลูกบอล (1) ตามข้อถือสิทธิที่ 7, ที่ซึ่งเกลียวสกรู (38) ของสกรูลำเลียง (28) ขึ้นอยู่

กับเส้นผ่านศูนย์กลางของลูกบอล

9. แมกกาซีนลูกบอล (1) ตามข้อถือสิทธิที่ 7 หรือ 8, ที่ซึ่งอย่างน้อยหนึ่งหน่วยยกขึ้น (26) มี

ปฏิสัมพันธ์กับตัวเว้นระยะ (32), ซึ่งถูกออกแบบให้เว้นระยะสองลูกบอล (4) แยกห่างจากกัน, เพื่อที่จะ

ยกขึ้นลูกบอล (4)

10. แมกกาซีนลูกบอล (1) ตามข้อถือสิทธิที่ 9, ที่ซึ่งส่วนจัดวางแนว (42) ถูกจัดไว้, ซึ่งถูก

ออกแบบเพื่อจัดวางแนวตัวเว้นระยะ (32) กับแกนการลำเลียงของหน่วยยกขึ้น (26)

11. แมกกาซีนลูกบอล (1) ตามข้อใดข้อหนึ่งของข้อถือสิทธิก่อนหน้านี้, ที่ซึ่งแมกกาซีนลูก

บอล (1) มีจำนวนมากกว่าหนึ่งของหน่วยยกขึ้น (26) และ/หรือ ส่วนจัดเก็บ (14)

12. การจัดเรียงสำหรับการขัดผิว และ/หรือ การเจียรลูกบอล, ที่ซึ่งการจัดเรียงประกอบรวม

ด้วยอย่างน้อยหนึ่งอุปกรณ์ที่หนึ่ง (2) สำหรับการขัดผิว และ/หรือ การเจียรลูกบอล (4) และหนึ่ง

อุปกรณ์ที่สอง (2) สำหรับการขัดผิว และ/หรือ การเจียรลูกบอล (4) และอย่างน้อยหนึ่งแมกกาซีนลูก

บอล (1) ตามข้อใดข้อหนึ่งของข้อถือสิทธิก่อนหน้านี้, ที่ซึ่งอย่างน้อยหนึ่งแมกกาซีนลูกบอล (1) ถูก

จัดเรียงระหว่างอุปกรณ์ที่หนึ่ง และที่สอง (2) ในลักษณะที่ว่าส่วนนำออกลูกบอล (12) ของแมกกาซีน

ลูกบอล (1) นำออกลูกบอล (4) จากอุปกรณ์ที่หนึ่ง และส่วนป้อนลูกบอล (16) นำทางลูกบอลจาก

แมกกาซีนลูกบอล (1) ไปยังอุปกรณ์ที่สอง