Application Type
Patents
Application SubType
National Patent
(10) Registration Number and Date
Status
ACTIVE ( Search and examination requested)
(180) Expiration Date
(20) Filing Number and Date
TH 2501007349 2025.10.27
(40) Publication Number (Gazette Number) and Date
(12/2569)
2026.03.23
(86) PCT Filing Number and Date
(87) PCT Publication Number and Date
(85) National Entry Date
(30) Priority Details
(72) Inventor
(TH) ซวงอี้ เหลี่ยง : คณะวิศวกรรมศาสตร์ มหาวิทยาลัยนเรศวร เลขที่ 99 หมู่ 9 ตำบลท่าโพธิ์ อำเภอเมืองพิษณุโลก จังหวัดพิษณุโลก
ผู้ช่วยศาสตราจารย์ ขวัญชัย ไกรทอง
(74) Representative
(TH) นางสาว กัญญารัตน์ ประทุมศิริ : กองบริการวิชาการและจัดการทรัพย์สิน มหาวิทยาลัยนเรศวร เลขที่ 99 พิษณุโลก-นครสวรรค์ ตำบลท่าโพธิ์ อำเภอเมืองพิษณุโลก จังหวัดพิษณุโลก
นางสาว ศุลีรัตน์ สงนรินทร์ : มหาวิทยาลัยนเรศวร 99 นครสวรรค์-พิษณุโลก ตำบลท่าโพธิ์ อำเภอเมืองพิษณุโลก จังหวัดพิษณุโลก
(54) Title
(TH)

แท่นยึดแบบแมกนีโตรีโอโลยี (Magnetorheological Mount)

(57) Abstract
(TH)

OCR 07AP

การประดิษฐ์นี้เกี่ยวข้องกับแท่นยึดแบบแมกนีโตรีโอโลจี (Magnetorheological mount) แท่นยึด

เครื่องยนต์นี้ประกอบด้วย ปลอกนอก ก้านลูกสูบ ฝาครอบส่วนบน ฝาครอบส่วนล่าง สกรูเลื่อน แผ่นยึด แผ่น

บีบอัดส่วนบน และแผ่นบีบอัดส่วนล่าง โดยฝาครอบส่วนบน แผ่นยึดและฝาครอบส่วนล่างถูกติดตั้งเรียง

ตามลำดับจากบนลงล่างตามพื้นผิวเส้นรอบวงด้านในของปลอกนอก ฝาครอบส่วนบนและส่วนล่างถูกนำมา

สัมผัสแนบสนิทกับพื้นผิวเส้นรอบวงด้านนอกของแผ่นยึดตามลำดับผ่านวงแหวนยึดที่จัดไว้ที่ด้านนอกซึ่งจะช่วย

ยึดแผ่นยึดให้อยู่กับที่ ห้องส่วนบนและห้องส่วนล่างถูกกำหนดขึ้นตามลำดับระหว่างฝาครอบส่วนบนกับแผ่นยึด

และระหว่างฝาครอบส่วนล่างกับแผ่นยึด ห้องทั้งส่วนบนและส่วนล่างต่างก็ถูกเติมด้วยของไหลแมกนีโตรีโอโลจี

(Magnetorheologicalfluid) พื้นที่บีบอัดสองส่วนที่จัดเรียงในแนวตั้งถูกสร้างขึ้นระหว่างแผ่นยึด แผ่นบีบอัด

ส่วนบน และแผ่นบีบอัดส่วนล่าง ที่ซึ่งแผ่นยึดส่วนบนและส่วนล่างทำงานร่วมกันเพื่อสร้างช่องทางการไหลรูป

โค้งสี่ช่องที่เชื่อมต่อห้องของไหลส่วนบนและส่วนล่าง ทำให้แท่นยึดแบบแมกนีโตรีโอโลจีชนิดทำงานร่วม

(Hybrid-mode magnetorheological mount) สามารถสร้างแรงหน่วงที่มากขึ้นได้

(58) Citations
License Details
(98) Annuity Details
YearValidity StartValidity EndPayment
Document Type Date Action
abstract 2026-03-23T00:00:00Z
claims 2026-03-23T00:00:00Z
description 2026-03-23T00:00:00Z
gazette 2026-03-23T00:00:00Z
Event NameDateLink
Application filed2025-10-27
Document published2026-03-23
Search and examination requested2026-03-25

1

OCR 07AP

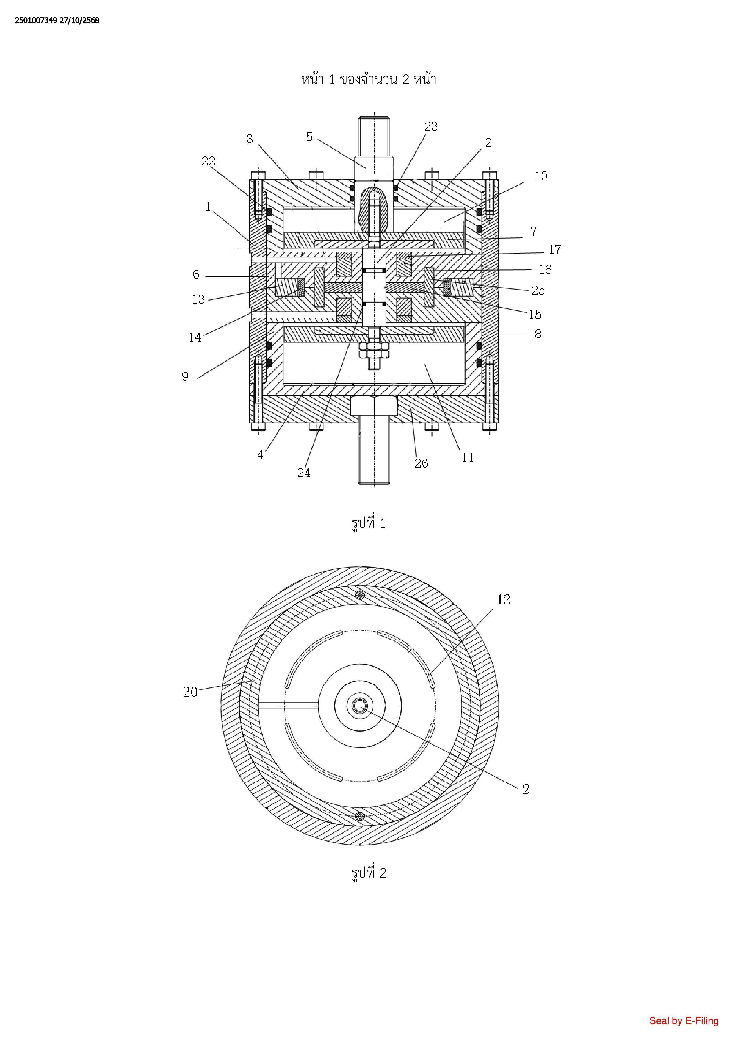
1. แท่นยึดแบบแมกนีโตรีโอโลยี (Magnetorheological mount, MR) ประกอบด้วยปลอกนอก (1) ก้านลูกสูบ

(2) ฝาครอบส่วนบน (3) ฝาครอบส่วนล่าง (4) สกรูเลื่อน (5) แผ่นยึด (6) แผ่นบีบอัดส่วนบน (7) และแผ่นบีบ

อัดส่วนล่าง (8) ที่มีลักษณะเฉพาะคือ

ฝาครอบส่วนบน (3) แผ่นยึด (6) และฝาครอบส่วนล่าง (4) ถูกจัดเรียงตามลำดับจากบนลงล่างตาม

พื้นผิวเส้นรอบวงด้านในของปลอกนอก (1)

ฝาครอบส่วนบน (3) และ ฝาครอบส่วนล่าง (4) ถูกนำมาสัมผัสแนบสนิทกับพื้นผิวเส้นรอบวงด้านนอก

ของแผ่นยึด (6) ตามลำดับ ผ่านวงแหวนยึด (9) ที่จัดไว้ที่ด้านนอกของพวกมัน ซึ่งจะช่วยยืดแผ่นยึด (6) ให้อยู่

กับที่

ห้องส่วนบน (10) และ ห้องส่วนล่าง (11) ถูกสร้างขึ้นตามลำดับระหว่างฝาครอบส่วนบน (3) กับแผ่น

ยืด (6) และระหว่างฝาครอบส่วนล่าง (4) กับแผ่นยึด (6)

ห้องส่วนบน (10) และ ห้องส่วนล่าง (11) ถูกเติมด้วยของไหลแมกนีโตริโอโลจิ (Magnetorheological

fluid)

สกรูเลื่อน (5) ยื่นเข้าไปในห้องส่วนบน (10) ผ่านรูเลื่อนที่เกิดขึ้นที่ศูนย์กลางของฝาครอบส่วนบน (3)

โดยสกรูเลื่อน (5) ถูกประกอบเข้ากับรูเลื่อนแบบเพื่อช่องว่าง (clearance fit) และสามารถเลื่อนได้เมื่อเทียบ

กับฝาครอบส่วนบน (3) ปลายด้านล่างของสกรูเลื่อน (5) ถูกเชื่อมต่อแบบยึดแน่นกับก้านลูกสูบ (2)

แผ่นยึด (6) ถูกจัดเตรียมไว้ที่ศูนย์กลางด้วยช่องทางเลื่อนซึ่งปลายด้านล่างของก้านลูกสูบ (2) ยื่นเข้าไป

ในห้องส่วนล่าง (11) โดยก้านลูกสูบ (2) ถูกประกอบเข้ากับช่องทางเลื่อนแบบเพื่อช่องว่างและสามารถเลื่อนได้

เมื่อเทียบกับช่องทางนั้น

แผ่นบีบอัดส่วนบน (7) และ แผ่นบีบอัดส่วนล่าง (8) ถูกติดตั้งยึดแน่นไว้บนด้านตรงข้ามของแผ่นยึด

(6) ตามแนวก้านลูกสูบ (2)

มีช่องว่างจัดเตรียมไว้ระหว่างพื้นผิวเส้นรอบวงด้านนอกของแผ่นบีบอัดส่วนบน (7) และแผ่นบีบอัด

ส่วนล่าง (8) และพื้นผิวเส้นรอบวงด้านในของฝาครอบส่วนบน (3) และฝาครอบส่วนล่าง (4) ตามลำดับ

แผ่นยึด (6) ถูกจัดเตรียมเพิ่มเติมด้วยช่องทางการไหล (12) อย่างน้อยหนึ่งช่องที่เชื่อมต่อพื้นผิวปลาย

ด้านบนและด้านล่าง

และ คอยล์ที่ล้อมรอบด้วยวงแหวนแยกแม่เหล็ก (Magnetic isolation ring) ซึ่งถูกจัดวางอยู่ภายใน

แผ่นยึด (6)

2. แท่นยึดแบบแมกนีโตรีโอโลยี (MR) ตามข้อถือสิทธิที่ 1 มีลักษณะเฉพาะคือ มีช่องทางการไหลรูปโค้ง (12)

หลายช่องถูกจัดเรียงตามเส้นรอบวงอย่างสม่ำเสมอบนพื้นผิวของแผ่นยึด (6) โดยมีช่องทางการไหลรูปโค้ง (12

จำนวน 3 ถึง 5 ชุดถูกจัดวางตามทิศทางเส้นรอบวงเดียวกัน

3. แท่นยึดแบบแมกนีโตรีโอโลยี (MR) ตามข้อถือสิทธิที่ 2 มีลักษณะเฉพาะคือ มีร่องวงแหวน A จัดเตรียมไว้

ภายในแผ่นยึด (6) ที่อยู่ติดกับพื้นผิวเส้นรอบวงด้านนอก และมีช่องเปิดที่เชื่อมต่อกับร่องวงแหวน A ถูกสร้าง

ขึ้นบนผนังด้านข้างของช่องทางการไหล (12) แต่ละช่องใกล้กับด้านนอก และคอยล์ A (13) ถูกจัดวางอยู่

ภายในร่องวงแหวน A และพื้นผิวด้านในของร่องวงแหวน A ถูกล้อมรอบด้วยวงแหวนแยกแม่เหล็ก A (14)

4. แท่นยึดแบบแบบแมกนีโตรีโอโลยี (MR) ตามข้อถือสิทธิที่ 3 มีลักษณะเฉพาะคือ มีปลอกแยกแม่เหล็ก (25)

จัดเตรียมไว้ภายในแผ่นยึด (6) ที่ด้านนอกของวงแหวนแยกแม่เหล็ก C (15) ซึ่งปลอกแยกแม่เหล็ก (25)

สอดคล้องกับร่องวงแหวน A และทำหน้าที่แยกแม่เหล็กของร่องวงแหวน A

5. แท่นยึดแบบแบบแมกนีโตรีโอโลยี (MR) ตามข้อถือสิทธิที่ 4 มีลักษณะเฉพาะคือ มีร่องวงแหวน B จัดเตรียม

ไว้บนพื้นผิวปลายด้านบนและด้านล่างของแผ่นยึด (6) ตามลำดับ ในตำแหน่งที่อยู่ด้านในของช่องทางการไหล

(12) ร่องวงแหวน B แต่ละร่องเปิดอยู่ที่พื้นผิวปลายด้านบนหรือด้านล่าง คอยล์ B (16) ถูกจัดวางอยู่ภายในร่อง

วงแหวน B แต่ละร่อง และช่องเปิดของร่องวงแหวน B แต่ละร่องถูกล้อมรอบด้วยวงแหวนแยกแม่เหล็ก B (17)

6. แท่นยึดแบบแบบแมกนีโตรีโอโลยี (MR) ตามข้อถือสิทธิที่ 5 มีลักษณะเฉพาะคือ มีวงแหวนแยกแม่เหล็ก C

(15) จัดเตรียมไว้ภายในแผ่นยึด (6) ระหว่างร่องวงแหวน 8 ที่อยู่บนพื้นผิวปลายด้านบนและด้านล่าง เพื่อแยก

แม่เหล็กของคอยล์ที่จัดวางอยู่ในร่องวงแหวน B ทั้งสอง

7. แท่นยึดแบบแบบแมกนีโตรีโอโลยี (MR) ตามข้อถือสิทธิที่ 1 มีลักษณะเฉพาะคือ

แผ่นบีบอัดส่วนบน (7) ประกอบด้วยแผ่นอัดส่วนบน (18) และแผ่นแยกแม่เหล็กส่วนบน (19)

แผ่นบีบอัดส่วนล่าง (8) ประกอบด้วยแผ่นอัดส่วนล่าง (20) และแผ่นแยกแม่เหล็กส่วนล่าง (21)

แผ่นแยกแม่เหล็กส่วนบน (19) และแผ่นแยกแม่เหล็กส่วนล่าง (21) ถูกจัดวางอยู่เหนือและใต้แผ่นยึด

(6) ตามลำดับ

ร่องแผ่นอัดถูกสร้างขึ้นระหว่างพื้นผิวที่อยู่ตรงข้ามกันของแผ่นแยกแม่เหล็กส่วนบน (19) และแผ่นแยก

แม่เหล็กส่วนล่าง (21)

แผ่นอัดส่วนบน (18) และ แผ่นอัดส่วนล่าง (20) ถูกจัดเรียงอยู่ภายในร่องแผ่นอัดที่สอดคล้องกัน

ตามลำดับ

และแผ่นอัดส่วนบน (18), แผ่นแยกแม่เหล็กส่วนบน (19), แผ่นอัดส่วนล่าง (20), และแผ่นแยก

แม่เหล็กส่วนล่าง (21) ทั้งหมดถูกติดตั้งยึดแน่นอยู่บนก้านลูกสูบ (2)

8. แท่นยึดแบบแบบแมกนีโตรีโอโลยี (MR) ตามข้อถือสิทธิที่ 1 มีลักษณะเฉพาะคือ แผ่นยึด (6) เกิดจากการต่อ

กันของแผ่นยึดส่วนบน (28) และแผ่นยึดส่วนล่าง (29) ที่จัดเรียงแบบสมมาตรซึ่งกันและกัน

9. แท่นยึดแบบแบบแมกนีโตรีโอโลยี (MR) ตามข้อถือสิทธิที่ 1 มีลักษณะเฉพาะคือ

มีร่องวงแหวนซีล A จำนวนหนึ่งหรือหลายร่องถูกจัดวางอย่างสม่ำเสมอบนพื้นผิวเส้นรอบวงด้านนอก

ของวงแหวนยึด (9) โดยแต่ละร่องบรรจุ วงแหวนซีล A (22)

มีร่องวงแหวนซีล B จำนวนหนึ่งหรือหลายร่องถูกจัดวางอย่างสม่ำเสมอบนผนังด้านในของรูเลื่อน โดย

แต่ละร่องบรรจุ วงแหวนซีล B (23)

มีร่องวงแหวนซีล C จำนวนหนึ่งหรือหลายร่องถูกจัดวางอย่างสม่ำเสมอบนพื้นผิวเส้นรอบวงด้านนอก

ของก้านลูกสูบ (2) ที่ตั้งอยู่ภายในช่องทางเลื่อน โดยแต่ละร่องบรรจุวงแหวนซีล C (24)

10. แท่นยึดแบบแบบแมกนีโตรีโอโลยี (MR) ตามข้อถือสิทธิที่ 1 มีลักษณะเฉพาะคือ ฝาครอบส่วนบน (3) และ

ฝาครอบส่วนล่าง (4) ถูกติดตั้งยึดแน่นที่ปลายด้านบนและด้านล่างของปลอกนอก (1) ตามลำดับด้วยสลัก

เกลียว และแผ่นอัดสกรู (26) ถูกติดตั้งยึดแน่นอยู่บนพื้นผิวด้านล่างของฝาครอบส่วนล่าง (4)