Application Type
Patents
Application SubType
National Patent
(10) Registration Number and Date
Status
ACTIVE ( Document published)
(180) Expiration Date
(20) Filing Number and Date
TH 2501003840 2025.06.12
(40) Publication Number and Date
${pbin}
(86) PCT Filing Number and Date
(87) PCT Publication Number and Date
(85) National Entry Date
(30) Priority Details
DE
DE102024205849.1
2024.06.24
(51) IPC Classes
(74) Representative
(TH) นาง ดารานีย์ วัจนะวุฒิวงศ์ : บริษัท ติลลิกีแอนด์กิบบินส์ อินเตอร์เนชั่นแนล จำกัด เลขที่ 1011 อาคารศุภาลัย แกรนด์ ทาวเวอร์ ชั้น 20-26 พระราม 3 ตำบลช่องนนทรี อำเภอยานนาวา จังหวัดกรุงเทพมหานคร
นางสาว สุคนธ์ทิพย์ จิตมงคลทอง : บริษัท ติลลิกีแอนด์กิบบินส์ อินเตอร์เนชั่นแนล จำกัด เลขที่ 1011 อาคารศุภาลัย แกรนด์ ทาวเวอร์ ชั้นที่ 20-26 พระราม 3 ตำบลช่องนนทรี อำเภอยานนาวา จังหวัดกรุงเทพมหานคร
นาย ณัฐพล อร่ามเมือง : บริษัท ติลลิกีแอนด์กิบบินส์ อินเตอร์เนชั่นแนล จำกัด 1011 อาคารศุภาลัยแกรนด์ทาวเวอร์ ชั้น 20-26 พระราม 3 ตำบลช่องนนทรี อำเภอยานนาวา จังหวัดกรุงเทพมหานคร
นาย สมบูรณ์ เอื้อธีรศรัณย์ : บริษัท ติลลิกีแอนด์กิบบินส์ อินเตอร์เนชั่นแนล จำกัด เลขที่ 1011 อาคารศุภาลัย แกรนด์ ทาวเวอร์ ชั้น 20 - 26 พระราม 3 ตำบลช่องนนทรี อำเภอยานนาวา จังหวัดกรุงเทพมหานคร
นาย สืบสิริ ทวีผล
(54) Title
(TH)

อุปกรณ์นำทางลูกบอลสำหรับชุดเครื่องสำหรับการขัดผิว และ/หรือ การเจียรลูกบอล

(57) Abstract
(TH)

OCR 06WT

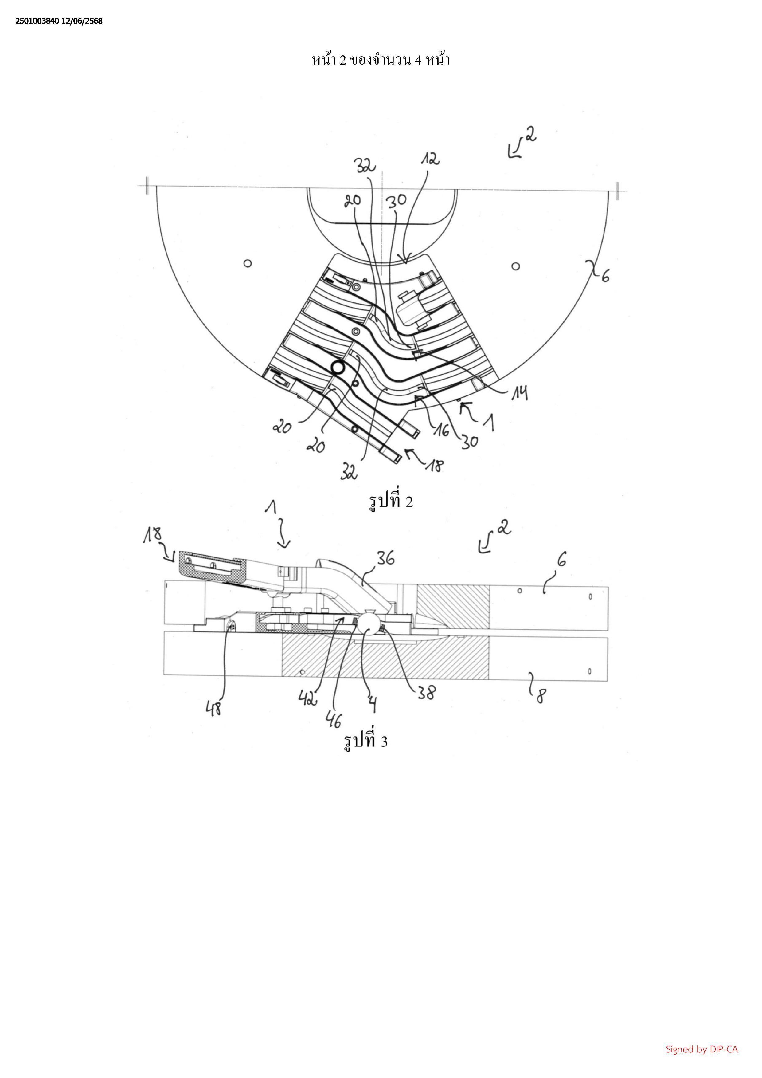
การเปิดเผยถูกทำขึ้นจากอุปกรณ์นำทางลูกบอล (1) สำหรับชุดเครื่อง (2) สำหรับการขัดผิว

และ/หรือ การเจียรลูกบอล (4), ที่ซึ่งชุดเครื่อง (2) มีแผ่นจานที่หนึ่ง และที่สอง (6, 8), ที่ซึ่งอย่างน้อย

หนึ่งแผ่นจาน (6, 8) มีอย่างน้อยหนึ่งร่องลูกบอลที่หนึ่ง และหนึ่งร่องลูกบอลที่สองสำหรับการนำทาง

ลูกบอล (4), ที่ซึ่งแผ่นจานที่หนึ่ง (6) มีซอกเว้า (12), ซึ่งอุปกรณ์นำทางลูกบอล (1) สามารถถูกสอดเข้า

ไปในส่วนนั้น, ที่ซึ่งอุปกรณ์นำทางลูกบอล (1) มีอย่างน้อยหนึ่งร่องนำทาง (14, 16), ซึ่งเชื่อมต่อร่อง

ลูกบอลที่หนึ่ง และร่องลูกบอลที่สอง ของชุดเครื่อง (2) ในวิธีลักษณะที่ว่าลูกบอล (4) สามารถวิ่งผ่าน

ร่องลูกบอลที่หนึ่ง และที่สอง (10) อย่างต่อเนื่องกันโดยตรง, ที่ซึ่งอย่างน้อยหนึ่งร่องนำทาง (14, 16)

ประกอบรวมด้วยทางลาดที่หนึ่ง (20), ซึ่งถูกออกแบบเพื่อนำทางลูกบอล (4) ออกจากร่องลูกบอลที่

หนึ่ง และประกอบรวมด้วยทางลาดที่สอง (30), ซึ่งถูกออกแบบเพื่อนำทางลูกบอล (4) ไปในร่องลูก

บอลที่สอง

(58) Citations
License Details
(98) Annuity Details
YearValidity StartValidity EndPayment
Document Type Date Action
abstract 2025-10-13T00:00:00Z
claims 2025-10-13T00:00:00Z
gazette 2025-10-13T00:00:00Z
description 2025-10-13T00:00:00Z
Event NameDateLink
Application filed2025-06-12
Document published2025-10-13

1

OCR 06WT

1. อุปกรณ์นำทางลูกบอล (1) สำหรับชุดเครื่อง (2) สำหรับการขัดผิว และ/หรือ การเจียร

ลูกบอล (4), ที่ซึ่งชุดเครื่อง (2) มีแผ่นจานที่หนึ่ง และที่สอง (6,8), ที่ซึ่งอย่างน้อยหนึ่งแผ่นจาน (6, 8)

มีอย่างน้อยหนึ่งร่องลูกบอลที่หนึ่ง และหนึ่งร้องลูกบอลที่สองสำหรับการนำทางลูกบอล (4), ที่ซึ่ง

แผ่นจานที่หนึ่ง (6) มีซอกเว้า (12), ซึ่งอุปกรณ์นำทางลูกบอล (1) สามารถูกสอดเข้าไปในส่วนนั้น,

ที่ซึ่งอุปกรณ์นำทางลูกบอล (1) มีอย่างน้อยหนึ่งร่องนำทาง (14, 16), ซึ่งเชื่อมต่องลูกบอลที่หนึ่ง

และร่องลูกบอลที่สองของชุดเครื่อง (2) ในวิธีลักษณะที่ว่าลูกบอล (4) สามารถวิ่งผ่านร่องลูกบอลที่

หนึ่ง และที่สอง (10) อย่างต่อเนื่องกันโดยตรง, ที่ซึ่งอย่างน้อยหนึ่งร่องนำทาง (14, 16) ประกอบรวม

ด้วยทางลาดที่หนึ่ง (20), ซึ่งถูกออกแบบเพื่อนำทางลูกบอล (4) ออกจากร่องลูกบอลที่หนึ่ง และ

ประกอบรวมด้วยทางลาดที่สอง (30), ซึ่งถูกออกแบบเพื่อนำทางลูกบอล (4) ไปในร่องลูกบอลที่สอง

2. อุปกรณ์นำทางลูกบอล (1) ตามข้อถือสิทธิที่ 1, ที่ซึ่งอุปกรณ์นำทางลูกบอล (1) มีอย่างน้อย

หนึ่งส่วนระดับกลาง (32), ซึ่งเชื่อมต่อทางลาดที่หนึ่ง และที่สอง (20, 30)

3. อุปกรณ์นำทางลูกบอล (1) ตามข้อถือสิทธิที่ I หรือ 2,ที่ซึ่งทางลาดที่หนึ่ง และ/หรือ ที่สอง

(20, 30) ถูกสร้างขึ้นบนด้านล่าง (26) ของร่องนำทาง (14)

4. อุปกรณ์นำทางลูกบอล (1) ตามหนึ่งในข้อถือสิทธิก่อนหน้านี้, ที่ซึ่งร่องนำทาง (14, 16) มี

อย่างน้อยหนึ่งผนังด้านข้าง (28), ซึ่งถูกออกแบบเป็นส่วนประกอบนำทาง (40) สำหรับตัวเว้นระยะ

(38), ซึ่งเหมาะสมสำหรับการเว้นช่องว่างแยกห่างสองลูกบอลที่อยู่ติดกัน (4)

5. อุปกรณ์นำทางลูกบอล (1) ตามข้อถือสิทธิที่ 4, ที่ซึ่งอย่างน้อยหนึ่งผนังด้านข้าง (28) มีทาง

ลาดที่หนึ่ง (44), ซึ่งถูกออกแบบเพื่อนำทางตัวเว้นระชะ (38) ออกจากร่องลูกบอลที่หนึ่ง และ/หรือ มี

ทางลาดที่สอง (46), ซึ่งถูกออกแบบเพื่อนำทางตัวเว้นระขะ (38) ไปในร่องลูกบอลที่สอง

6. อุปกรณ์นำทางลูกบอล (1) ตามหนึ่งในข้อถือสิทธิที่ 3 ถึง 5, ที่ซึ่งอย่างน้อยหนึ่งร่องนำทาง

(14, 16) มีด้านล่าง (26) และอย่างน้อยหนึ่งผนังด้านข้าง (28), ที่ซึ่งทางลาดที่หนึ่ง (20) ถูกจัดเรียงบน

ด้านล่าง และอย่างน้อยหนึ่งผนังด้านข้าง (28) เพิ่มเติมมีทางลาด (44), ซึ่งถูกออกแบบเพื่อนำทางตัว

เว้นระขะ (38) ออกจากร่องลูกบอลที่หนึ่ง

7. อุปกรณ์นำทางลูกบอล (1) ตามข้อถือสิทธิที่ 6, ที่ซึ้ง, เมื่อมองในทิศทางของการหมุนเวียน

ของลูกบอล (4), ทางลาดเพิ่มเติม (44) ถูกออกแบบเพื่อนำทางตัวเว้นระยะ (38) ออกจากร่องลูกบอลที่

หนึ่งข้างหน้าลูกบอล (4)

8. อุปกรณ์นำทางลูกบอล (1) ตามหนึ่งในข้อถือสิทธิที่ 3 ถึง 7, ที่ซึ่งโครงร่างของทางลาดที่

หนึ่ง, ทางลาดที่สอง และ/หรือ ทางลาดเพิ่มเติมเป็นเส้นตรง หรือ ไม่เป็นเส้นตรง

9. อุปกรณ์นำทางลูกบอล (1) ตามหนึ่งในข้อถือสิทธิก่อนหน้านี้, ที่ซึ่งยิ่งไปกว่านี้อุปกรณ์

นำทางลูกบอล (1) มีส่วนย้อนกลับ (18), ซึ่งถูกออกแบบเพื่อนำทางลูกบอล (4) กลับจากร่องลูกบอล

ที่สองไปยังร่องลูกบอลที่หนึ่ง, ที่ซึ่งส่วนย้อนกลับ (18) มีร่องย้อนกลับ (35), ซึ่งอย่างน้อยบางส่วนวิ่ง

ผ่านอุปกรณ์นำทางลูกบอล (1)

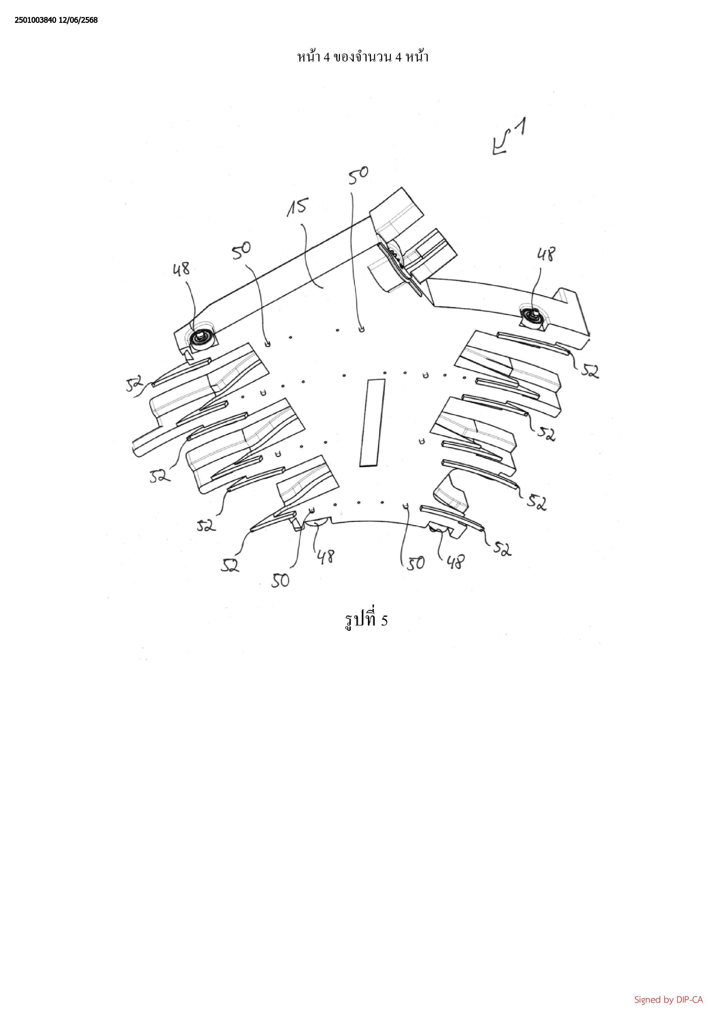
10. อุปกรณ์นำทางลูกบอล (1) ตามหนึ่งในข้อถือสิทธิก่อนหน้านี้, ที่ซึ่งอุปกรณ์นำทางลูก

บอล (1) มีอย่างน้อยหนึ่งส่วนประกอบตลับลูกปืน (48,50), ซึ่งถูกออกแบบเพื่อรองรับอุปกรณ์นำทาง

ลูกบอล (1) ในลักษณะลอยอิสระบนหนึ่งในแผ่นจาน (6,8) ของชุดเครื่อง (2) สำหรับการขัดผิว และ/

หรือ การเจียรลูกบอล (4)

11. อุปกรณ์นำทางลูกบอล (1) ตามหนึ่งในข้อถือสิทธิก่อนหน้านี้, ที่ซึ่งอุปกรณ์นำทางลูก

บอล (1) มีอย่างน้อยหนึ่งส่วนประกอบยึด (52), ซึ่งถูกออกแบบเพื่ออึดอุปกรณ์นำทางลูกบอล (1) ใน

ชุดเครื่อง (2)