Application Type
Patents
Application SubType
National Patent
(10) Registration Number and Date
Status
ACTIVE ( Document published)
(180) Expiration Date
(20) Filing Number and Date
TH 2501003098 2025.05.13
(40) Publication Number and Date
${pbin}
(86) PCT Filing Number and Date
(87) PCT Publication Number and Date
(85) National Entry Date
(30) Priority Details
KR
KR10-2025-0015003
2025.02.06
(51) IPC Classes
(71/73) Applicant
(TH) วอนเทค โค., แอลทีดี. : 64 เทคโน 8-โร ยูซอง-กู แทจ็อน 34028
(72) Inventor
(TH) คิม, จองวอน : 1312–202, 193, ซอพังโย-โร, บุนดัง-กู, ซองนัม-ชี, คย็องกี-โด, 13471,
คิม, จองฮยอน : 701-2004, 155, ดงพังโย-โร, บุนดัง-กู, ซองนัม-ชี, คย็องกี-โด, 13525,
ซอ, ยองซอก : 309–901, 15, บันกก-โร, เซจง-ชี, 30146,
นัม, เยชาน : 110-519, 18, แฮงบงมาอึล 3-โร, อึยวัง-ชี, คย็องกี-โด, 16077,
พัค, จองอิล : 36, กุงแน-โร 40บอน-กิล, บุนดัง-กู, ซองนัม-ชี, คย็องกี-โด, 13550,
(74) Representative
(TH) นาง ดารานีย์ วัจนะวุฒิวงศ์ : บริษัท ติลลิกีแอนด์กิบบินส์ อินเตอร์เนชั่นแนล จำกัด เลขที่ 1011 อาคารศุภาลัย แกรนด์ ทาวเวอร์ ชั้น 20-26 พระราม 3 ตำบลช่องนนทรี อำเภอยานนาวา จังหวัดกรุงเทพมหานคร
นางสาว สุคนธ์ทิพย์ จิตมงคลทอง : บริษัท ติลลิกีแอนด์กิบบินส์ อินเตอร์เนชั่นแนล จำกัด เลขที่ 1011 อาคารศุภาลัย แกรนด์ ทาวเวอร์ ชั้นที่ 20-26 พระราม 3 ตำบลช่องนนทรี อำเภอยานนาวา จังหวัดกรุงเทพมหานคร
นาย ณัฐพล อร่ามเมือง : บริษัท ติลลิกีแอนด์กิบบินส์ อินเตอร์เนชั่นแนล จำกัด 1011 อาคารศุภาลัยแกรนด์ทาวเวอร์ ชั้น 20-26 พระราม 3 ตำบลช่องนนทรี อำเภอยานนาวา จังหวัดกรุงเทพมหานคร
นาย สมบูรณ์ เอื้อธีรศรัณย์ : บริษัท ติลลิกีแอนด์กิบบินส์ อินเตอร์เนชั่นแนล จำกัด เลขที่ 1011 อาคารศุภาลัย แกรนด์ ทาวเวอร์ ชั้น 20 - 26 พระราม 3 ตำบลช่องนนทรี อำเภอยานนาวา จังหวัดกรุงเทพมหานคร
นาย สืบสิริ ทวีผล
(54) Title
(TH)

อุปกรณ์ทางการแพทย์ซึ่งรวมถึงระบบให้ความเย็นและวิธีการใช้งานสิ่งนั้น

(57) Abstract
(TH)

OCR 10KL (13/06/2568)

สิ่งที่นำเสนอเป็นอุปกรณ์ทางการแพทย์ซึ่งรวมถึงระบบให้ความเย็นและวิธีการใช้งานสิ่งนั้น
โดยที่อุปกรณ์ทางการแพทย์จะรวมถึงส่วนที่เป็นตัวยึดกระป๋องให้ความเย็นซึ่งถูกยึดโดยมีกระป๋องให้
ความเย็นซึ่งถูกวางติดตั้งในนั้น, ห้องสารทำความเย็นสำหรับรองรับสารทำความเย็น, หน่วยถ่ายโอน
สารทำความเย็นสำหรับถ่ายโอนสารทำความเย็นเข้าหาชิ้นมือจับ, ตัวตรวจรู้หนึ่งตัวหรือมากกว่านั้น
สำหรับวัดระดับแรงดันหรือสารทำความเย็นของห้องสารทำความเย็น, และหน่วยควบคุมสำหรับ
ส่งออกสิ่งเตือนภัยการปล่อยก๊าซหรือเริ่มปฏิบัติการปล่อยของหน่วยปล่อยก๊าซตามเกณฑ์ของค่าจาก
การวัด และอุปกรณ์นี้จะมีประสิทธิผลในการบรรเทาความเจ็บปวดซึ่งเกี่ยวเนื่องกับการบำบัดรักษา
และป้องกันการบาดเจ็บจากความร้อนให้กับพื้นที่ทำการรักษาโดยการถ่ายโอนสารทำความเย็นไปยัง
พื้นที่ทำการรักษาในระหว่างการบำบัดรักษาผิวหนัง

 

(58) Citations
License Details
(98) Annuity Details
YearValidity StartValidity EndPayment
Document Type Date Action
abstract 2025-09-08T00:00:00Z
claims 2025-09-08T00:00:00Z
description 2025-09-08T00:00:00Z
gazette 2025-09-08T00:00:00Z
Event NameDateLink
Application filed2025-05-13
Document published2025-09-08

1

OCR 10KL (13/06/2568)

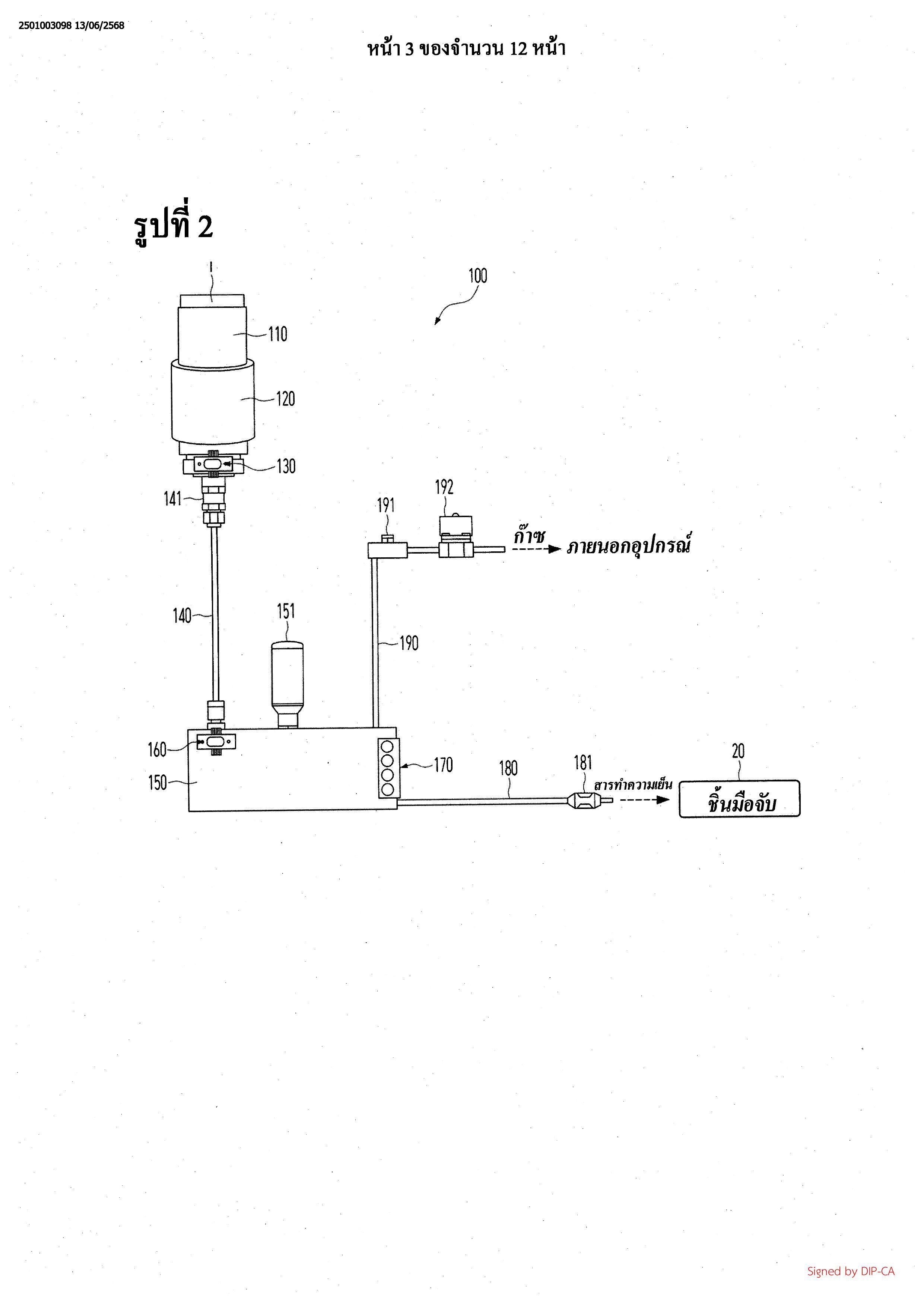
1. อุปกรณ์ทางการแพทย์ซึ่งประกอบรวมด้วย:
ตัวยึดกระป๋องให้ความเย็นซึ่งถูกยึดกับกระป๋องให้ความเย็นซึ่งถูกวางติดตั้งในนั้น;
ห้องสารทำความเย็นสำหรับรองรับสารทำความเย็นซึ่งถูกนำเข้าจากกระป๋องให้ความเย็น;
หน่วยถ่ายโอนสารทำความเย็นสำหรับถ่ายโอนสารทำความเย็นซึ่งถูกรองรับในห้องสารทำ
ความเย็นเข้าหาชิ้นมือจับ;
ตัวตรวจรู้หนึ่งตัวหรือมากกว่านั้นสำหรับวัดระดับแรงดันหรือสารทำความเย็นของห้องสาร
ทำความเย็น; และ
หน่วยควบคุมสำหรับส่งออกสิ่งเตือนภัยการปล่อยก๊าซหรือเริ่มปฏิบัติการปล่อยของหน่วย
ปล่อยก๊าซตามเกณฑ์ของค่าที่ได้มาโดยการวัดระดับแรงดันหรือสารทำความเย็นของห้องสารทำความ
เย็น
2. อุปกรณ์ทางการแพทย์ดังระบุในข้อถือสิทธิ 1 ซึ่งยังประกอบรวมด้วย:
ตัวตรวจรู้แรงดันที่หนึ่งสำหรับวัดแรงดันของกระป๋องให้ความเย็น
โดยที่หน่วยควบคุมจะส่งออกสิ่งเตือนภัยซึ่งบ่งชี้ว่ากระป๋องให้ความเย็นไม่ได้ถูกวางติดตั้งใน
ตัวยึดกระป๋องให้ความเย็นเมื่อค่าแรงดันที่หนึ่งซึ่งเป็นของกระป๋องให้ความเย็นและถูกวัดค่าโดยตัว
ตรวจรู้แรงดันที่หนึ่งต่ำกว่าค่าอ้างอิงที่หนึ่ง
3. อุปกรณ์ทางการแพทย์ดังระบุในข้อถือสิทธิ 2 โดยที่หน่วยควบคุมจะใช้งาน
เครื่องให้ความร้อนสำหรับให้ความร้อนกับกระป๋องให้ความเย็นเมื่อค่าแรงดันที่หนึ่งสูงกว่าค่าอ้างอิง
ที่หนึ่งและต่ำกว่าค่าอ้างอิงที่สอง
4. อุปกรณ์ทางการแพทย์ดังระบุในข้อถือสิทธิ 3 โดยที่เครื่องให้ความร้อนจะมีรูปวงแหวน
หรือรูปทรงโค้งล้อมรอบกระป๋องให้ความเย็นอย่างน้อยบางส่วนและถูกใช้งานจนกระทั่งแรงดันของ
กระป๋องให้ความเย็นไปถึงค่าแรงดันที่กำหนดไว้ล่วงหน้าหรือจนกระทั่งอุณหภูมิของกระป๋องให้
ความเย็นไปถึงค่าอุณหภูมิที่กำหนดไว้ล่วงหน้า
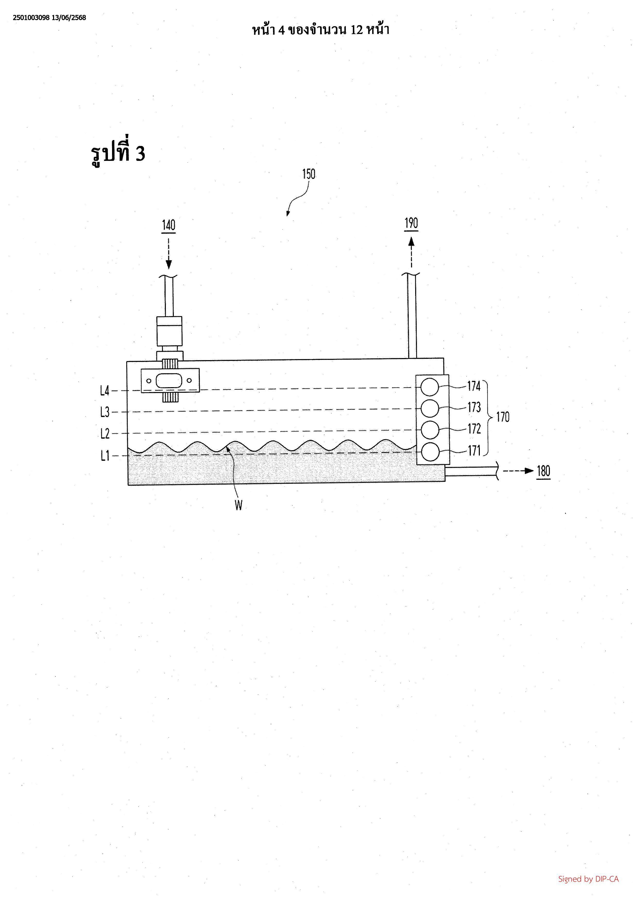
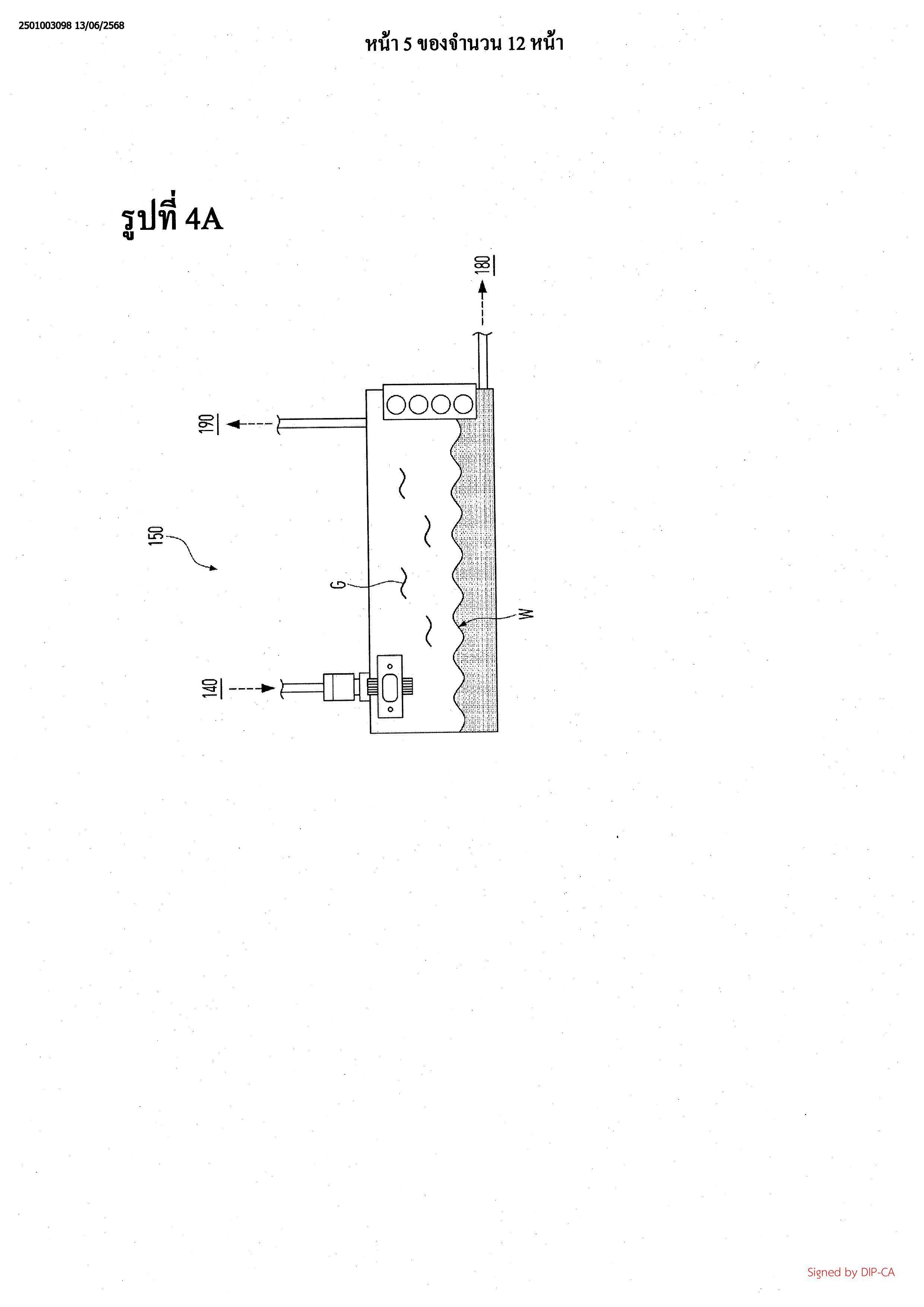
5. อุปกรณ์ทางการแพทย์ดังระบุในข้อถือสิทธิ 1 โดยที่ตัวตรวจรู้หนึ่งตัวหรือมากกว่านั้นจะ
ประกอบรวมด้วย:
ตัวตรวจรู้ระดับหนึ่งตัวหรือมากกว่านั้นสำหรับวัดค่าระดับสารทำความเย็นในห้องสารทำ
ความเย็น; และ
ตัวตรวจรู้แรงดันที่สองสำหรับวัดค่าแรงดันในห้องสารทำความเย็น,

 

โดยที่หน่วยควบคุมจะส่งออกสิ่งเตือนภัยการปล่อยก๊าซหรือเริ่มปฏิบัติการปล่อยของหน่วย
ปล่อยก๊าซเมื่อค่าของระดับสารทำความเย็นซึ่งเป็นของห้องสารทำความเย็นและถูกวัดค่าโดยตัวตรวจรู้
ระดับหนึ่งตัวหรือมากกว่านั้นต่ำกว่าค่าอ้างอิงที่สามและค่าแรงดันที่สองซึ่งเป็นของห้องสารทำความ
เย็นและถูกวัดค่าโดยตัวตรวจรู้แรงดันที่สองสูงกว่าค่าอ้างอิงที่สี่
6. อุปกรณ์ทางการแพทย์ดังระบุในข้อถือสิทธิ 5 โดยที่ตัวตรวจรู้ระดับหนึ่งตัวหรือมากกว่า
นั้นจะประกอบรวมด้วย:
ตัวตรวจรู้ระดับมากกว่าหนึ่งตัวซึ่งสอดคล้องตามลำดับกับระดับสารทำความเย็นที่แตกต่าง
จากกันของห้องสารทำความเย็น และ
หน่วยควบคุมจะตัดสินกำหนดระดับสารทำความเย็นของห้องสารทำความเย็นตามเกณฑ์ค่า
“เปิด” หรือ “ปิด” ของตัวตรวจรู้ระดับแต่ละตัวในจำนวนมากกว่าหนึ่งตัวและตัดสินกำหนดว่าค่าของ
ระดับสารทำความเย็นของห้องสารทำความเย็นต่ำกว่าค่าอ้างอิงที่สามเมื่อตัวตรวจรู้ระดับมากกว่าหนึ่ง
ตัวทั้งหมดมีค่า “ปิด”
7. อุปกรณ์ทางการแพทย์ดังระบุในข้อถือสิทธิ 1 โดยที่ตัวตรวจรู้หนึ่งตัวหรือมากกว่านั้นจะ
ประกอบรวมด้วย:
ตัวตรวจรู้แรงดันที่สองสำหรับวัดแรงดันของห้องสารทำความเย็น และ
หน่วยควบคุมจะส่งออกสิ่งเตือนภัยการปล่อยก๊าซหรือเริ่มปฏิบัติการปล่อยของหน่วยปล่อย
ก๊าซเมื่อค่าแรงดันที่สองซึ่งเป็นของห้องสารทำความเย็นและถูกวัดค่าโดยตัวตรวจรู้แรงดันที่สองสูง
กว่าค่าอ้างอิงที่สี่
8. อุปกรณ์ทางการแพทย์ดังระบุในข้อถือสิทธิ 6 โดยที่หน่วยควบคุมจะส่งออกสิ่งเตือนภัย
การขาดแคลนสารทำความเย็นหรือสิ่งเตือนภัยการเปลี่ยนกระป๋องให้ความเย็นเมื่อค่าของระดับสารทำ
ความเย็นของห้องสารทำความเย็นต่ำกว่าค่าอ้างอิงที่สามและค่าแรงดันที่สองต่ำกว่าค่าอ้างอิงที่สี่
9. อุปกรณ์ทางการแพทย์ดังระบุในข้อถือสิทธิ 6 โดยที่หน่วยควบคุมจะแสดงสารทำความเย็น
ในปริมาณที่เหลือบนจอแสดงผลตามเกณฑ์ของระดับสารทำความเย็นซึ่งเป็นของห้องสารทำความ
เย็นและถูกวัดค่าโดยตัวตรวจรู้ระดับหนึ่งตัวหรือมากกว่านั้น
10. อุปกรณ์ทางการแพทย์ดังระบุในข้อถือสิทธิ 1 โดยที่หน่วยปล่อยก๊าซจะถูกเชื่อมต่อกับ
ห้องสารทำความเย็นโดยผ่านทางไหลที่สาม และ

 

ตัวปกป้องแรงดันสูงที่สามารถใช้แรงบังคับปล่อยก๊าซภายในห้องสารทำความเย็นแม้แต่ใน
สภาพที่ปฏิบัติการปล่อยของหน่วยปล่อยก๊าซไม่ได้ถูกทำให้เริ่มขึ้นจะถูกจัดให้มีขึ้นบนเส้นทางของ
ทางไหลที่สาม
11. อุปกรณ์ทางการแพทย์ดังระบุในข้อถือสิทธิ 1 ซึ่งยังประกอบรวมด้วย:
ตัวดักค้อนกำลังน้ำสำหรับบรรเทาปรากฏการณ์ค้อนกำลังน้ำเนื่องจากกระแสไหลของสารทำ
ความเย็น และ
ตัวดักค้อนกำลังน้ำจะถูกควบต่อกับผิวหน้าด้านข้างของห้องสารทำความเย็น
12. วิธีการใช้งานอุปกรณ์ทางการแพทย์ซึ่งถูกดำเนินการโดยอุปกรณ์คิตคำนวณ โดยที่
วิธีการใช้งานจะประกอบรวมด้วย:
การตรวจสอบค่าแรงดันที่หนึ่งของกระป๋องให้ความเย็น;
การตรวจสอบค่าของระดับสารทำความเย็นของห้องสารทำความเย็นเมื่อค่าแรงดันที่หนึ่ง
มากกว่าหรือเท่ากับค่าอ้างอิงที่หนึ่งและค่าอ้างอิงที่สอง;
การตรวจสอบค่าแรงดันที่สองของห้องสารทำความเย็นเมื่อค่าของระดับสารทำความเย็นต่ำ
กว่าค่าอ้างอิงที่สาม; และ
การส่งออกสิ่งเตือนภัยการปล่อยก๊าซหรือการเริ่มปฏิบัติการปล่อยของหน่วยปล่อยก๊าซเมื่อค่า
ของระดับสารทำความเย็นต่ำกว่าค่าอ้างอิงที่สามและค่าแรงดันที่สองสูงกว่าค่าอ้างอิงที่สี่
13. วิธีการใช้งานดังระบุในข้อถือสิทธิ 12 โดยที่การตรวจสอบค่าแรงดันที่หนึ่งของกระป๋อง
ให้ความเย็นจะประกอบรวมด้วย
การส่งออกสิ่งเตือนภัยซึ่งบ่งชี้ว่ากระป๋องให้ความเย็นไม่ได้ถูกวางติดตั้งในตัวยึดกระป๋องให้
ความเย็นเมื่อค่าแรงดันที่หนึ่งต่ำกว่าค่าอ้างอิงที่หนึ่งและใช้งานเครื่องให้ความร้อนสำหรับให้ความ
ร้อนกับกระป๋องให้ความเย็นเมื่อค่าแรงดันที่หนึ่งสูงกว่าค่าอ้างอิงที่หนึ่งและต่ำกว่าค่าอ้างอิงที่สอง
14. วิธีการใช้งานดังระบุในข้อถือสิทธิ 12 โดยที่การตรวจสอบค่าของระดับสารทำความเย็น
ของห้องสารทำความเย็นจะประกอบรวมด้วย:
การแสดงสารทำความเย็นในปริมาณที่เหลือบนจอแสดงผลตามเกณฑ์ของค่าของระดับสาร
ทำความเย็น
15. วิธีการใช้งานดังระบุในข้อถือสิทธิ 12 โดยที่การตรวจสอบค่าแรงดันที่สองของห้องสาร
ทำความเย็นจะประกอบรวมด้วย:

 

การส่งออกสิ่งเตือนภัยการขาดแคลนสารทำความเย็นหรือสิ่งเตือนภัยการเปลี่ยนกระป๋องให้
ความเย็นเมื่อค่าของระดับสารทำความเย็นต่ำกว่าค่าอ้างอิงที่สามและค่าแรงดันที่สองต่ำกว่าค่าอ้างอิงที่
สี่
16. วิธีการใช้งานดังระบุในข้อถือสิทธิ 12 โดยที่การส่งออกสิ่งเตือนภัยการปล่อยก๊าซหรือ
การเริ่มปฏิบัติการปล่อยของหน่วยปล่อยก๊าซจะประกอบรวมด้วย:
การแสดงสิ่งเตือนภัยการปล่อยก๊าซบนจอแสดงผล;
การปิดวาล์วที่หนึ่งซึ่งถูกเชื่อมต่อกับกระป๋องให้ความเย็นและการเปิดวาล์วที่สามซึ่งถูก
เชื่อมต่อกับหน่วยปล่อยก๊าซ;
การตรวจสอบว่าค่าแรงดันของห้องสารทำความเย็นน้อยกว่าหรือเท่ากับค่าที่ถูกตัดสินกำหนด
ไว้ก่อนเมื่อก๊าซภายในห้องสารทำความเย็นถูกปล่อยออกโดยผ่านหน่วยปล่อยก๊าซ;
การปิดวาล์วที่สามเมื่อค่าแรงดันของห้องสารทำความเย็นมีการตรวจสอบว่าน้อยกว่าหรือ
เท่ากับค่าที่กำหนดไว้ก่อนแล้ว; และ
การเปิดวาล์วที่หนึ่งอีกครั้ง