Application Type
National
Application SubType
(10) Registration Number and Date
10202400822V
Status
ACTIVE ( Other event occurred)
(180) Expiration Date
(20) Filing Number and Date
SG 10202400822V 2023.12.31
(40) Publication Number and Date
${pbin}
(86) PCT Filing Number and Date
(87) PCT Publication Number and Date
(85) National Entry Date
(30) Priority Details
JP
JP2023-063051
2023.01.01
(51) IPC Classes
    (74) Representative
    (54) Title
    (57) Abstract
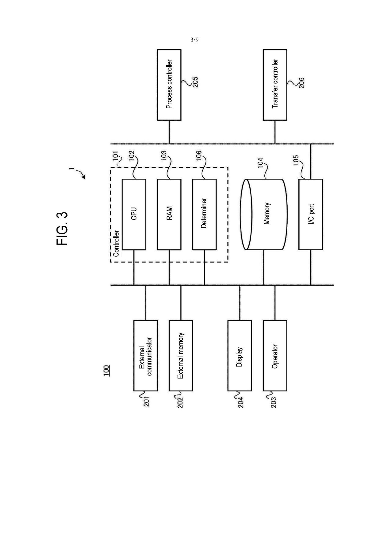
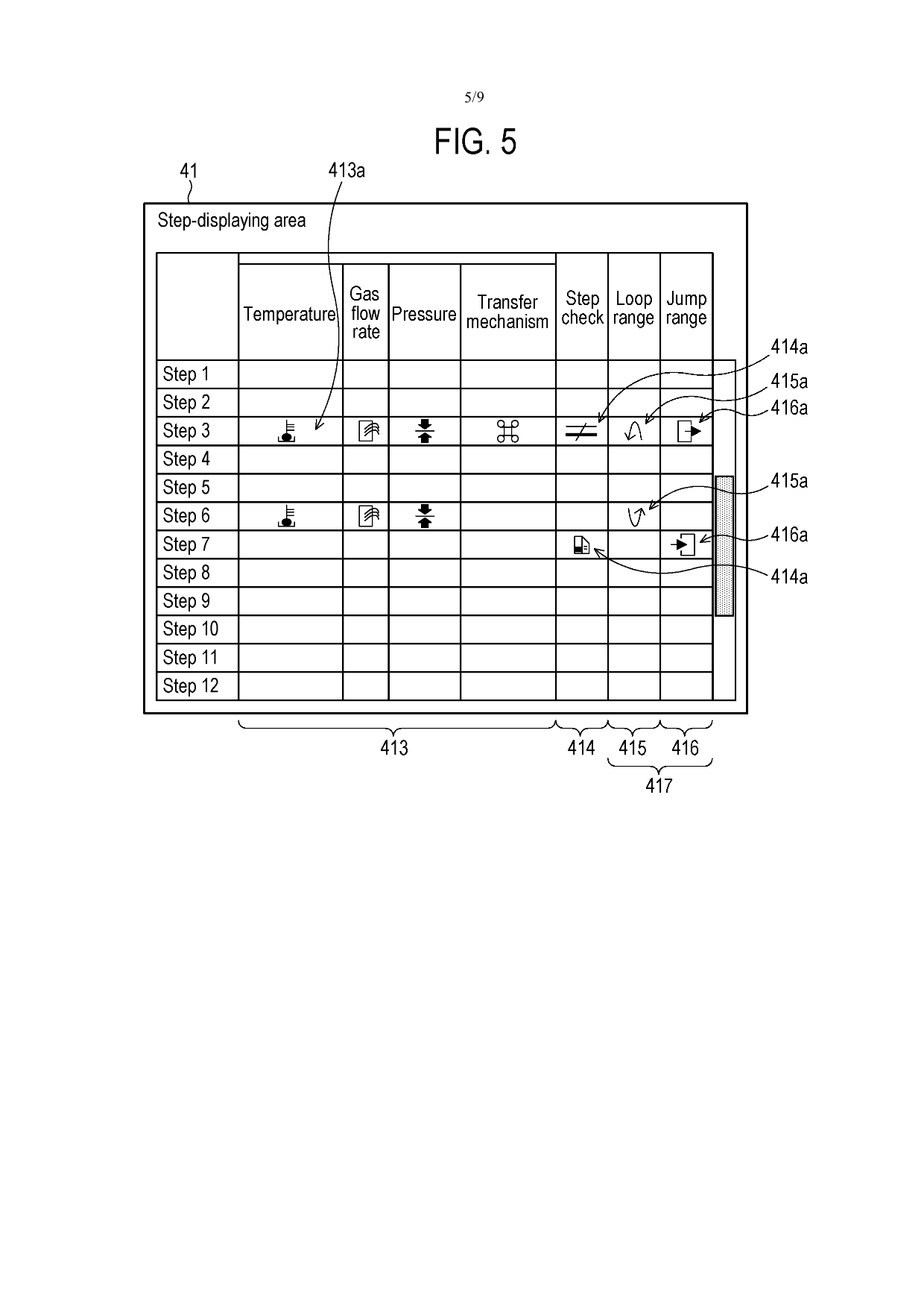
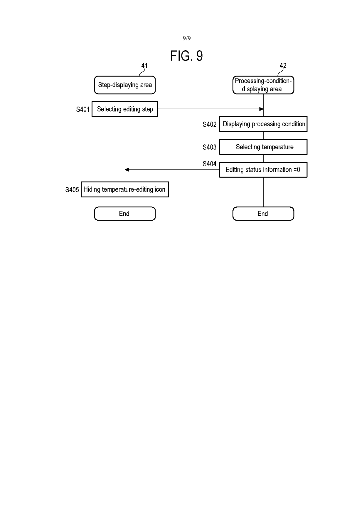
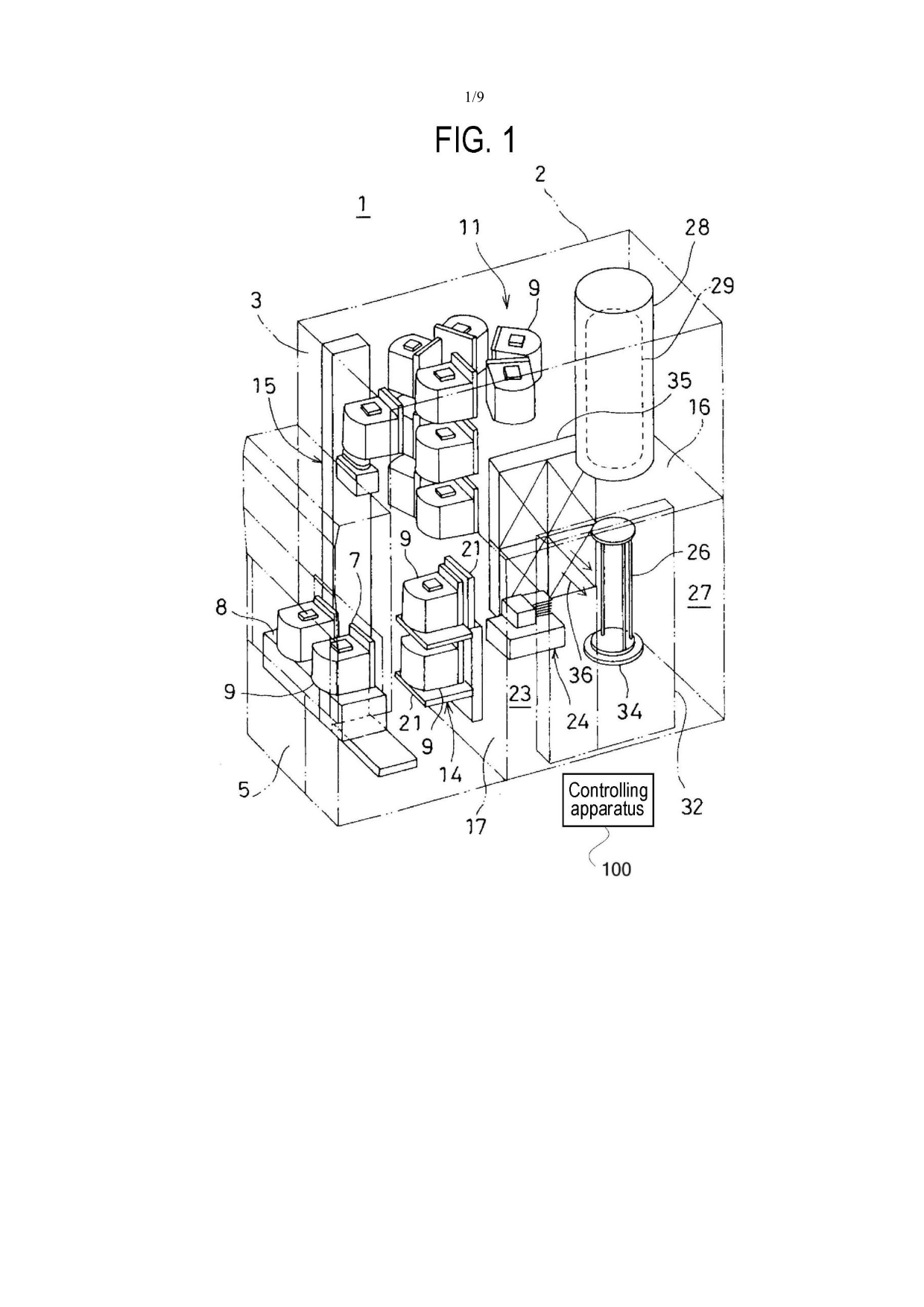
    (EN) CONTROLLING APPARATUS, SUBSTRATE PROCESSING APPARATUS, METHOD OF MANUFACTURING SEMICONDUCTOR DEVICE, AND PROGRAM ABSTRACT There is provided a technique that includes: a recipe including a plurality of steps for which a processing condition for a substrate is defined; a display capable of displaying at least one selected from information on the plurality of steps included in the recipe and information on the processing condition of at least one step selected from the plurality of steps; an operator configured to perform an editing operation for the processing condition; and a controller capable of controlling information on a step for which the editing operation for the processing condition is performed to be displayed in a different manner from information on a step for which the editing operation is not performed. Fig. 3 30
    (58) Citations
    License Details
    (98) Annuity Details
    YearValidity StartValidity EndPayment
    Document Type Date Action
    Description (with claims) 2024-03-22T00:00:00Z
    Abstract 2024-03-22T00:00:00Z
    Event NameDateLink
    Other event occurred2023-12-31
    Other event occurred2023-12-31
    Other event occurred2023-12-31
    Other event occurred2023-12-31