Application Type
National
Application SubType
(10) Registration Number and Date
10202400852P
Status
ACTIVE ( Other event occurred)
(180) Expiration Date
(20) Filing Number and Date
SG 10202400852P 2023.12.31
(40) Publication Number and Date
${pbin}
(86) PCT Filing Number and Date
(87) PCT Publication Number and Date
(85) National Entry Date
(30) Priority Details
US
US18/191,788
2023.01.01
(51) IPC Classes
    (74) Representative
    (54) Title
    (57) Abstract
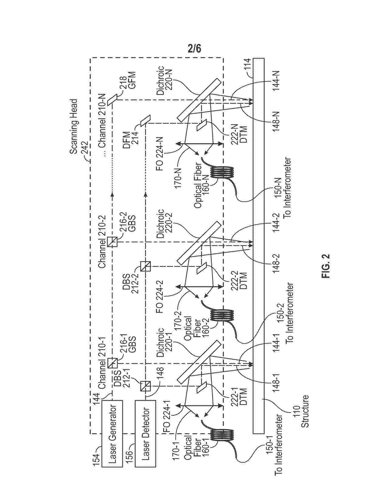
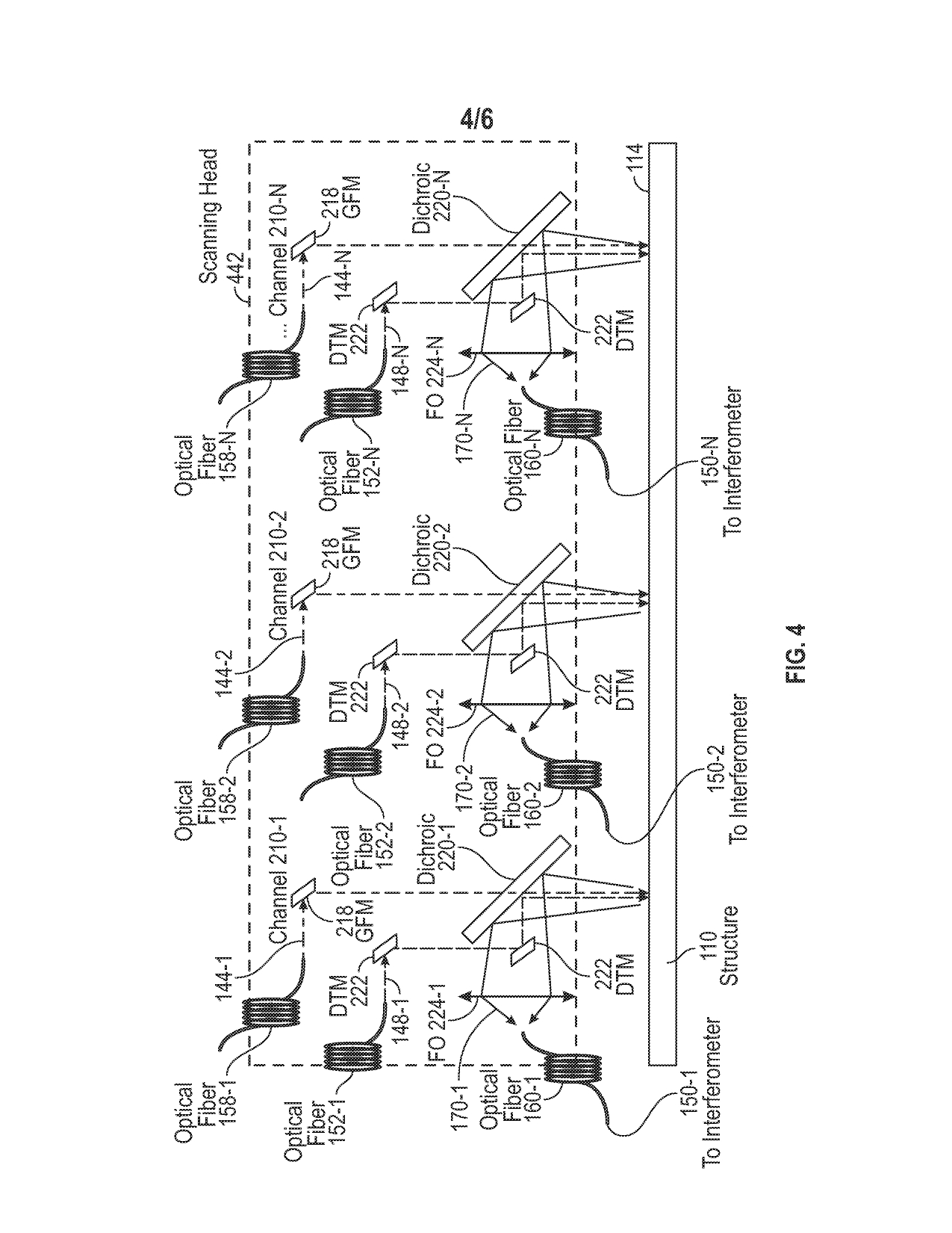
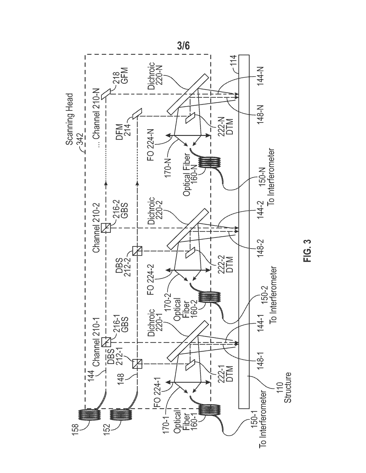
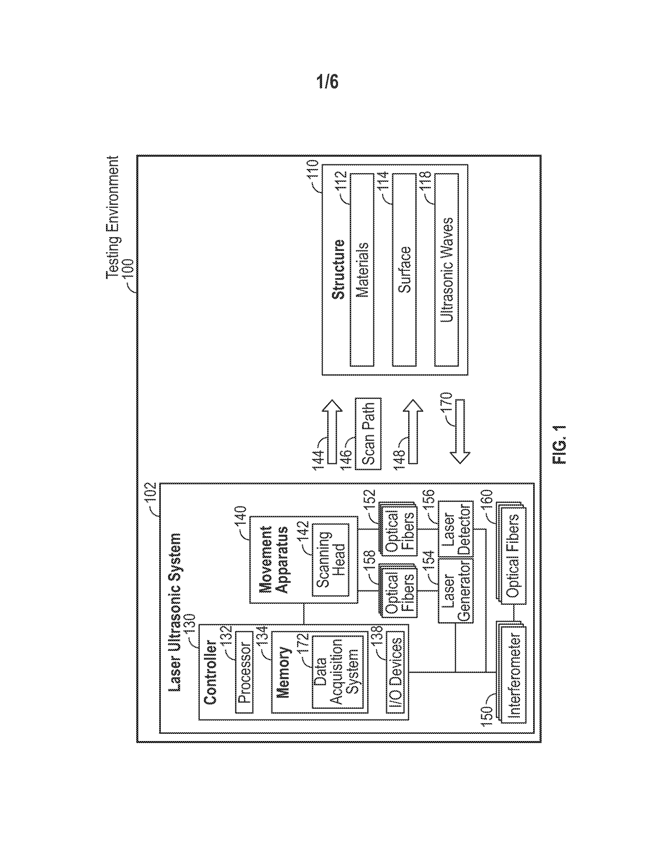
    (EN) MULTIPLE CHANNEL LASER ULTRASONIC SYSTEM ABSTRACT The present disclosure provides for a multiple channel laser ultrasonic system using a single detection laser and a single generation laser for inspecting internal structures. An example system includes a laser generator configured to emit generation laser light, a laser detector configured to emit detection laser light, and a scanning apparatus. The scanning apparatus is configured to receive the generation laser light and the detection laser light, direct the generation laser light and the detection laser light onto a surface of a structure via a plurality of laser ultrasonic channels, and collect reflections of the detection laser light from the surface of the structure via the plurality of laser ultrasonic channels. The system also includes a controller configured to characterize an internal feature of the structure based on the reflections. Fig. 2 25
    (58) Citations
    License Details
    (98) Annuity Details
    YearValidity StartValidity EndPayment
    Document Type Date Action
    Description (with claims) 2024-03-25T00:00:00Z
    Abstract 2024-03-25T00:00:00Z
    Event NameDateLink
    Other event occurred2023-12-31
    Other event occurred2023-12-31
    Other event occurred2023-12-31