Application Type
National
Application SubType
(10) Registration Number and Date
10202402506X
Status
ACTIVE ( Other event occurred)
(180) Expiration Date
(20) Filing Number and Date
SG 10202402506X 2023.12.31
(40) Publication Number (Gazette Number) and Date
(86) PCT Filing Number and Date
(87) PCT Publication Number and Date
(85) National Entry Date
(30) Priority Details
US
US62/622,205
2017.12.31
(51) IPC Classes
    (74) Representative
    (54) Title
    (57) Abstract
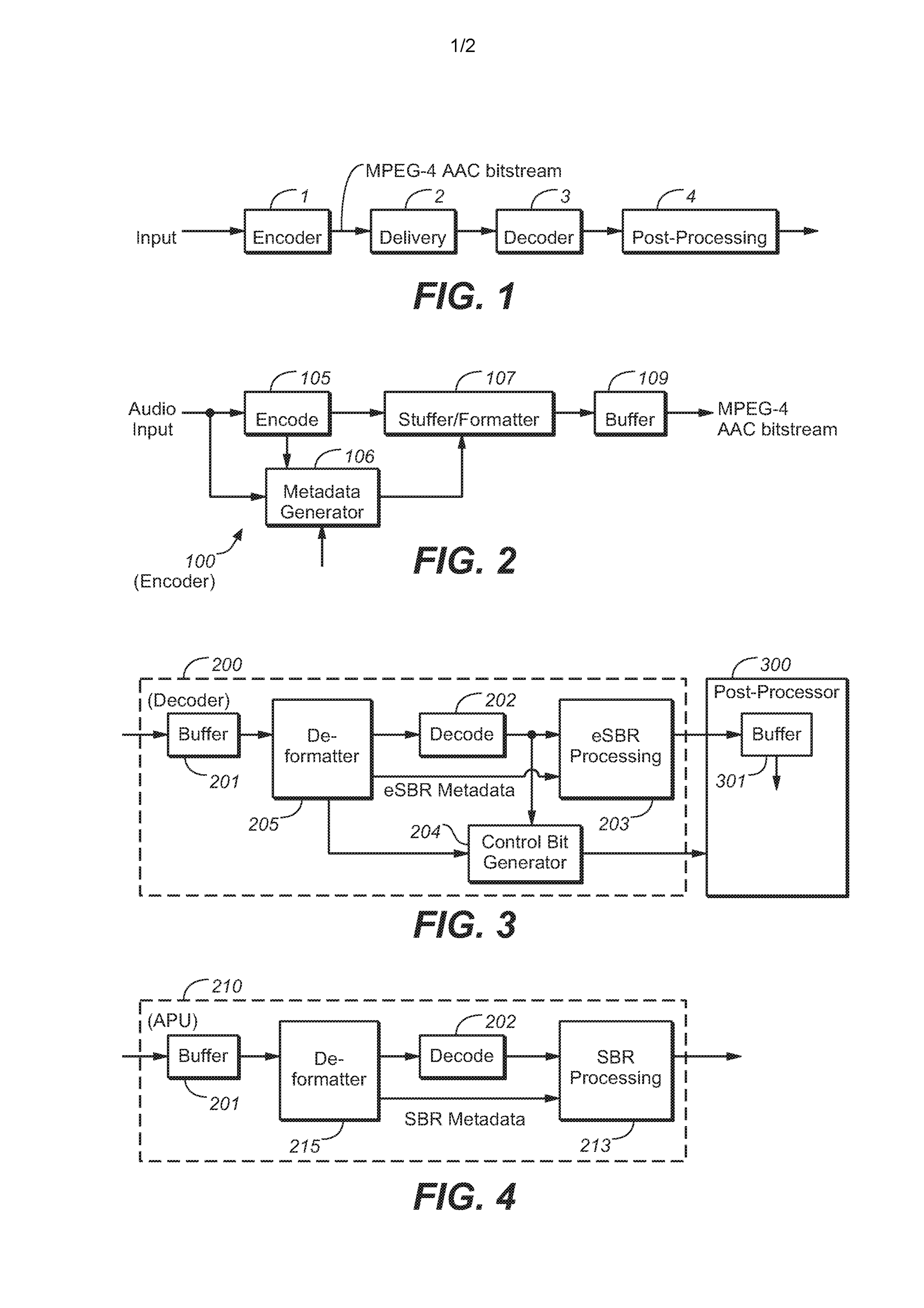
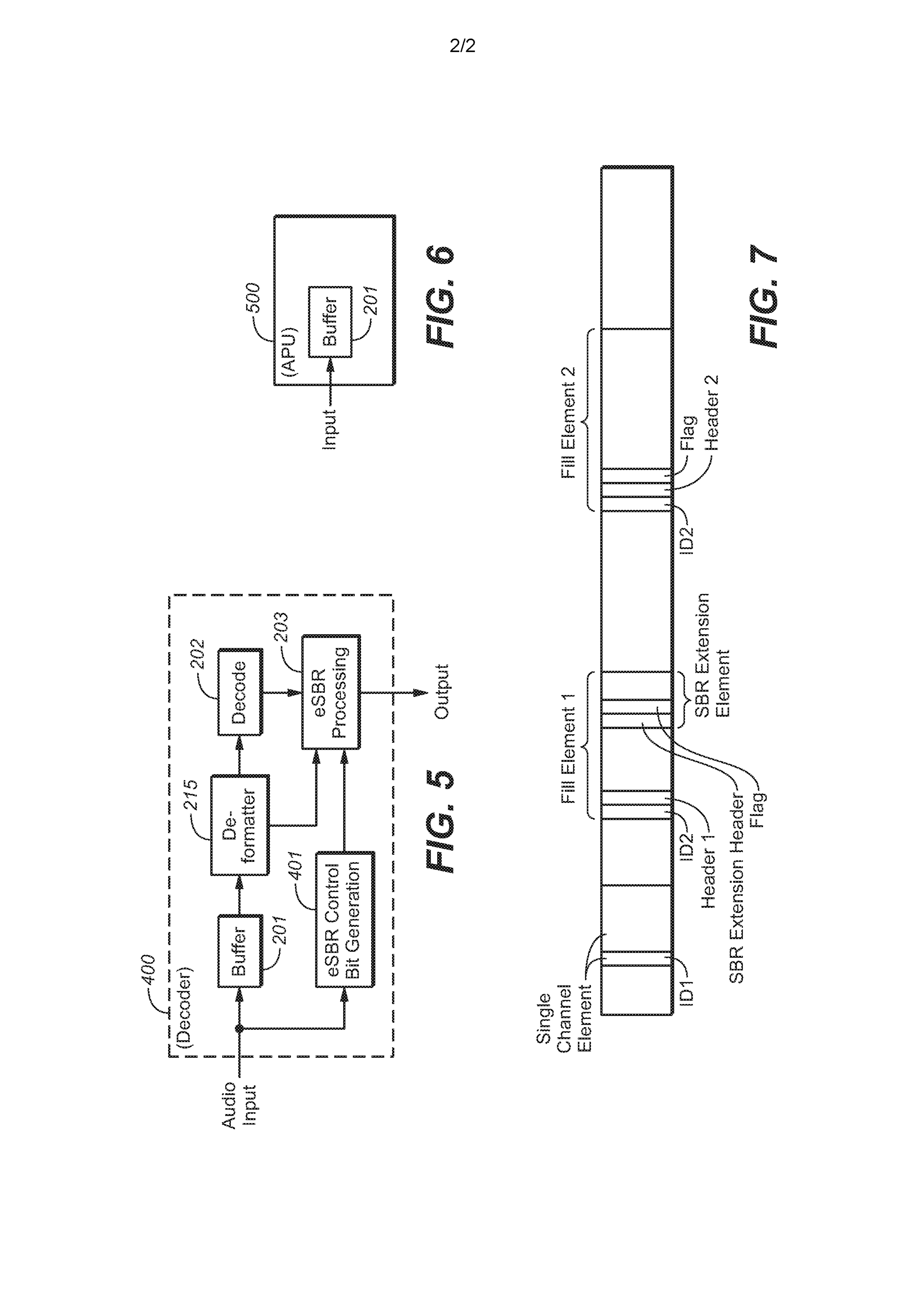
    (EN) BACKWARD-COMPATIBLE INTEGRATION OF HIGH FREQUENCY RECONSTRUCTION TECHNIQUES FOR AUDIO SIGNALS Abstract A method for decoding an encoded audio bitstream is disclosed. The method includes receiving the encoded audio bitstream and decoding the audio data to generate a decoded lowband audio signal. The method further includes extracting high frequency reconstruction metadata and filtering the decoded lowband audio signal with an analysis filterbank to generate a filtered lowband audio signal. The method also includes extracting a flag indicating whether either spectral translation or harmonic transposition is to be performed on the audio data and regenerating a highband portion of the audio signal using the filtered lowband audio signal and the high frequency reconstruction metadata in accordance with the flag. Fig. 4 - 48 -
    (58) Citations
    License Details
    (98) Annuity Details
    YearValidity StartValidity EndPayment
    Document Type Date Action
    Description (with claims) 2024-08-19T00:00:00Z
    Abstract 2024-08-19T00:00:00Z
    Event NameDateLink
    Other event occurred2018-12-30
    Other event occurred2023-12-31
    Other event occurred2023-12-31
    Other event occurred2023-12-31