Application Type
Patents
Application SubType
National Patent
(10) Registration Number and Date
Status
ACTIVE ( Document published)
(180) Expiration Date
(20) Filing Number and Date
TH 2501003498 2025.05.28
(40) Publication Number and Date
${pbin}
(86) PCT Filing Number and Date
(87) PCT Publication Number and Date
(85) National Entry Date
(30) Priority Details
US
US63/653,819
2024.05.30
(51) IPC Classes
(71/73) Applicant
(TH) เกรโค ชิลเดรนส์ โปรดักส์ อิงค์. : 6655 พีชทรี ดันวูดี โร้ด แอตแลนตา, รัฐจอร์เจีย 30328
(72) Inventor
(TH) ไคลีเชนโค, แอนดรีย์
บราวน์, เอลเลน
เรเชล เวคฟิลด์
แลงจ์, เอริก เอ.
วักเนอร์, ลีนด์เซย์
อัลลิสัน, นิโคลัส
เฮย์เบิร์น, คอนเนอร์
(74) Representative
(TH) นางสาว จิตชนก สารรักษ์ : บริษัท สพรูสัน แอนด์ เฟอร์กูสัน จำกัด เลขที่ 496-502 อาคารอัมรินทร์ พลาซ่า, ห้องเลขที่ 2, ชั้นที่ 18 เพลินจิต ตำบลลุมพินี อำเภอปทุมวัน จังหวัดกรุงเทพมหานคร
นางสาว ธันย์ชนก พันธ์ไกร : บริษัท สพรูสัน แอนด์ เฟอร์กูสัน จำกัด 496-502 อาคารเกษร อัมรินทร์ ห้องเลขที่ 2 ชั้นที่ 18 เพลินจิต ตำบลลุมพินี อำเภอปทุมวัน จังหวัดกรุงเทพมหานคร
นาย ปิยะมินทร์ ศรีประชา
(54) Title
(TH)

เปลนอนเด็กแบบติดตั้งได้

(57) Abstract
(TH)

OCR 09WP 26/08/2568
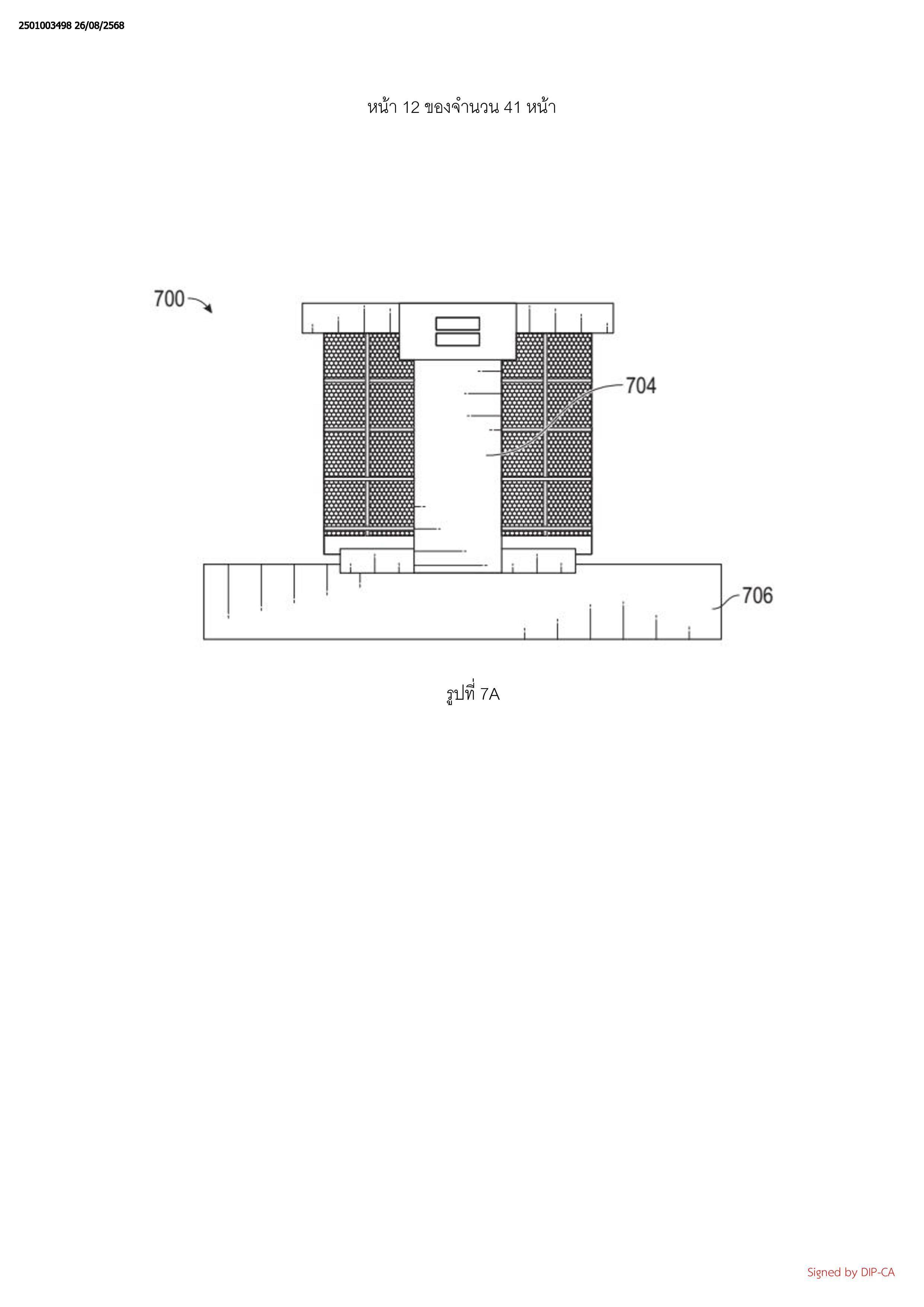
เปลนอนเด็กแบบติดตั้งได้ถูกจัดให้ เปลนอนเด็กถูกกำหนดค่าให้คงอยู่ในโครงร่างตั้งตรง,
ที่สามารถใช้งานได้เมื่อถูกติดตั้งกับโครงสร้าง เช่น เพลย์ยาร์ด(playard) อย่างไรก็ตาม เมื่อเปลนอน
เด็กถูกถอดออกจากเพลย์ยาร์ด, เปลนอนเด็กเปลี่ยนแปลงโครงร่างโดยอัตโนมัติเพื่อส่งสัญญาณ
ไปยังผู้ใช้ว่าเปลนอนเด็กไม่ควรถูกใช้อีกต่อไป (ยกตัวอย่างเช่น เปลนอนเด็กไม่ควรถูกใช้เพื่อรองรับ
เด็กในขณะที่เปลนอนเด็กอยู่บนพื้น) ยกตัวอย่างเช่น สิ่งนี้อาจถูกทำให้สำเร็จได้โดยการจัดให้มีแขน
เพื่อการรองรับบนเปลนอนเด็กที่ถูกกำหนดค่าให้ยังคงถูกล็อคอยู่ในขณะที่เปลนอนเด็กถูกติดตั้ง
อยู่บนเพลย์ยาร์ด, แต่ปลดล็อคได้, ซึ่งทำให้เปลนอนเด็กเอียงหรือพับตัวลงเมื่อเปลนอนเด็กถูก
ถอดออกจากเพลย์ยาร์ด

(58) Citations
License Details
(98) Annuity Details
YearValidity StartValidity EndPayment
Document Type Date Action
abstract 2025-10-06T00:00:00Z
description 2025-10-06T00:00:00Z
claims 2025-10-06T00:00:00Z
gazette 2025-10-06T00:00:00Z
Event NameDateLink
Application filed2025-05-28
Document published2025-10-06

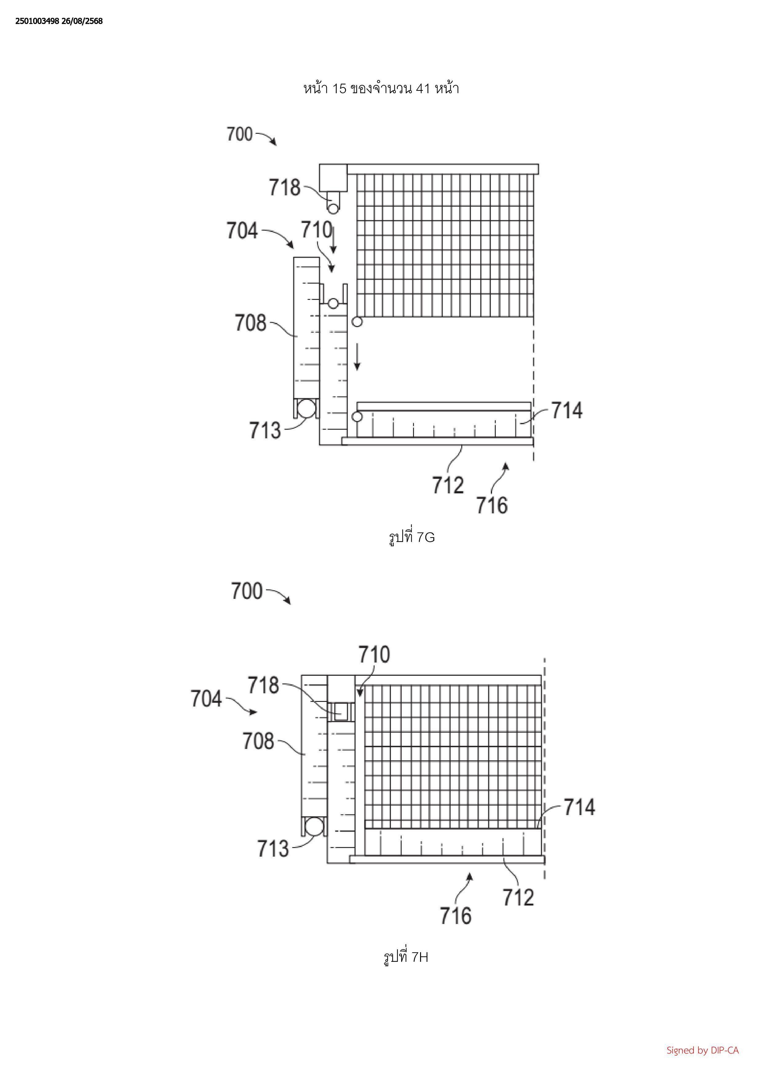
1

OCR 09WP 26/08/2568
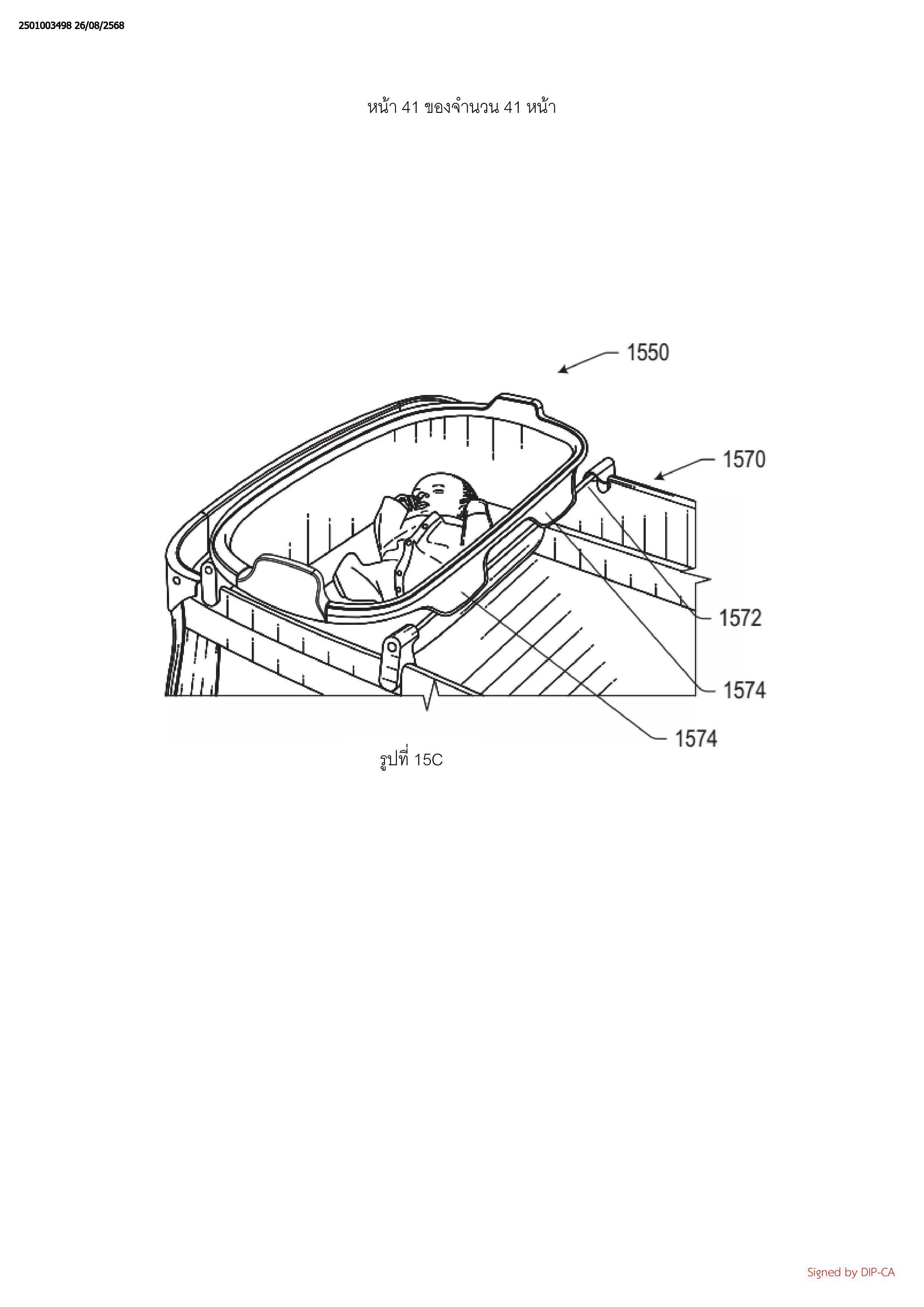
1. ระบบซึ่งประกอบรวมด้วย:
โครงสร้าง; และ
เปลนอนเด็กซึ่งประกอบรวมด้วยส่วนประกอบรองรับหนึ่งรายการหรือมากกว่า
ที่ถูกกำหนดค่าให้ถูกรองรับโดยโครงสร้าง, ที่ซึ่งเปลนอนเด็กถูกยกขึ้นจากพื้นผิวโดยโครงสร้าง,
ที่ซึ่งส่วนประกอบรองรับหนึ่งรายการหรือมากกว่าถูกกำหนดค่าให้ยึดเปลนอนเด็ก
ในตำแหน่งตั้งตรงในขณะที่เปลนอนเด็กถูกติดตั้งอยู่บนโครงสร้าง, และ
ที่ซึ่งส่วนประกอบรองรับหนึ่งรายการหรือมากกว่าถูกกำหนดค่าเพื่อทำให้เปลนอนเด็ก
ปรับให้เป็นการกำหนดค่าที่ไม่สามารถใช้เป็นพื้นผิวเพื่อการนอนเมื่อถอดเปลนอนเด็กออกจาก
โครงสร้าง
2. ระบบตามข้อถือสิทธิข้อที่ 1, ที่ซึ่งโครงสร้างคือเพลย์ยาร์ด (playard)
3. ระบบตามข้อถือสิทธิข้อที่ 1, ที่ซึ่งโครงสร้างประกอบรวมเพิ่มเติมด้วยส่วนเชื่อมต่อ
ที่ถูกกำหนดค่าให้รับส่วนประกอบรองรับที่หนึ่งของส่วนประกอบรองรับหนึ่งรายการหรือมากกว่า
ในขณะที่เปลนอนเด็กถูกติดตั้งอยู่บนโครงสร้าง
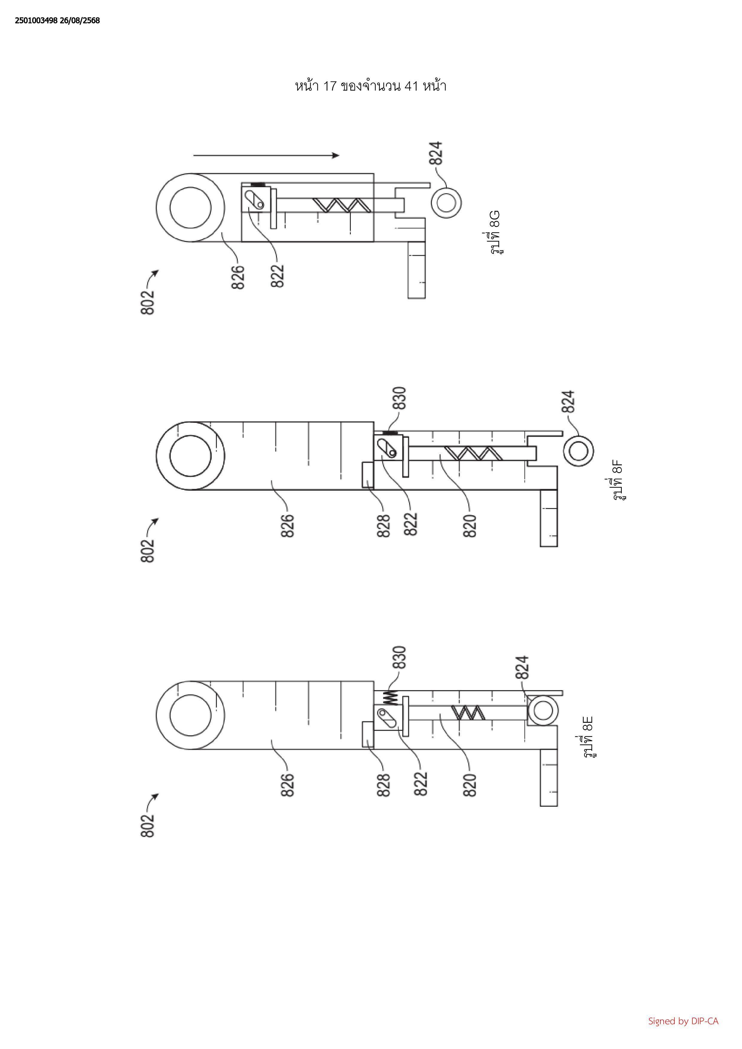
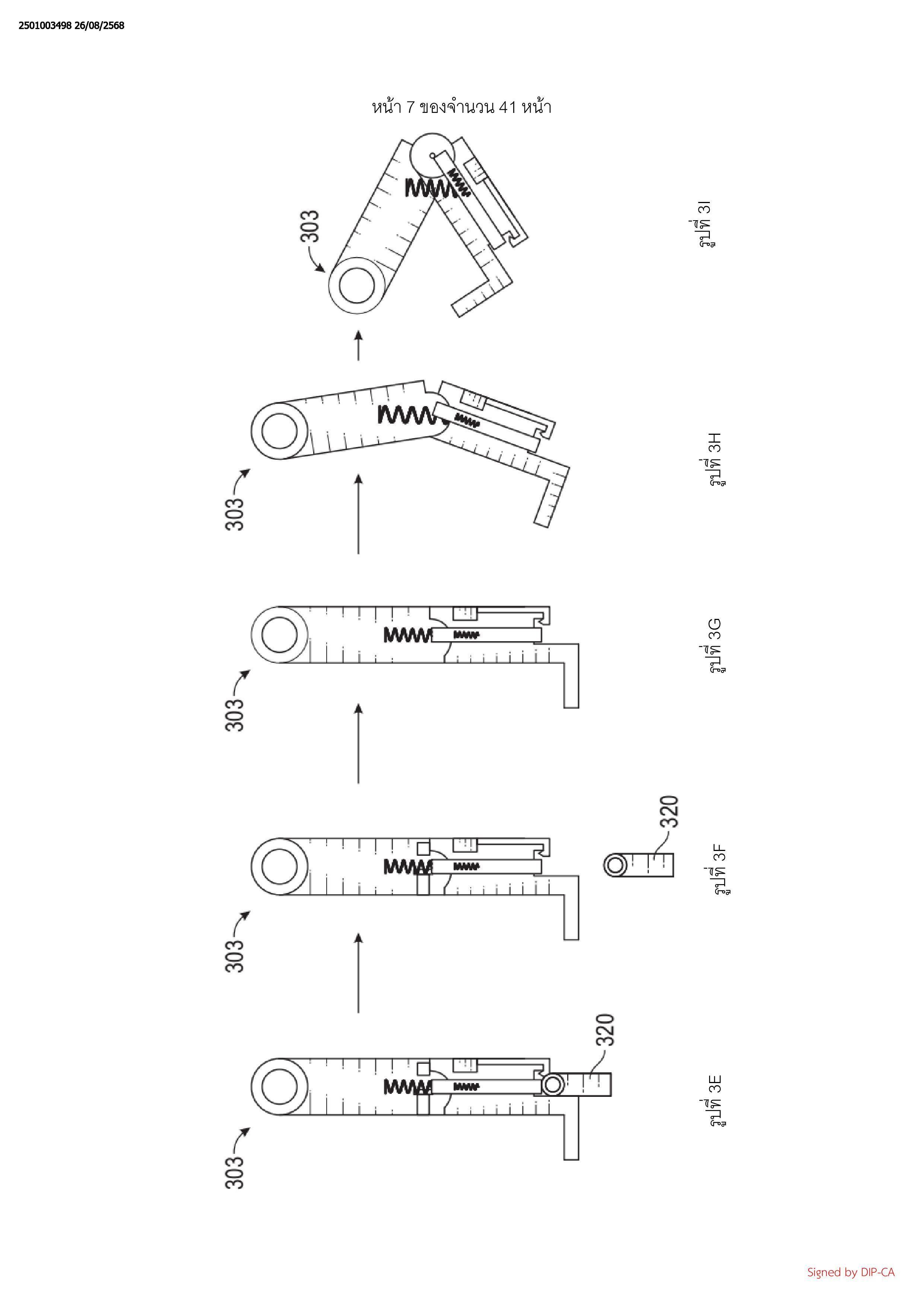
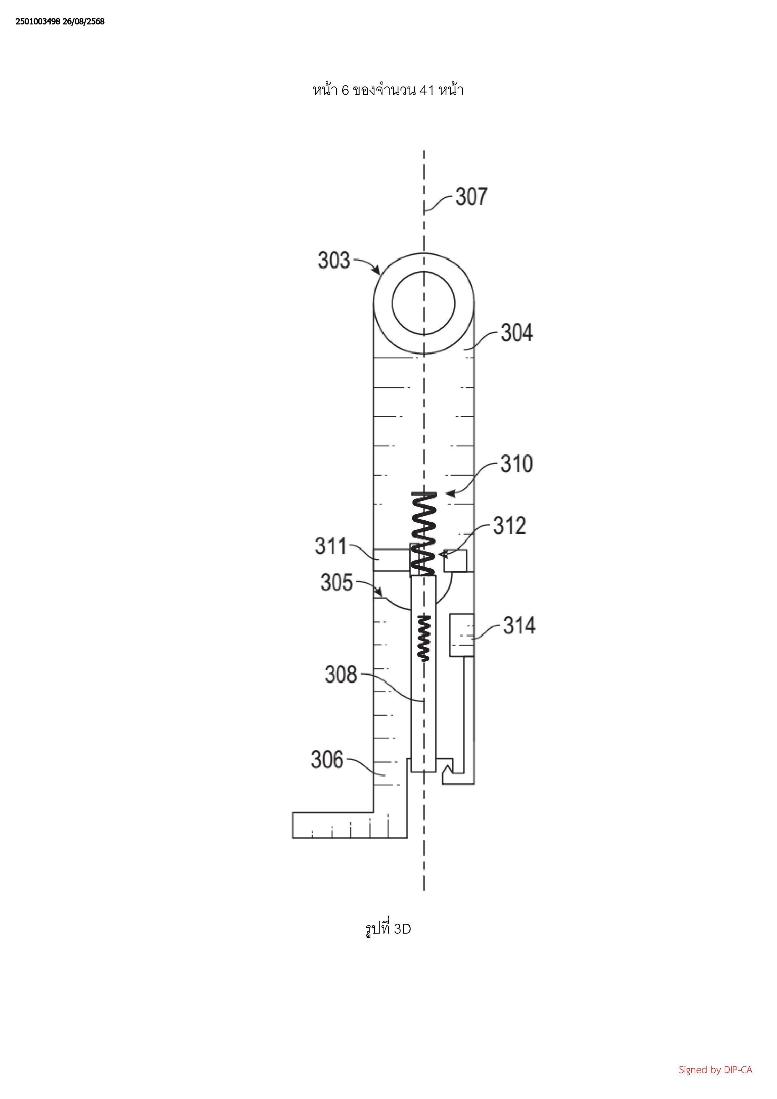
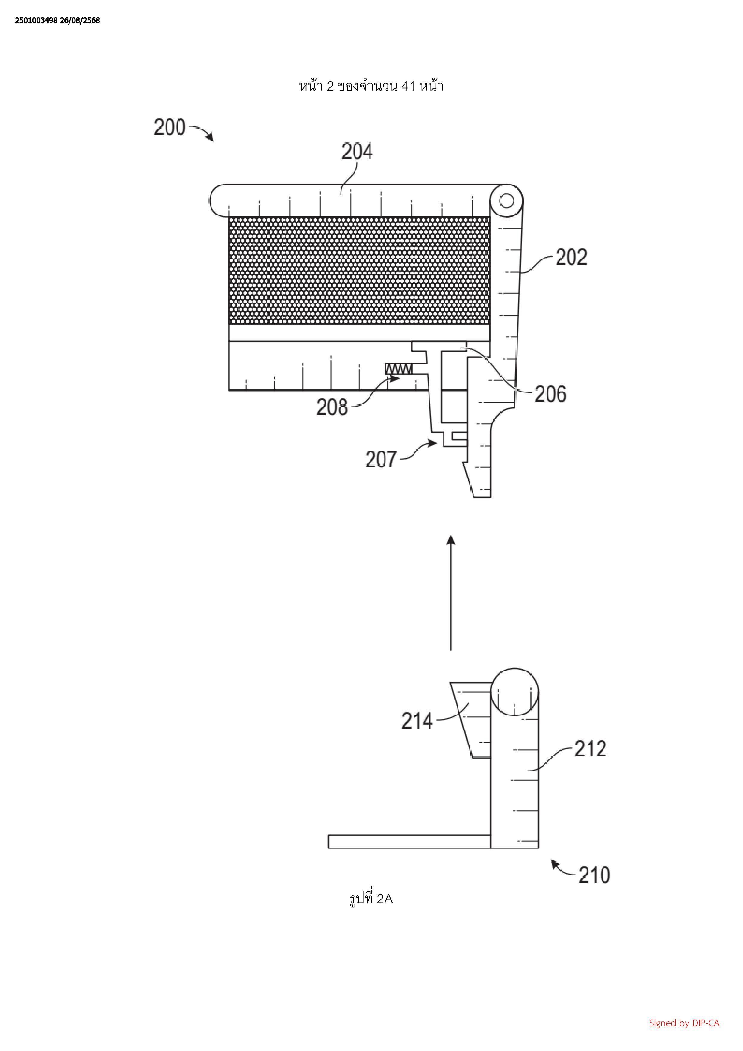
4. ระบบตามข้อถือสิทธิข้อที่ 3, ที่ซึ่งเปลนอนเด็กประกอบรวมเพิ่มเติมด้วยแขนคันโยก
แบบสปริงและสปริง, ที่ซึ่งแขนคันโยกแบบสปริงถูกกดเข้ากับส่วนเชื่อมต่อด้วยสปริงในขณะที่
เปลนอนเด็กถูกติดตั้งอยู่บนโครงสร้าง
5. ระบบตามข้อถือสิทธิข้อที่ 1, ที่ซึ่งส่วนประกอบรองรับที่หนึ่งของส่วนประกอบรองรับ
หนึ่งรายการหรือมากกว่าประกอบรวมด้วยส่วนที่หนึ่งและส่วนที่สองที่ถูกเชื่อมต่อกันผ่านทาง
บานพับ
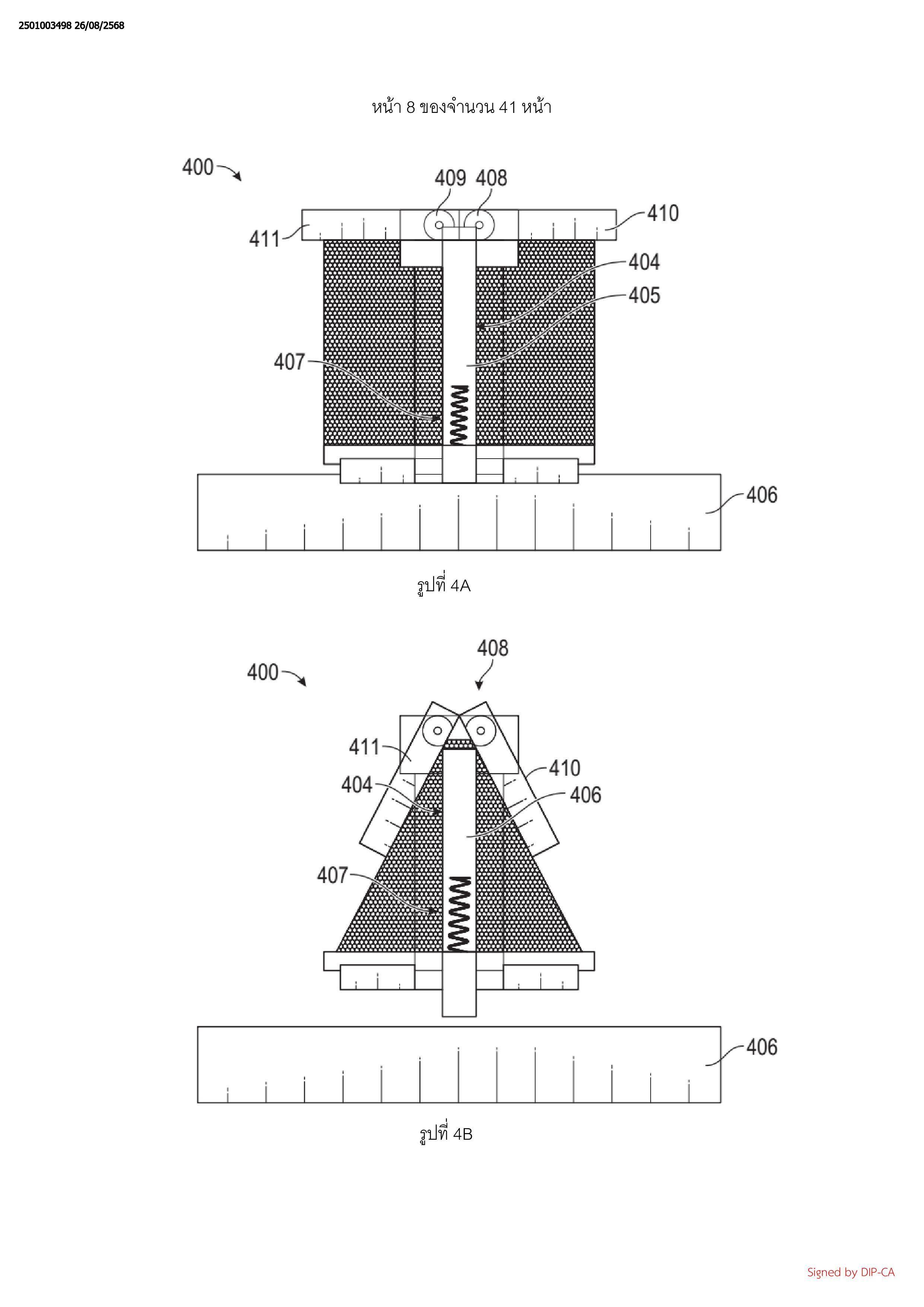
6. ระบบตามข้อถือสิทธิข้อที่ 5, ที่ซึ่งส่วนประกอบรองรับที่หนึ่งประกอบรวมเพิ่มเติมด้วย
ส่วนประกอบเพื่อการล็อคที่ถูกจัดให้ในส่วนที่สอง, สปริง, และสตรัทซึ่งรวมถึงช่องเปิด
ที่ถูกกำหนดค่าให้รับส่วนประกอบเพื่อการล็อค, ที่ซึ่งส่วนประกอบเพื่อการล็อคถูกดันขึ้นไป
ในช่องเปิดโดยโครงสร้างของโครงสร้างในขณะที่เปลนอนเด็กถูกจัดให้บนโครงสร้างของโครงสร้าง,
และที่ซึ่งส่วนประกอบเพื่อการล็อคถูกดันลงและออกจากช่องเปิดด้วยสปริงเมื่อถอดเปลนอนเด็ก
ออกจากโครงสร้าง, ที่ซึ่งส่วนประกอบรองรับที่หนึ่งหมุนรอบบานพับเมื่อส่วนประกอบเพื่อการล็อค
ถูกดันออกจากช่องเปิด
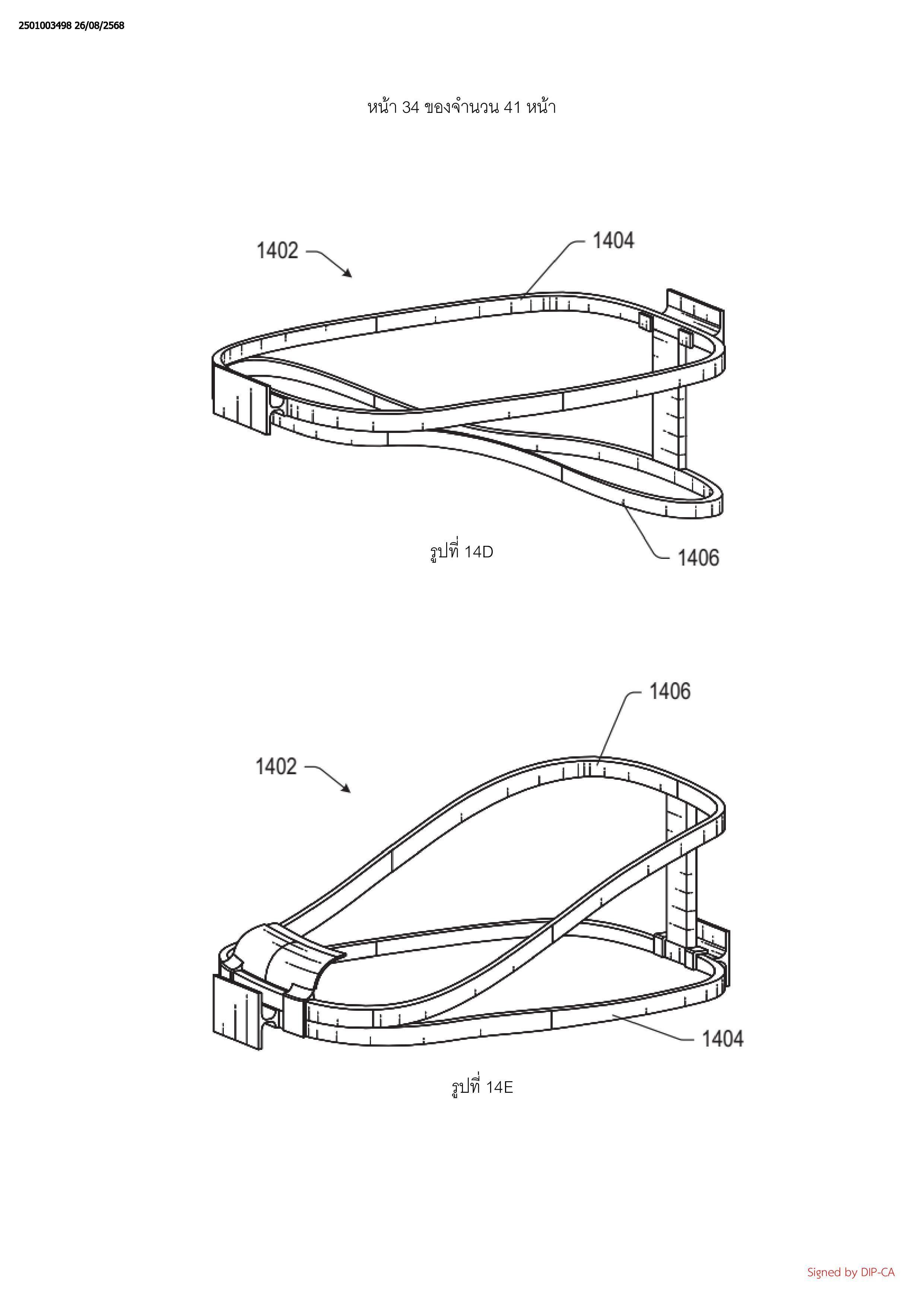
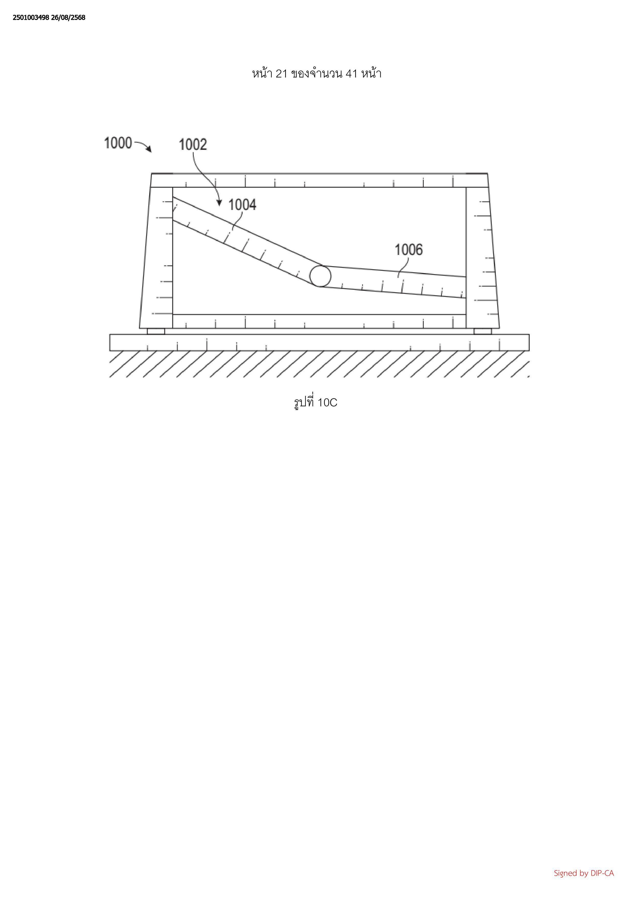
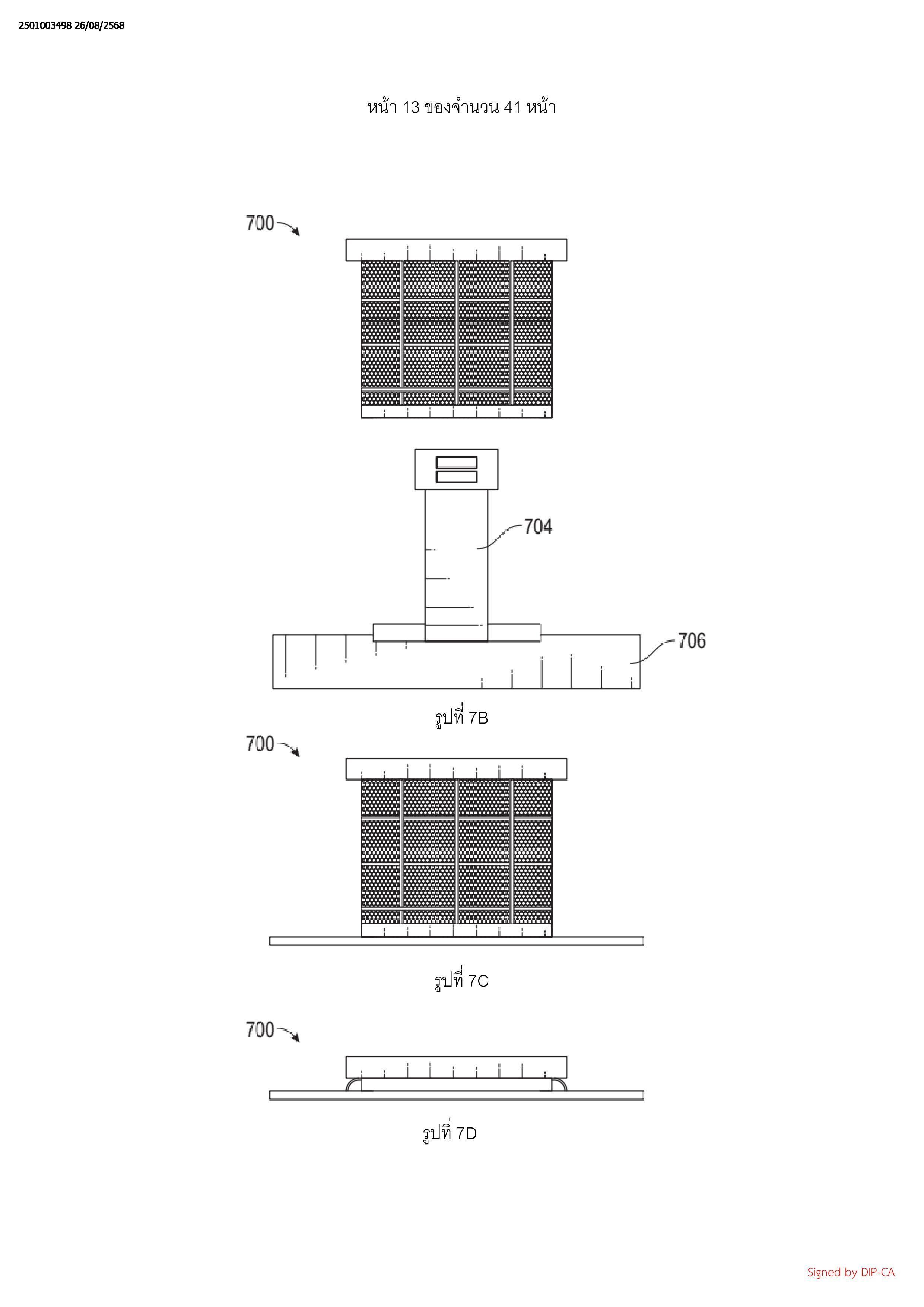
7. ระบบตามข้อถือสิทธิข้อที่ 1, ที่ซึ่งเปลนอนเด็กประกอบรวมเพิ่มเติมด้วย ราวบนซึ่งประกอบ
รวมด้วยส่วนที่หนึ่งและส่วนที่สอง, เฟืองที่หนึ่งที่ถูกเชื่อมต่อกันกับส่วนที่หนึ่ง, และเฟืองที่สอง
ที่ถูกเชื่อมต่อกันกับส่วนที่สอง, ที่ซึ่งส่วนประกอบรองรับที่หนึ่งของส่วนประกอบรองรับหนึ่งรายการ
หรือมากกว่าป้องกันการหมุนของเฟืองที่หนึ่งและเฟืองที่สองในขณะที่เปลนอนเด็กถูกติดตั้ง
อยู่บนโครงสร้าง
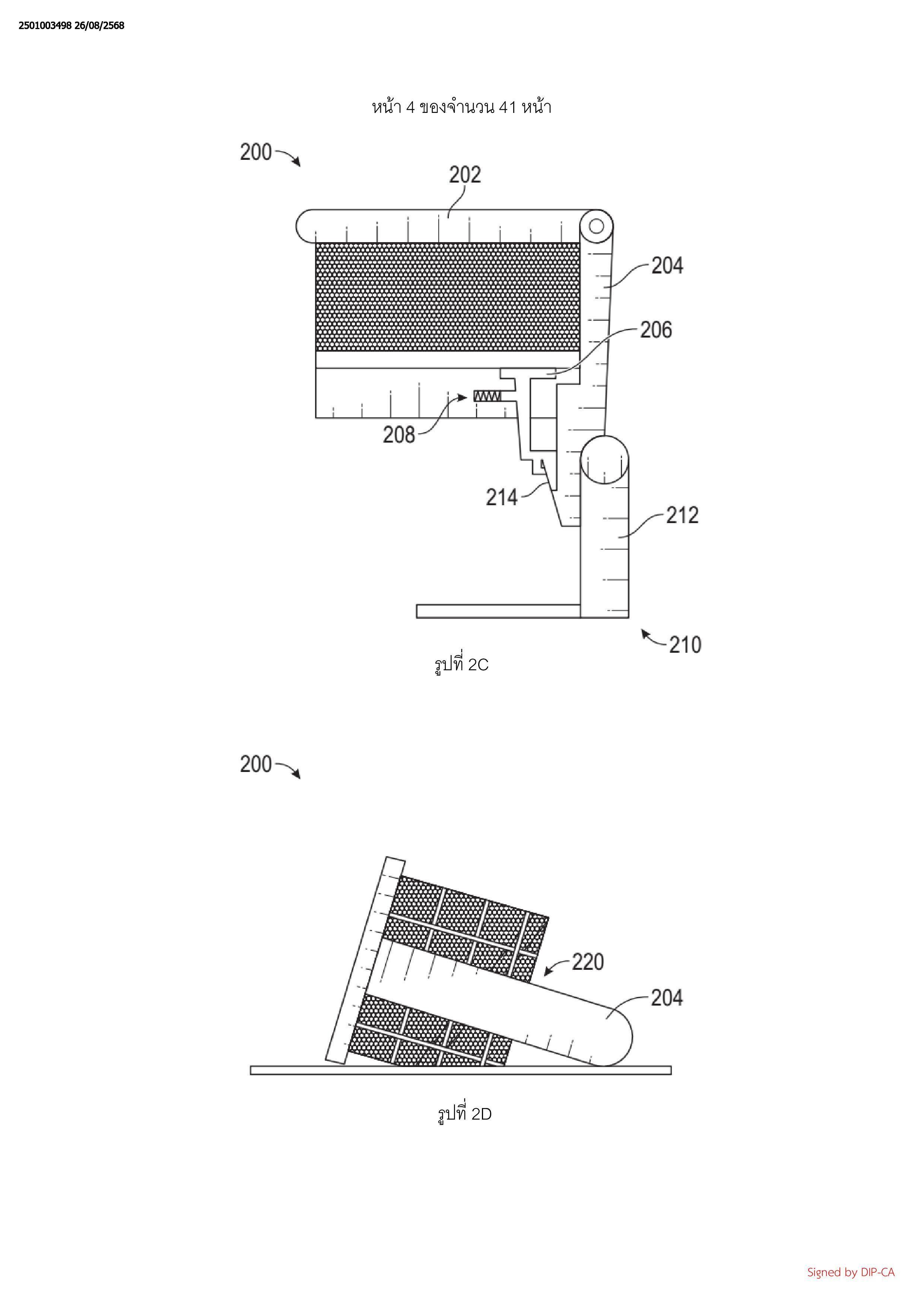
8. ระบบตามข้อถือสิทธิข้อที่ 1, ที่ซึ่งส่วนประกอบรองรับที่หนึ่งของส่วนประกอบรองรับ
หนึ่งรายการหรือมากกว่ารวมถึงสปริงที่ถูกเชื่อมต่อกันกับรอกรอบจุดเพื่อการหมุน, ที่ซึ่งสปริง
ถูกเชื่อมต่อกันกับเปลนอนเด็ก และทำให้ส่วนประกอบรองรับที่หนึ่งหมุนรอบจุดเพื่อการหมุน
9. ระบบตามข้อถือสิทธิข้อที่ 1, ที่ซึ่งส่วนประกอบรองรับที่หนึ่งของส่วนประกอบรองรับ
หนึ่งรายการหรือมากกว่าคือขาแบบยืดหดได้ซึ่งรวมถึงส่วนที่หนึ่งและส่วนที่สอง, ที่ซึ่งขาแบบยืดหด
ได้ถูกล็อคในโครงร่างที่ขยายได้ในขณะที่เปลนอนเด็กถูกติดตั้งอยู่บนโครงสร้าง, และที่ซึ่ง
ขาแบบยืดหดได้พับตัวลงเมื่อเปลนอนเด็กถูกถอดออกจากโครงสร้าง
10. เปลนอนเด็กซึ่งประกอบรวมด้วย:
ส่วนประกอบรองรับหนึ่งรายการหรือมากกว่าที่ถูกกำหนดค่าให้ยึดกับโครงสร้างเพื่อติดตั้ง
เปลนอนเด็กบนโครงสร้างในลักษณะที่เปลนอนเด็กถูกยกขึ้นจากพื้นผิว,
ที่ซึ่งส่วนประกอบรองรับหนึ่งรายการหรือมากกว่าถูกกำหนดค่าให้ยึดเปลนอนเด็ก
ในตำแหน่งตั้งตรงในขณะที่เปลนอนเด็กถูกติดตั้งอยู่บนโครงสร้าง, และ
ที่ซึ่งส่วนประกอบรองรับหนึ่งรายการหรือมากกว่าถูกกำหนดค่าเพื่อทำให้เปลนอนเด็ก
ปรับให้เป็นการกำหนดค่าที่ไม่สามารถใช้เป็นพื้นผิวเพื่อการนอนเมื่อถอดเปลนอนเด็กออก
จากโครงสร้าง
11. เปลนอนเด็กตามข้อถือสิทธิข้อที่ 10, ที่ซึ่งส่วนประกอบรองรับที่หนึ่งของส่วนประกอบรองรับ
หนึ่งรายการหรือมากกว่าถูกกำหนดค่าให้ถูกรองรับโดยส่วนเชื่อมต่อของโครงสร้างในขณะที่
เปลนอนเด็กถูกติดตั้งอยู่บนโครงสร้าง
12. เปลนอนเด็กตามข้อถือสิทธิข้อที่ 11, ซึ่งประกอบรวมเพิ่มเติมด้วยแขนคันโยกแบบสปริงและ
สปริง, ที่ซึ่งแขนคันโยกแบบสปริงถูกกดเข้ากับส่วนเชื่อมต่อด้วยสปริงในขณะที่เปลนอนเด็ก
ถูกติดตั้งอยู่บนโครงสร้าง
13. เปลนอนเด็กตามข้อถือสิทธิข้อที่ 10, ที่ซึ่งส่วนประกอบรองรับที่หนึ่งของส่วนประกอบรองรับ
หนึ่งรายการหรือมากกว่าประกอบรวมด้วยส่วนที่หนึ่งและส่วนที่สองที่ถูกเชื่อมต่อกัน
ผ่านทางบานพับ
14. เปลนอนเด็กตามข้อถือสิทธิข้อที่ 13, ที่ซึ่งส่วนประกอบรองรับที่หนึ่งประกอบรวมเพิ่มเติม
ด้วยส่วนประกอบเพื่อการล็อคที่ถูกจัดให้ในส่วนที่สอง, สปริง, และสตรัทซึ่งรวมถึงช่องเปิด
ที่ถูกกำหนดค่าให้รับส่วนประกอบเพื่อการล็อค, ที่ซึ่งส่วนประกอบเพื่อการล็อคถูกดันขึ้นไปใน
ช่องเปิดโดยราวบนของโครงสร้างในขณะที่เปลนอนเด็กถูกจัดให้บนราวบนของโครงสร้าง, และที่ซึ่ง
ส่วนประกอบเพื่อการล็อคถูกดันลงและออกจากช่องเปิดด้วยสปริงเมื่อถอดเปลนอนเด็กออกจาก
โครงสร้าง, ที่ซึ่งส่วนประกอบรองรับที่หนึ่งหมุนรอบบานพับเมื่อส่วนประกอบเพื่อการล็อคถูกดันออก
จากช่องเปิด
15. เปลนอนเด็กตามข้อถือสิทธิข้อที่ 13, ซึ่งประกอบรวมเพิ่มเติมด้วยราวบนซึ่งประกอบ
รวมด้วยส่วนที่หนึ่งและส่วนที่สอง, เฟืองที่หนึ่งที่ถูกเชื่อมต่อกันกับส่วนที่หนึ่ง, และเฟืองที่สอง
ที่ถูกเชื่อมต่อกันกับส่วนที่สอง, ที่ซึ่งส่วนประกอบรองรับที่หนึ่งของส่วนประกอบรองรับหนึ่งรายการ
หรือมากกว่าป้องกันการหมุนของเฟืองที่หนึ่งและเฟืองที่สองในขณะที่เปลนอนเด็กถูกติดตั้งอยู่บน
โครงสร้าง
16. เปลนอนเด็กตามข้อถือสิทธิข้อที่ 13, ที่ซึ่งส่วนประกอบรองรับที่หนึ่งของส่วนประกอบรองรับ
หนึ่งรายการหรือมากกว่ารวมถึงสปริงที่ถูกเชื่อมต่อกันกับรอกรอบจุดเพื่อการหมุน, ที่ซึ่งสปริง
ถูกเชื่อมต่อกันกับเปลนอนเด็ก และทำให้ส่วนประกอบรองรับที่หนึ่งหมุนรอบจุดเพื่อการหมุน
17. เปลนอนเด็กตามข้อถือสิทธิข้อที่ 13, ที่ซึ่งส่วนประกอบรองรับที่หนึ่งของส่วนประกอบรองรับ
หนึ่งรายการหรือมากกว่าคือขาแบบยืดหดได้ซึ่งรวมถึงส่วนที่หนึ่งและส่วนที่สอง, ที่ซึ่งขาแบบยืดหด
ได้ถูกล็อคในโครงร่างที่ขยายได้ในขณะที่เปลนอนเด็กถูกติดตั้งอยู่บนโครงสร้าง, และที่ซึ่งขา
แบบยืดหดได้พับตัวลงเมื่อเปลนอนเด็กถูกถอดออกจากโครงสร้าง
18. เปลนอนเด็กตามข้อถือสิทธิข้อที่ 13, ที่ซึ่งโครงสร้างคือเพลย์ยาร์ด
19. ระบบซึ่งประกอบรวมด้วย:
เปลนอนเด็ก; และ
โครงสร้างซึ่งประกอบรวมด้วยส่วนประกอบรองรับหนึ่งรายการหรือมากกว่าที่ถูกกำหนด
ค่าให้รับเปลนอนเด็ก
ที่ซึ่งส่วนประกอบรองรับหนึ่งรายการหรือมากกว่าถูกกำหนดค่าให้ยึดเปลนอนเด็ก
ในตำแหน่งตั้งตรงในขณะที่เปลนอนเด็กถูกจัดให้บนโครงสร้าง, และ
ที่ซึ่งเปลนอนเด็กพับตัวลงจากตำแหน่งตั้งตรงเมื่อถอดออกจากโครงสร้าง
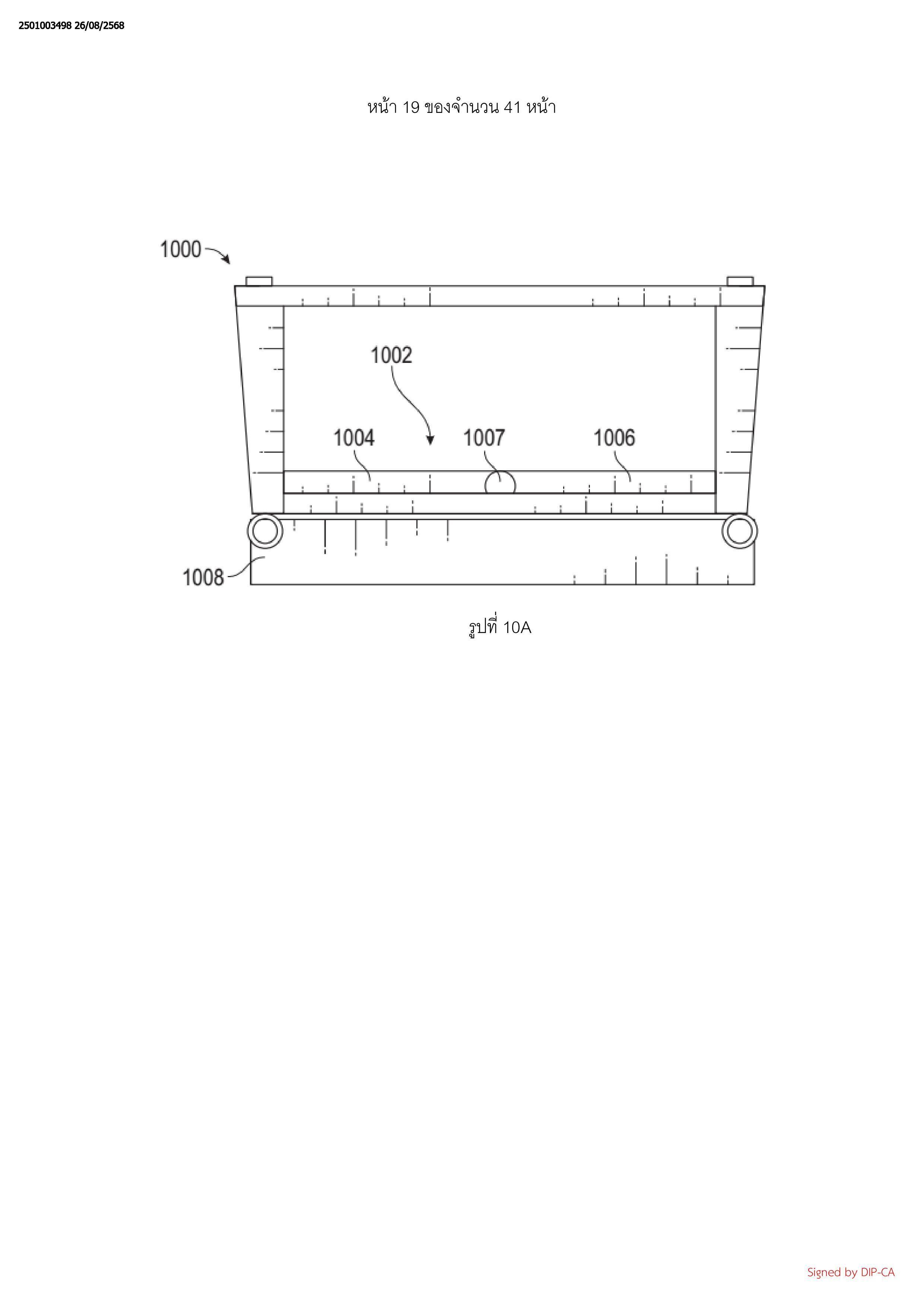
20. ระบบตามข้อถือสิทธิข้อที่ 19, ที่ซึ่งส่วนประกอบรองรับหนึ่งรายการหรือมากกว่าประกอบ
รวมด้วยโพรงที่หนึ่งที่ถูกกำหนดค่าให้รับราวบนของโครงสร้าง, และที่ซึ่งส่วนประกอบรองรับ
หนึ่งรายการหรือมากกว่าประกอบรวมเพิ่มเติมด้วยโพรงที่สองที่ถูกกำหนดค่าให้รับส่วนที่ยื่นออกมา
บนเปลนอนเด็ก