Application Type
National
Application SubType
(10) Registration Number and Date
10202404106S
Status
ACTIVE ( Other event occurred)
(180) Expiration Date
(20) Filing Number and Date
SG 10202404106S 2024.12.30
(40) Publication Number (Gazette Number) and Date
(86) PCT Filing Number and Date
(87) PCT Publication Number and Date
(85) National Entry Date
(30) Priority Details
US
US62/474,278
2017.03.21
(51) IPC Classes
    (72) Inventor
    ISHIKAWA, Kiyotake : 2100 Linwood Avenue, 21C Fort Lee, NJ 07024<br/>United States of America<br/>
    HAJJAR, Roger J. : 46 Knoll Road Tenafly, NY 07670<br/>United States of America<br/>
    (74) Representative
    (54) Title
    (57) Abstract
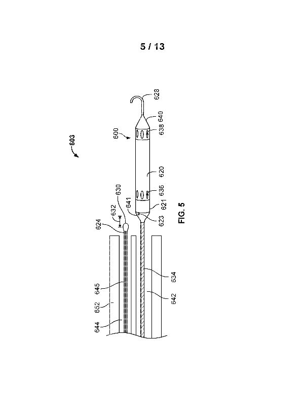
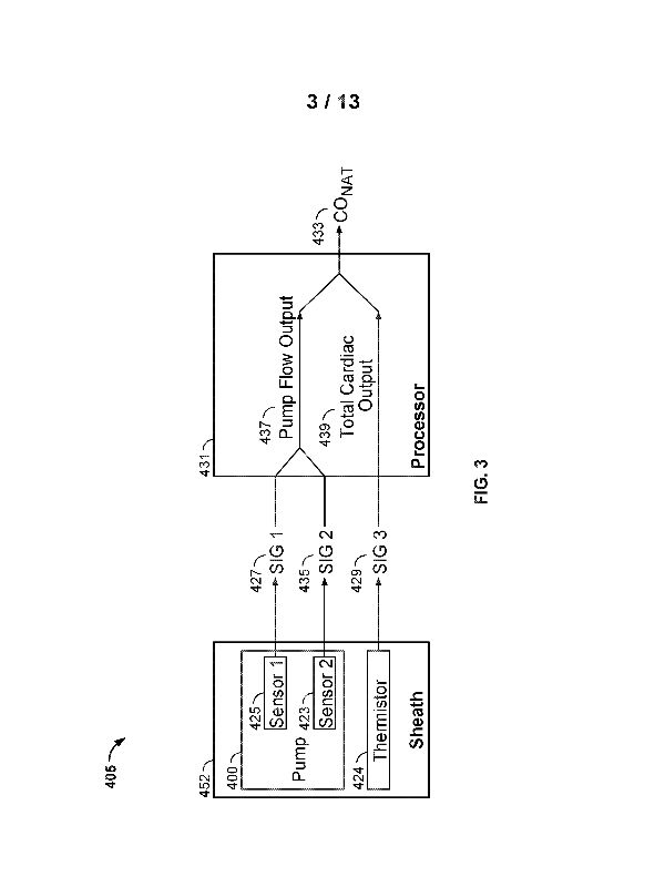
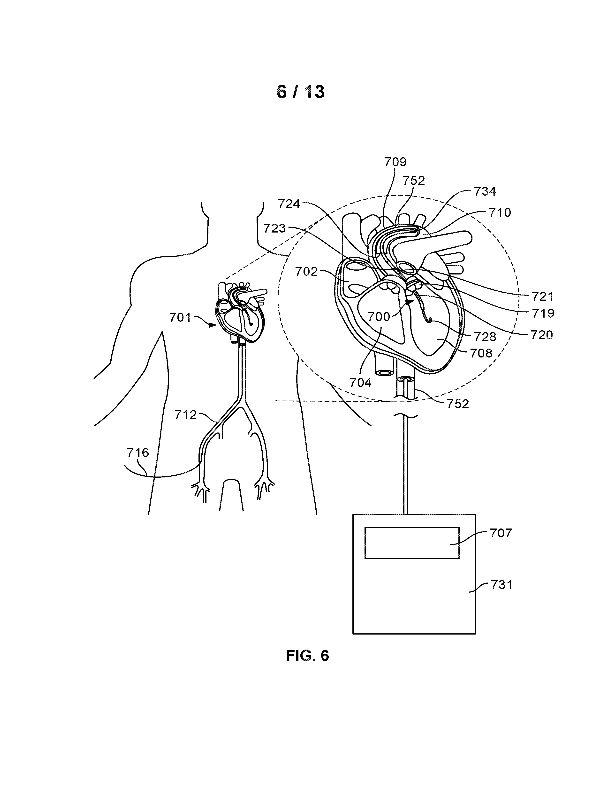
    (EN) SYSTEM AND METHOD FOR DETERMINING NATIVE CARDIAC OUTPUT WHILE CONTINUING SUPPORT TO THE HEART WITH A CATHETER- MOUNTED INTRACARDIAC BLOOD PUMP HAVING AN IMBEDDED THERMISTOR Abstract [74] A system and method for determining native cardiac output of a heart while maintaining operation of an intracardiac blood pump includes determining a current drawn by the pump motor, a blood pressure within the ascending aorta, and a change in the blood temperature based on a thermodilution technique. An intracardiac blood pump positioned in the aorta includes at least one sensor for determining a motor current and blood pressure and a thermistor for determining the change in blood temperature after a precise fluid bolus has been introduced into the vasculature. A processor receives current, pressure, and temperature measurements, and calculates a pump flow output and a total cardiac output from which the native cardiac output is calculated. The native cardiac output and other clinically relevant variables derived from the measurements inform decisions related to continued therapeutic care, including increasing or decreasing cardiac assistance provided by the intracardiac pump. [Fig. 3] - 33 -
    (58) Citations
    License Details
    (98) Annuity Details
    YearValidity StartValidity EndPayment
    Document Type Date Action
    Abstract 2024-12-30T00:00:00Z
    Description (with claims) 2024-12-30T00:00:00Z
    Event NameDateLink
    Other event occurred2018-03-21
    Other event occurred2025-01-23
    Other event occurred2025-01-23