Application Type
Patents
Application SubType
National Patent
(10) Registration Number and Date
Status
ACTIVE ( Search and examination requested)
(180) Expiration Date
(20) Filing Number and Date
TH 2501006853 2025.10.07
(40) Publication Number (Gazette Number) and Date
(6/2569)
2026.02.09
(86) PCT Filing Number and Date
(87) PCT Publication Number and Date
(85) National Entry Date
(30) Priority Details
JP
JP2024-178457
2024.10.10
(51) IPC Classes
(72) Inventor
(TH) เคนตะ คิมูระ : ซี/โอ โตโยต้า จิโดชา คาบูชิกิ ไคชา, 1, โตโยต้า-โช, โตโยต้า-ชิ, ไอจิ-เคน, 471-8571
โทโมอากิ โคชิคาวะ
(74) Representative
(TH) นาง ดารานีย์ วัจนะวุฒิวงศ์ : บริษัท ติลลิกีแอนด์กิบบินส์ อินเตอร์เนชั่นแนล จำกัด เลขที่ 1011 อาคารศุภาลัย แกรนด์ ทาวเวอร์ ชั้น 20-26 พระราม 3 ตำบลช่องนนทรี อำเภอยานนาวา จังหวัดกรุงเทพมหานคร
นางสาว สนธยา สังขพงศ์ : แห่ง บริษัท ติลลิกีแอนด์กิบบินส์ อินเตอร์เนชั่นแนล จำกัด เลขที่ 1011 อาคารศุภาลัย แกรนด์ ทาวเวอร์ ชั้นที่ 20-26 พระราม 3 ตำบลช่องนนทรี อำเภอยานนาวา จังหวัดกรุงเทพมหานคร
นางสาว สุคนธ์ทิพย์ จิตมงคลทอง : บริษัท ติลลิกีแอนด์กิบบินส์ อินเตอร์เนชั่นแนล จำกัด เลขที่ 1011 อาคารศุภาลัย แกรนด์ ทาวเวอร์ ชั้นที่ 20-26 พระราม 3 ตำบลช่องนนทรี อำเภอยานนาวา จังหวัดกรุงเทพมหานคร
(54) Title
(TH)

อุปกรณ์จัดเก็บกำลังไฟฟ้า

(57) Abstract
(TH)

OCR 09WP 24/12/2568
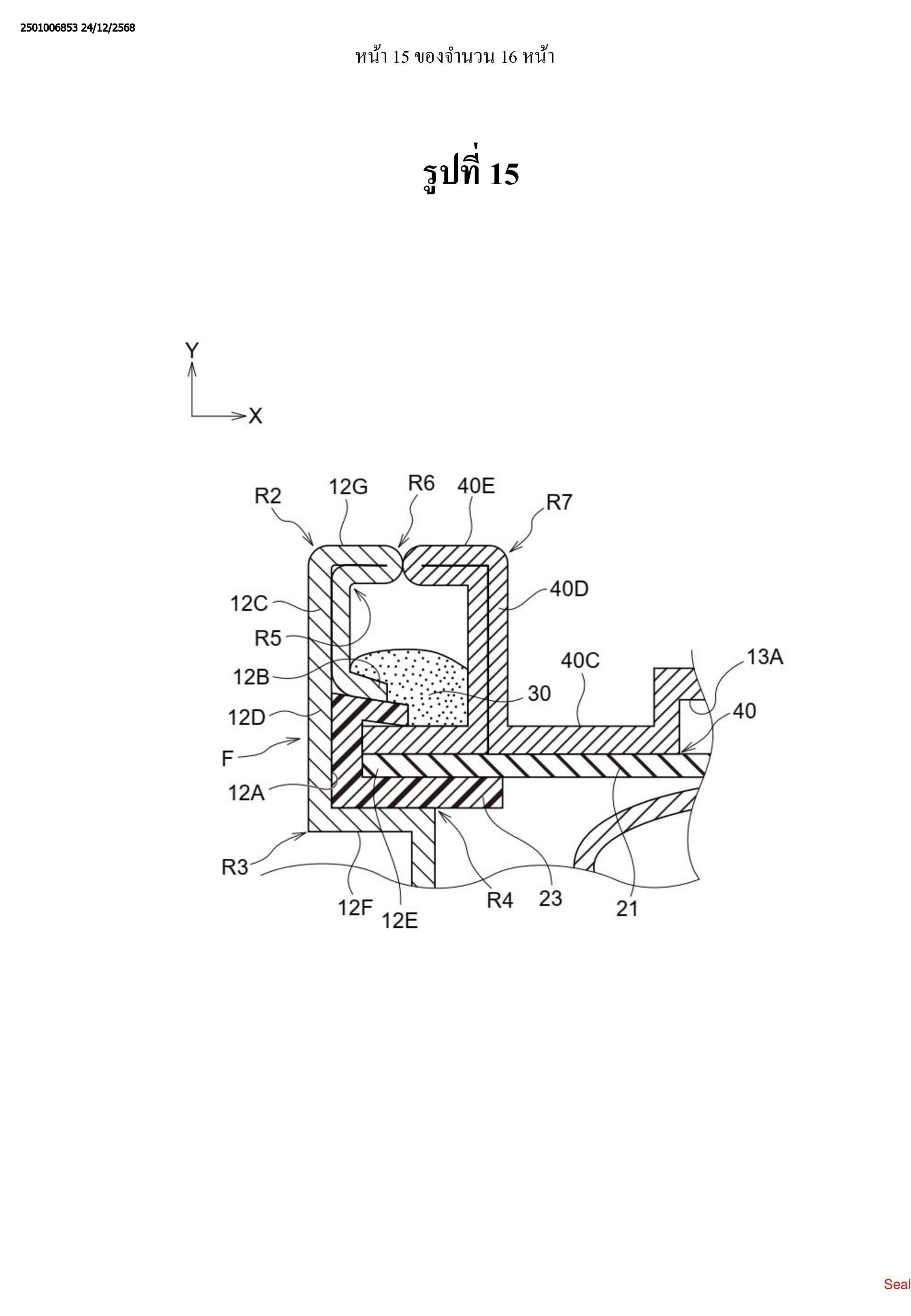
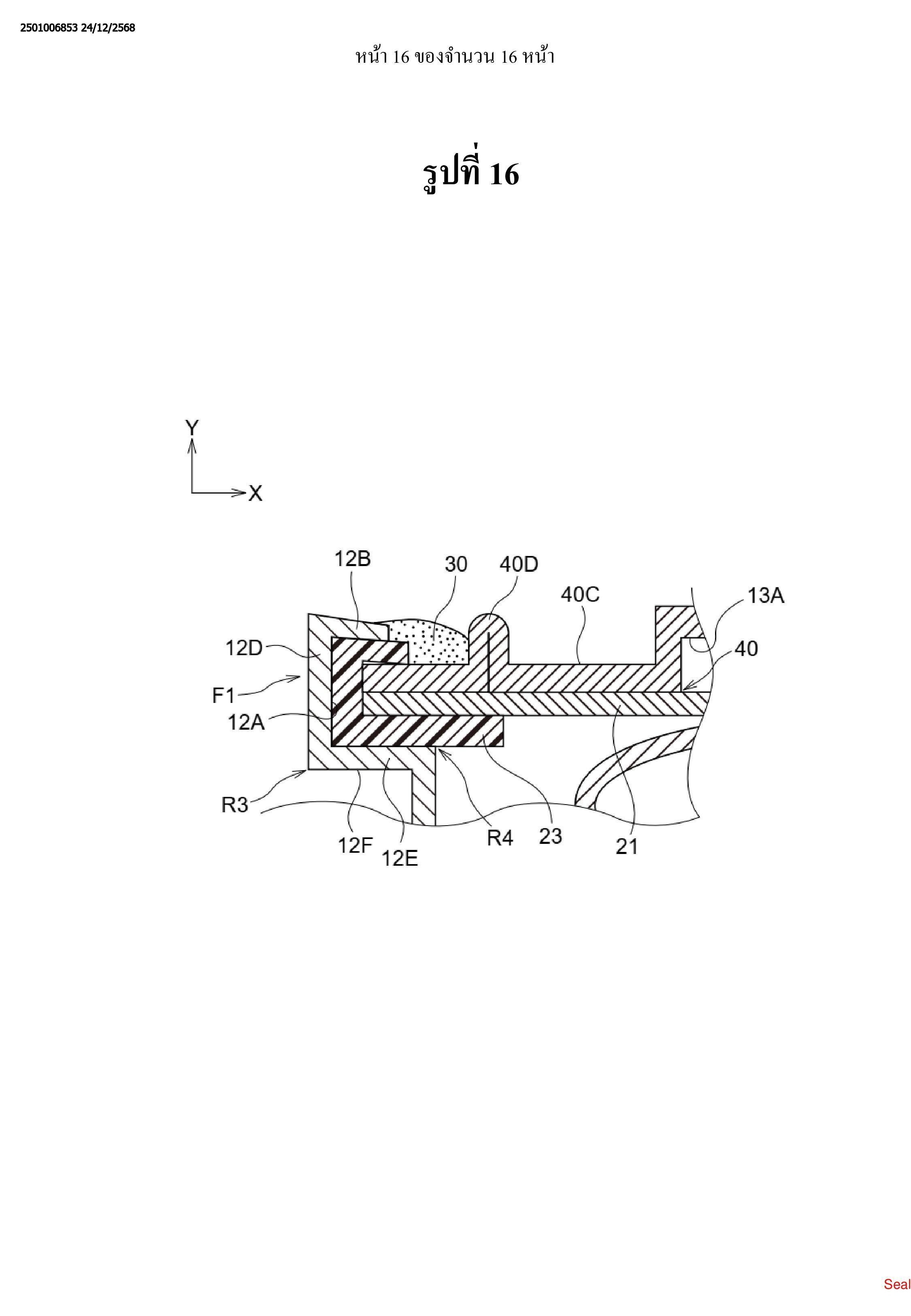
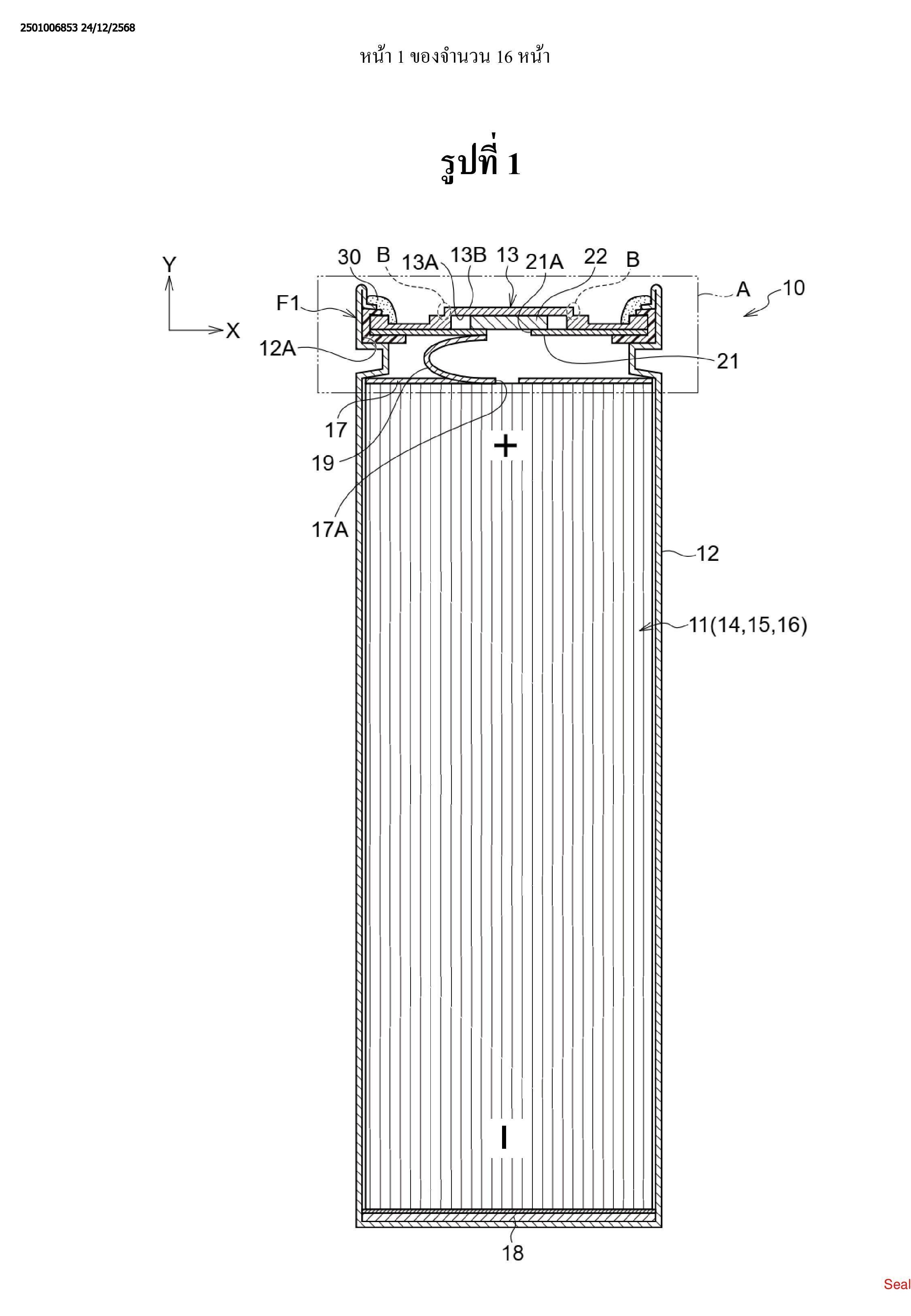
อุปกรณ์จัดเก็บกำลังไฟฟ้าจะรวมถึงกล่องบรรจุรูปทรงกระบอกซึ่งบรรจุชุดชิ้นส่วนประกอบ
ของอิเล็กโทรดไว้ภายในและมีแกนศูนย์กลางซึ่งต่อขยายออกไปตามทิศที่หนึ่ง, ลิ้นนิรภัยซึ่งถูกจัดเรียง
ไว้เพื่อให้เหลื่อมทับกับแกนศูนย์กลางเมื่อมองตามทิศที่หนึ่ง, ฝาปิดซึ่งถูกยึดตรึงไว้ตรงกล่องบรรจุ
โดยช่วงที่ถูกบีบย้ำซึ่งบีบย้ำกล่องบรรจุจากด้านที่หนึ่งในทิศที่หนึ่งของกล่องบรรจุโดยที่ฝาปิด
จะรวมถึงผนังกั้นรูปวงแหวนซึ่งต่อขยายออกไปยังด้านที่หนึ่งและถูกจัดเตรียมไว้ให้อยู่ค่อนไปทาง
ด้านนอกตามทิศของรัศมีมากกว่าลิ้นนิรภัยและอยู่ค่อนไปทางด้านในตามทิศของรัศมีมากกว่าช่วงที่ถูก
บีบย้ำและชิ้นส่วนประกอบสำหรับปิดผนึกซึ่งปิดผนึกช่วงที่ถูกบีบย้ำตรงด้านนอกตามทิศของรัศมี
ของผนังกั้น, ชิ้นส่วนประกอบสำหรับปิดผนึกถูกจัดเรียงไว้ตรงด้านที่สองในทิศที่หนึ่งของกล่องบรรจุ
มากกว่าส่วนปลายของกล่องบรรจุตรงด้านที่หนึ่ง

(58) Citations
License Details
(98) Annuity Details
YearValidity StartValidity EndPayment
Document Type Date Action
claims 2026-02-09T00:00:00Z
description 2026-02-09T00:00:00Z
abstract 2026-02-09T00:00:00Z
gazette 2026-02-09T00:00:00Z
Event NameDateLink
Application filed2025-10-07
Document published2026-02-09
Search and examination requested2026-02-12

1

OCR 09WP 24/12/2568
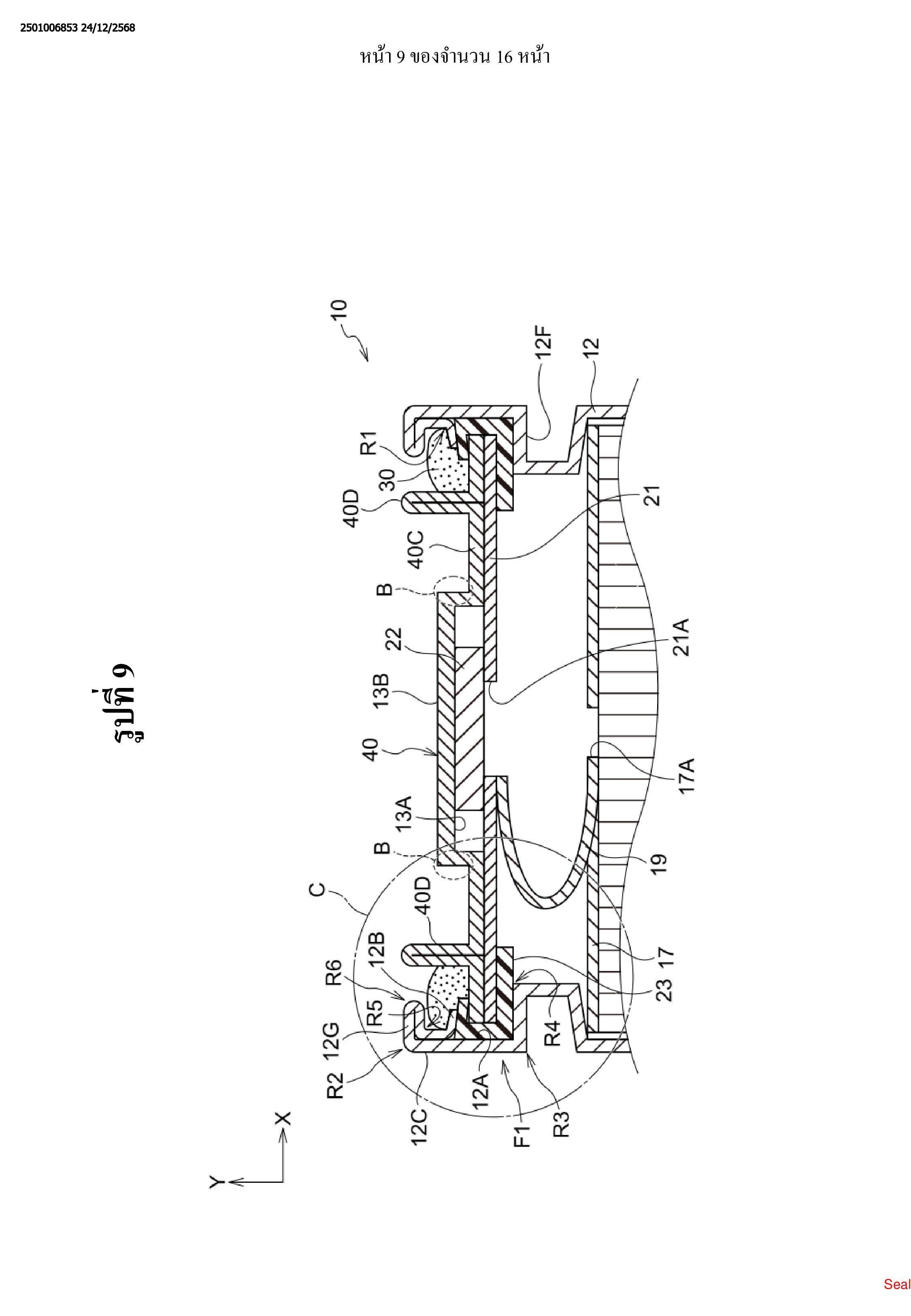
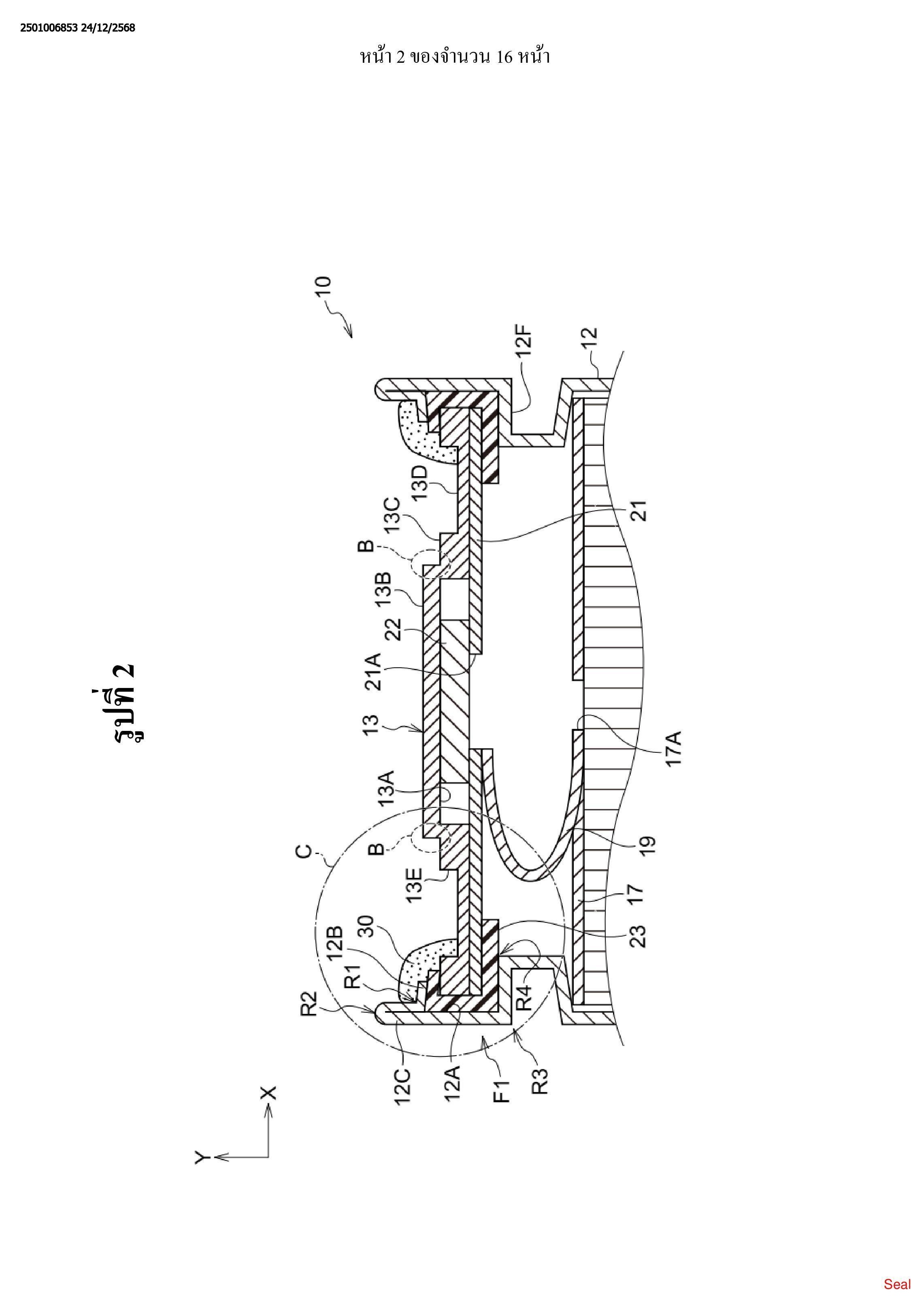
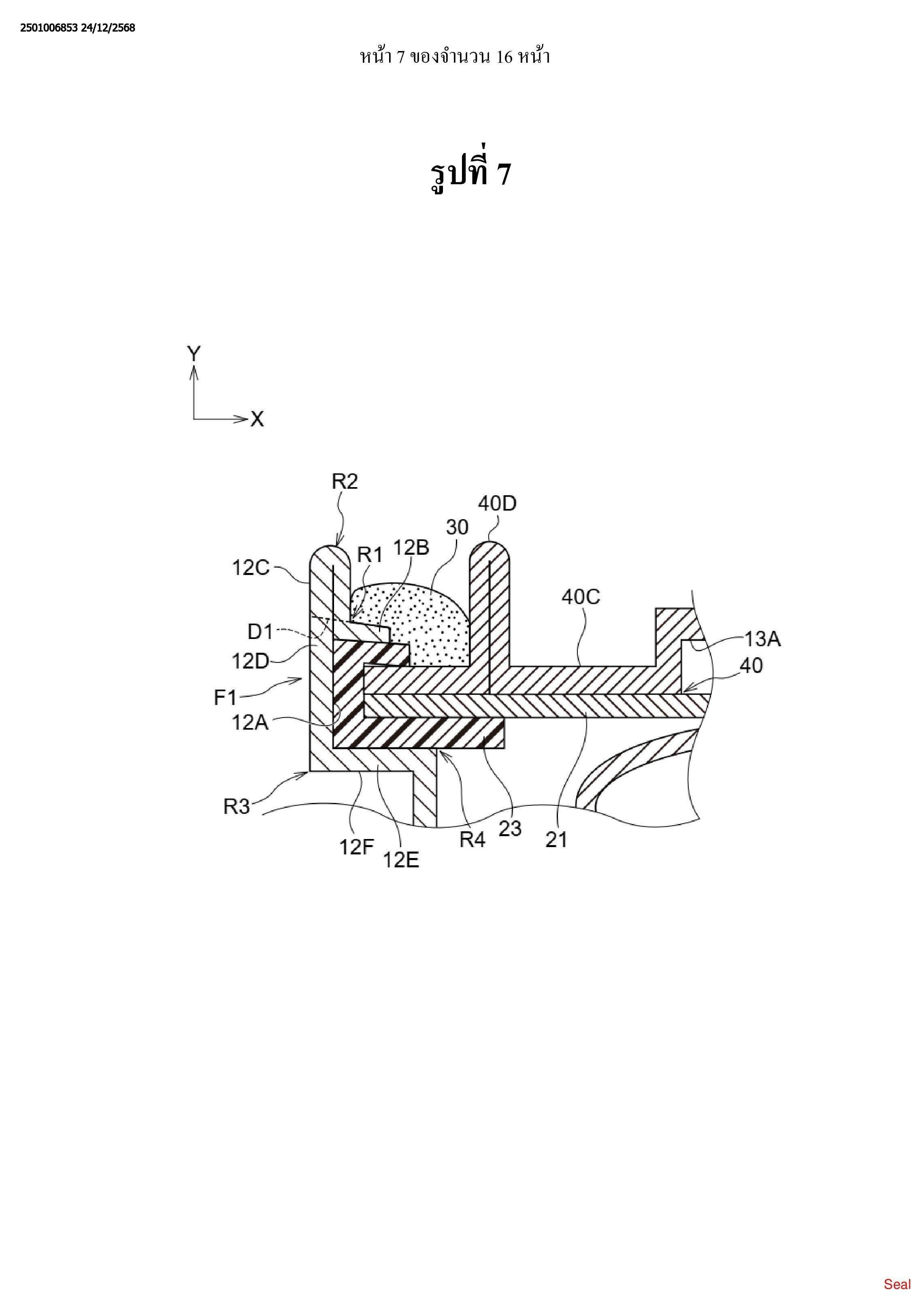
1. อุปกรณ์จัดเก็บกำลังไฟฟ้าซึ่งประกอบรวมด้วย
กล่องบรรจุรูปทรงกระบอกซึ่งบรรจุชุดชิ้นส่วนประกอบของอิเล็กโทรดไว้ภายในและ
มีแกนศูนย์กลางซึ่งต่อขยายออกไปตามทิศที่หนึ่ง
ลิ้นนิรภัยซึ่งถูกจัดเรียงไว้เพื่อให้เหลื่อมทับกับแกนศูนย์กลางเมื่อมองตามทิศที่หนึ่ง
ฝาปิดซึ่งถูกยึดตรึงไว้ตรงกล่องบรรจุโดยช่วงที่ถูกบีบย้ำซึ่งบีบย้ำกล่องบรรจุจากด้าน
ที่หนึ่งในทิศที่หนึ่งของกล่องบรรจุโดยที่ฝาปิดจะรวมถึงผนังกั้นรูปวงแหวนซึ่งต่อขยายออกไปยัง
ด้านที่หนึ่งและถูกจัดเตรียมไว้ให้อยู่ค่อนไปทางด้านนอกตามทิศของรัศมีมากกว่าลิ้นนิรภัยและอยู่
ค่อนไปทางด้านในตามทิศของรัศมีมากกว่าช่วงที่ถูกบีบย้ำและ
ชิ้นส่วนประกอบสำหรับปิดผนึกซึ่งปิดผนึกช่วงที่ถูกบีบย้ำตรงด้านนอกตามทิศของรัศมี
ของผนังกั้นโดยที่ชิ้นส่วนประกอบสำหรับปิดผนึกถูกจัดเรียงไว้ตรงด้านที่สองในทิศที่หนึ่งของกล่อง
บรรจุมากกว่าส่วนปลายของกล่องบรรจุตรงด้านที่หนึ่ง
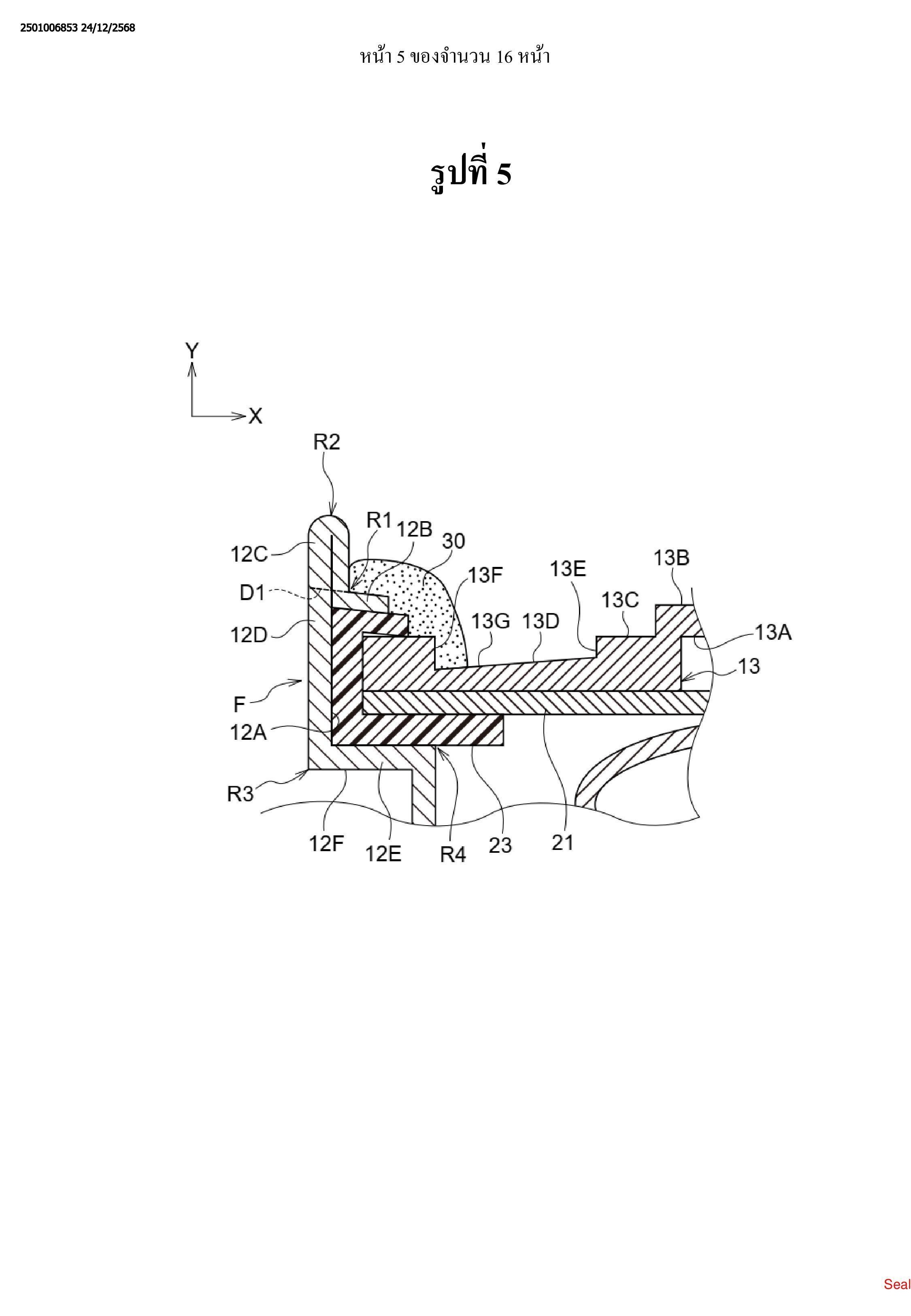
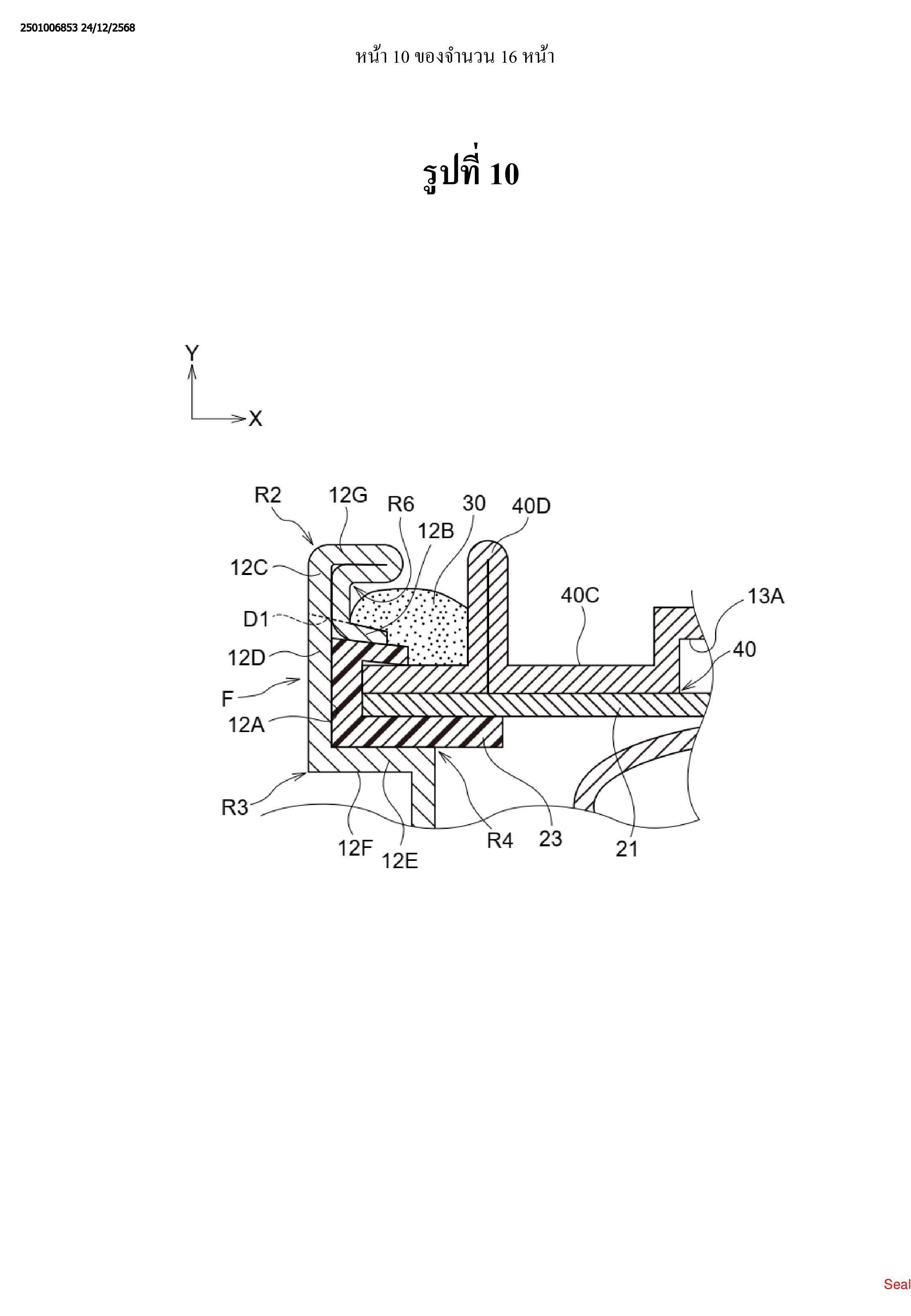
2. อุปกรณ์จัดเก็บกำลังไฟฟ้าของข้อถือสิทธิที่ 1 โดยที่
ฝาปิดจะรวมถึงซอกรูปวงแหวนซึ่งถูกจัดเรียงไว้ให้แยกออกไปตามทิศของรัศมีจาก
ลิ้นนิรภัยเมื่อมองตามทิศที่หนึ่งและเปิดออกตรงด้านที่หนึ่งในทิศที่หนึ่งและ
ผนังกั้นถูกจัดโครงแบบโดยผนังด้านในตรงด้านในตามทิศของรัศมีของซอก
3. อุปกรณ์จัดเก็บกำลังไฟฟ้าของข้อถือสิทธิที่ 1 หรือ 2 โดยที่เมื่อมองตามทิศที่ตั้งฉากกับ
ทิศที่หนึ่ง ส่วนปลายของช่วงที่ถูกบีบย้ำตรงด้านนอกตามทิศของรัศมีอยู่ห่างจากฝาปิดมากกว่า
ส่วนปลายของช่วงที่ถูกบีบย้ำตรงด้านในตามทิศของรัศมี
4. อุปกรณ์จัดเก็บกำลังไฟฟ้าของข้อถือสิทธิที่ 3 โดยที่เมื่อมองตามทิศที่ตั้งฉากกับทิศที่หนึ่ง
ช่วงที่ถูกบีบย้ำจะอยู่ห่างจากฝาปิดโดยไล่เรียงจากส่วนปลายตรงด้านในตามทิศของรัศมีไปยังส่วน
ปลายตรงด้านนอกตามทิศของรัศมี
5. อุปกรณ์จัดเก็บกำลังไฟฟ้าของข้อใดข้อหนึ่งของข้อถือสิทธิที่ 1 ถึง 4 โดยที่ฝาปิดจะรวมถึง
ส่วนลาดเอียงซึ่งเอียงไปในทิศที่ออกห่างจากกล่องบรรจุโดยไล่เรียงจากขอบโดยรอบของฝาปิดไปยัง
ผนังกั้นตามทิศของรัศมี
6. อุปกรณ์จัดเก็บกำลังไฟฟ้าของข้อใดข้อหนึ่งของข้อถือสิทธิที่ 1 ถึง 5 โดยที่
กล่องบรรจุรวมถึงผนังกั้นที่สองซึ่งเป็นรูปวงแหวนซึ่งต่อขยายจากช่วงที่ถูกบีบย้ำไปยัง
ด้านที่หนึ่งและ
ชิ้นส่วนประกอบสำหรับปิดผนึกถูกจัดเรียงให้อยู่ค่อนไปทางด้านที่สองมากกว่าส่วนปลาย
ของผนังกั้นที่สองตรงด้านที่หนึ่ง
7. อุปกรณ์จัดเก็บกำลังไฟฟ้าของข้อถือสิทธิที่ 6 ซึ่งประกอบรวมเพิ่มเติมด้วย
ผนังกั้นที่สามซึ่งถูกจัดเตรียมไว้ตรงส่วนปลายของผนังกั้นที่สองตรงด้านที่หนึ่งและ
ต่อขยายออกไปยังด้านในตามทิศของรัศมีโดยที่
ชิ้นส่วนประกอบสำหรับปิดผนึกถูกจัดเรียงไว้ให้อยู่ค่อนไปทางด้านที่สองมากกว่าผนังกั้น
ที่สาม
8. อุปกรณ์จัดเก็บกำลังไฟฟ้าของข้อใดข้อหนึ่งของข้อถือสิทธิที่ 1 ถึง 7 ซึ่งประกอบรวม
เพิ่มเติมด้วย
ผนังกั้นที่สี่ซึ่งถูกจัดเตรียมไว้ตรงส่วนปลายของผนังกั้นตรงด้านที่หนึ่งและต่อขยาย
ออกไปยังด้านนอกตามทิศของรัศมีโดยที่
ชิ้นส่วนประกอบสำหรับปิดผนึกถูกจัดเรียงไว้ให้อยู่ค่อนไปทางด้านที่สองมากกว่าผนังกั้น
ที่สี่
9. อุปกรณ์จัดเก็บกำลังไฟฟ้าของข้อถือสิทธิที่ 7 หรือ 8 โดยที่
ผนังกั้นที่สามและผนังกั้นที่สี่ถูกกำหนดตำแหน่งให้ขยับห่างออกจากกันในทิศที่หนึ่ง
โดยที่ส่วนต่างๆ ของผนังกั้นที่สามและผนังกั้นที่สี่จะเหลื่อมทับกันเมื่อมองตามทิศที่หนึ่ง
10. อุปกรณ์จัดเก็บกำลังไฟฟ้าของข้อถือสิทธิที่ 7 หรือ 8 โดยที่
ผนังกั้นที่สามและผนังกั้นที่สี่ถูกเชื่อมต่อเข้าด้วยกันตรงส่วนปลายตามทิศของรัศมีของ
สิ่งดังกล่าวเมื่อมองตามทิศที่หนึ่ง