Application Type
Patents
Application SubType
National Patent
(10) Registration Number and Date
Status
ACTIVE ( Document published)
(180) Expiration Date
(20) Filing Number and Date
TH 2501003926 2025.06.13
(40) Publication Number and Date
${pbin}
(86) PCT Filing Number and Date
(87) PCT Publication Number and Date
(85) National Entry Date
(30) Priority Details
TW
TW113148308
2024.12.12
(51) IPC Classes
(71/73) Applicant
(TH) แอลลี่ โลจิสติกส์ พร็อพเพอร์ตี้ โค., แอลทีดี. : ชั้น 2, เลขที่ 37,39, แอลเอ็น. 258, รุยกวง อาร์ดี., เน่ยหู ดิสท์., ไทเป ซิตี้ 114,
(72) Inventor
(TH) กัว, หยู-เฉิน : ชั้น 2, เลขที่ 37,39, แอลเอ็น. 258, รุยกวง อาร์ดี., เน่ยหู ดิสท์., ไทเป ซิตี้ 114,
ชาง, เชี่ยน-ไท
หลิน, ไค-หลุน
หลิว, เป่ย-เจีย
หวัง, ชี-ห่าว
(74) Representative
(TH) นางสาว จุฑาจิต ศรีประสาธน์ : บริษัท ไอแอลซีที จำกัด เลขที่ 175 ชั้น 18 อาคารสาธรซิตี้ทาวเวอร์ สาทรใต้ ตำบลทุ่งมหาเมฆ อำเภอสาทร จังหวัดกรุงเทพมหานคร
นางสาว รตินุช ก้าวหน้าชัยมงคล : บริษัท ไอแอลซีที จำกัด เลขที่ 175 อาคารสาธรซิตี้ทาวเวอร์ ชั้น 18 สาทรใต้ ตำบลทุ่งมหาเมฆ อำเภอสาทร จังหวัดกรุงเทพมหานคร
นาย รัชพงษ์ ทองดีแท้
(54) Title
(TH)

อุปกรณ์และวิธีการเพื่อรองรับการรับและขนถ่ายสินค้าด้วยรถพ่วงและรถนำทางอัตโนมัติ

(57) Abstract
(TH) ------08/09/2568------(OCR) OCR 10KLอุปกรณ์รวมถึงบริเวณขาเข้าที่มีตำแหน่งขาเข้า และตำแหน่งที่ตั้งค่าไว้ล่วงหน้า, อุปกรณ์ตรวจหาสินค้าที่ถูกจัดวางอยู่ในบริเวณขาเข้าสำหรับการตรวจหาสินค้าที่ตำแหน่งขาเข้า, อุปกรณ์ยกสินค้าที่ถูกจัดวางอยู่ในบริเวณขาเข้า, อุปกรณ์เคลื่อนที่สินค้าที่ถูกจัดวางอยู่ติดกับอุปกรณ์ยกสินค้าและบริเวณขาออกที่ถูกจัดวางอยู่ติดกับบริเวณขาเข้า เมื่อสินค้าอยู่ที่ตำแหน่งขาเข้า อุปกรณ์ยกสินค้าจะยกสินค้าจากตำแหน่งขาเข้าไปยังตำแหน่งที่ตั้งค่าไว้ล่วงหน้า เมื่อสินค้าอยู่ที่ตำแหน่งที่ตั้งค่าไว้ล่วงหน้า อุปกรณ์เคลื่อนที่สินค้าจะรับสินค้าที่ตำแหน่งที่ตั้งค่าไว้ล่วงหน้าและส่งออกสินค้าไปตามทิศทางขาเข้า บริเวณขาออกรับสินค้าและส่งออกมันไปยังยานพาหนะนำทางอัตโนมัติ ------------

OCR 07AP

ไม่มีข้อมูลบทสรุปการประดิษฐ์

(58) Citations
License Details
(98) Annuity Details
YearValidity StartValidity EndPayment
Document Type Date Action
abstract 2025-11-10T00:00:00Z
claims 2025-11-10T00:00:00Z
gazette 2025-11-10T00:00:00Z
description 2025-11-10T00:00:00Z
Event NameDateLink
Application filed2025-06-13
Document published2025-11-10

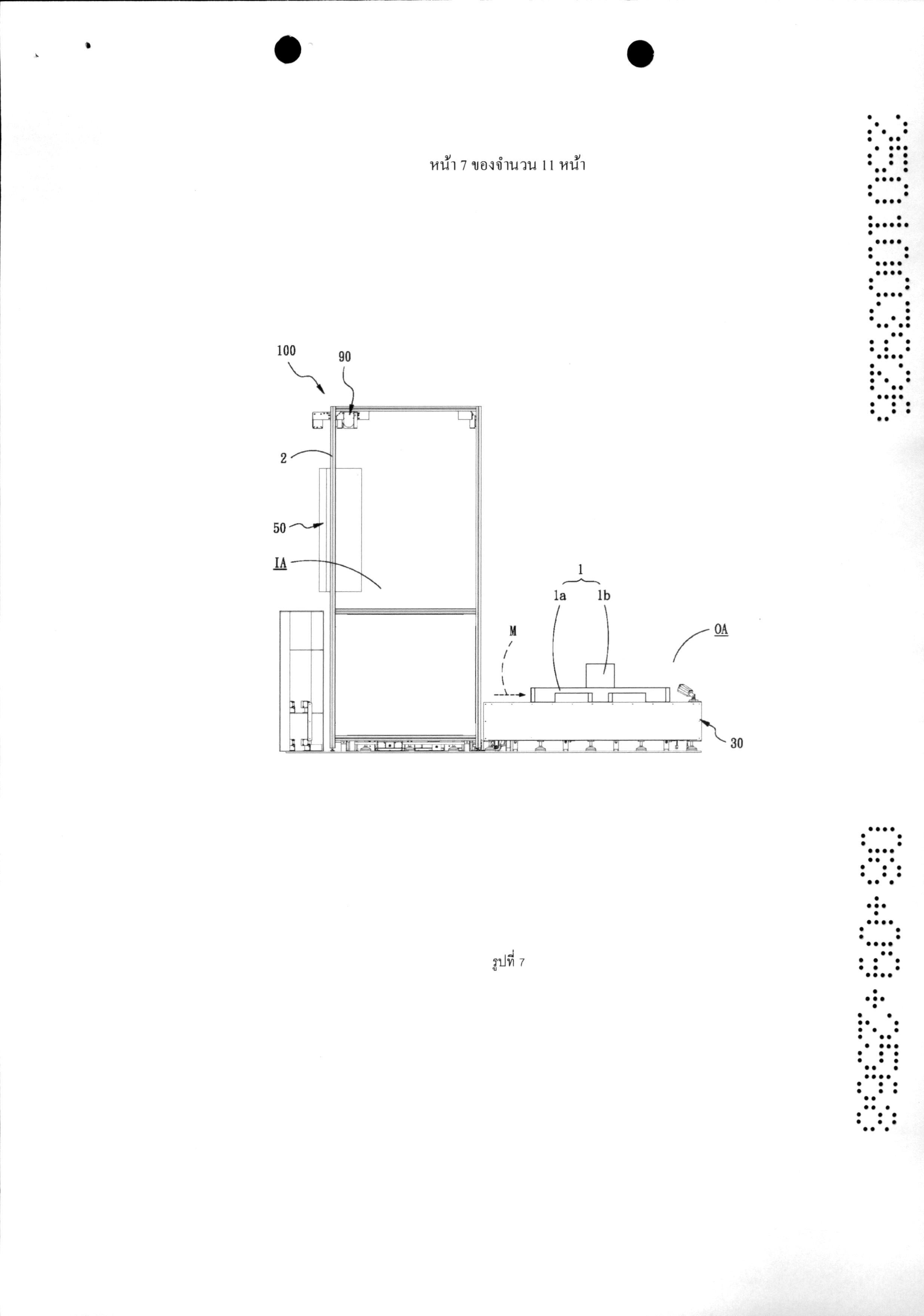
1

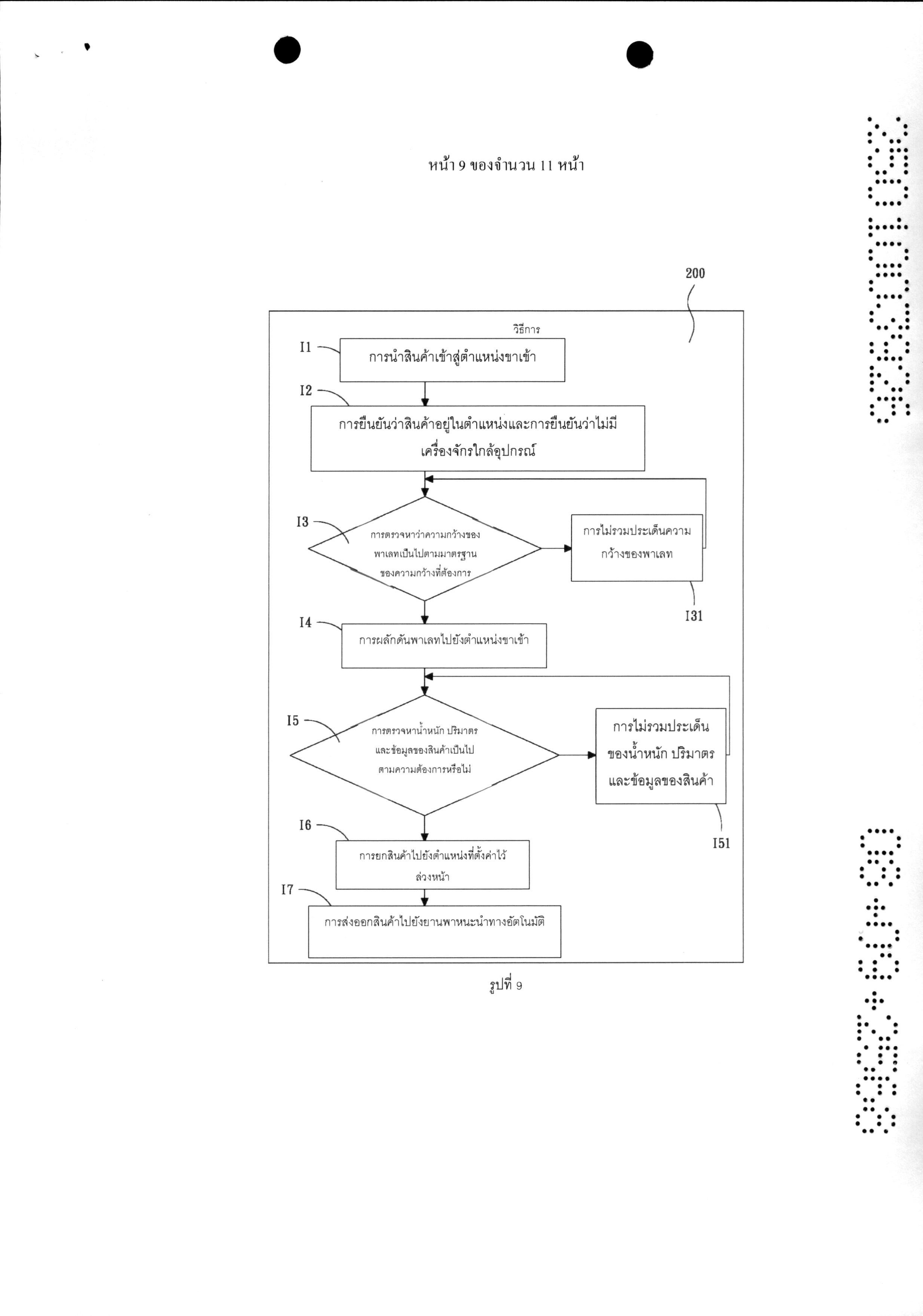
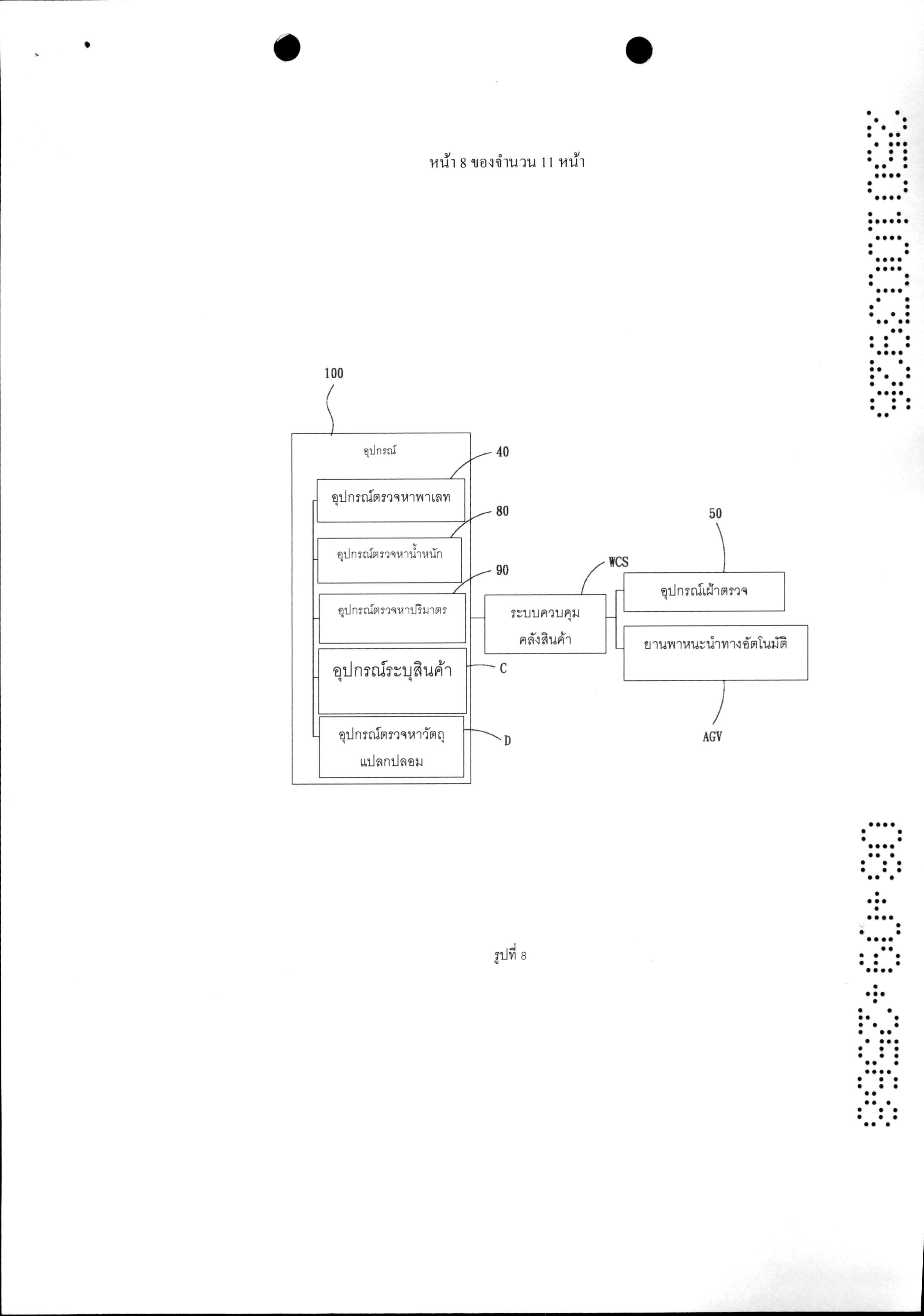
------08/09/2568------(OCR) OCR 10KL1. อุปกรณ์เพื่อรองรับการรับและขนถ่ายสินค้าด้วยรถพ่วงและยานพาหนะนำทางอัตโนมัติ ที่ประกอบรวมด้วย:บริเวณขาเข้า (inbound area) ซึ่งมีตำแหน่งขาเข้า (inbound position) และตำแหน่งที่ตั้งค่าไว้ล่วงหน้า (preset position) ซึ่งตำแหน่งขาเข้าที่นำมาใช้สำหรับรับสินค้า และตำแหน่งที่ตั้งค่าไว้ล่วงหน้าที่ถูกจัดเรียงอยู่ด้านบนของตำแหน่งขาเข้า;อุปกรณ์ตรวจหาสินค้า (cargo detection device) ที่ถูกจัดวางอยู่ในบริเวณขาเข้าสำหรับตรวจหาสินค้าที่ตำแหน่งขาเข้า;อุปกรณ์ยกสินค้า (cargo lifting device) ที่ถูกจัดวางอยู่ในบริเวณขาเข้าสำหรับทำการยกสินค้า; เมื่ออุปกรณ์ตรวจหาสินค้าตรวจหาสินค้าที่ตำแหน่งขาเข้า อุปกรณ์ยกสินค้าจะยกสินค้าจากตำแหน่งขาเข้าไปยังตำแหน่งที่ตั้งค่าไว้ล่วงหน้าอุปกรณ์เคลื่อนที่สินค้า (cargo moving device) ที่ถูกจัดวางอยู่ติดกับอุปกรณ์ยกสินค้าสำหรับการเคลื่อนที่สินค้า; เมื่อสินค้าอยู่ที่ตำแหน่งที่ตั้งค่าไว้ล่วงหน้า อุปกรณ์เคลื่อนที่สินค้าจะเคลื่อนที่ไปยังตำแหน่งขาเข้า และรับสินค้าที่ตำแหน่งที่ตั้งค่าไว้ล่วงหน้า และอุปกรณ์เคลื่อนที่สินค้าจะส่งออกสินค้าไปตามทิศทางขาเข้า; และบริเวณขาออกที่ถูกจัดวางอยู่ติดกับบริเวณขาเข้าสำหรับการรับสินค้าที่ถูกเคลื่อนที่โดยอุปกรณ์เคลื่อนที่สินค้า ในลักษณะที่ว่าสินค้าถูกส่งออกไปยังยานพาหนะนำทางอัตโนมัติ2. อุปกรณ์เพื่อรองรับการรับและขนถ่ายสินค้าด้วยรถพ่วงและยานพาหนะนำทางอัตโนมัติตามข้อถือสิทธิข้อที่ 1 ที่ซึ่งอุปกรณ์ประกอบรวมด้วยอุปกรณ์ตรวจหาพาเลทและอุปกรณ์เฝ้าตรวจ;อุปกรณ์ตรวจหาพาเลทถูกเชื่อมต่อกับอุปกรณ์เฝ้าตรวจ; สินค้าประกอบรวมด้วยพาเลท; อุปกรณ์ตรวจหาพาเลทถูกจัดโครงแบบเพื่อตรวจหาความกว้างของพาเลทที่ตำแหน่งขาเข้า; เมื่อความกว้างไม่ได้ตรงกับความกว้างที่ตั้งค่าไว้ล่วงหน้า อุปกรณ์ตรวจหาพาเลทจะส่งสัญญาณข้อผิดพลาดความกว้างไปยังระบบควบคุมคลังสินค้า และระบบควบคุมคลังสินค้าจะส่งสัญญาณข้อผิดพลาดความกว้างไปยังอุปกรณ์เฝ้าตรวจ3. อุปกรณ์เพื่อรองรับการรับและขนถ่ายสินค้าด้วยรถพ่วงและยานพาหนะนำทางอัตโนมัติตามข้อถือสิทธิข้อที่ 2 ที่ซึ่งอุปกรณ์ประกอบรวมด้วยอุปกรณ์ตรวจหาเครื่องจักร; อุปกรณ์กรณ์ตรวจหาเครื่องจักรถูกจัดวางอยู่ในบริเวณขาเข้า; อุปกรณ์ตรวจหาเครื่องจักรถูกจัดโครงแบบเพื่อตรวจหาเครื่องจักรที่อยู่ใกล้เคียงกับบริเวณขาเข้า; เมื่ออุปกรณ์ตรวจหาเครื่องจักรไม่ได้ตรวจหาเครื่องจักร,อุปกรณ์ตรวจหาพาเลทตรวจหาความกว้างของพาเลท4. อุปกรณ์เพื่อรองรับการรับและขนถ่ายสินค้าด้วยรถพ่วงและยานพาหนะนำทางอัตโนมัติตามข้อถือสิทธิข้อที่ 3 ที่ซึ่งอุปกรณ์ประกอบรวมด้วยอุปกรณ์การจัดแนวพาเลท; อุปกรณ์การจัดแนวพาเลทถูกจัดวางอยู่ในบริเวณขาเข้า; อุปกรณ์การจัดแนวพาเลทถูกจัดโครงแบบเพื่อจัดแนวตำแหน่งของสินค้า; เมื่อสินค้าเบี่ยงเบนไปจากตำแหน่งขาเข้า อุปกรณ์การจัดแนวพาเลทจะผลักค้นพาเลทไปยังตำแหน่งขาเข้า5. อุปกรณ์เพื่อรองรับการรับและขนถ่ายสินค้าด้วยรถพ่วงและยานพาหนะนำทางอัตโนมัติตามข้อถือสิทธิข้อที่ 4 ที่ซึ่งอุปกรณ์ประกอบรวมด้วยอุปกรณ์ตรวจหาน้ำหนัก; อุปกรณ์ตรวจหาน้ำหนักถูกจัดวางอยู่ในบริเวณขาเข้า; อุปกรณ์ตรวจหาน้ำหนักถูกเชื่อมต่อกับอุปกรณ์เฝ้าตรวจ;อุปกรณ์ตรวจหาน้ำหนักถูกจัดโครงแบบเพื่อตรวจหาน้ำหนักของสินค้าที่ตำแหน่งขาเข้า; เมื่อน้ำหนักไม่ตรงกับน้ำหนักที่ตั้งค่าไว้ล่วงหน้า อุปกรณ์ตรวจหาน้ำหนักส่งสัญญาณข้อผิดพลาดน้ำหนักไปยังระบบควบคุมคลังสินค้า และระบบควบคุมคลังสินค้าส่งสัญญาณข้อผิดพลาดน้ำหนักไปยังอุปกรณ์เฝ้าตรวจ6. อุปกรณ์เพื่อรองรับการรับและขนถ่ายสินค้าด้วยรถพ่วงและยานพาหนะนำทางอัตโนมัติตามข้อถือสิทธิข้อที่ 5 ที่ซึ่งอุปกรณ์ประกอบรวมด้วยอุปกรณ์ตรวจหาปริมาตร; อุปกรณ์ตรวจหาปริมาตรถูกเชื่อมต่อกับอุปกรณ์เฝ้าตรวจ; อุปกรณ์ตรวจหาปริมาตร ถูกจัดโครงแบบเพื่อตรวจหาปริมาตรของสินค้าที่ตำแหน่งขาเข้า; เมื่อปริมาตรไม่ตรงกับปริมาตรที่ตั้งค่าไว้ล่วงหน้า อุปกรณ์ตรวจหาปริมาตรส่งสัญญาณข้อผิดพลาดปริมาตรไปยังระบบควบคุมคลังสินค้า และระบบควบคุมคลังสินค้าส่งสัญญาณข้อผิดพลาดปริมาตรไปยังอุปกรณ์เฝ้าตรวจ7. อุปกรณ์เพื่อรองรับการรับและขนถ่ายสินค้าด้วยรถพ่วงและยานพาหนะนำทางอัตโนมัติตามข้อถือสิทธิข้อที่ 6 ที่ซึ่งอุปกรณ์ประกอบรวมด้วยอุปกรณ์ระบุสินค้า; อุปกรณ์ระบุสินค้าถูกเชื่อมต่อกับอุปกรณ์เฝ้าตรวจ; อุปกรณ์ระบุสินค้าถูกจัดโครงแบบเพื่ออ่านข้อมูลฉลากบนสินค้า ที่ตำแหน่งขาเข้า; เมื่อข้อมูลฉลากไม่ตรงกับข้อมูลสินค้า อุปกรณ์ระบุสินค้าส่งสัญญาณข้อผิดพลาดฉลากไปยังระบบควบคุมคลังสินค้า และระบบควบคุมคลังสินค้าส่งสัญญาณข้อผิดพลาดฉลากไปยังอุปกรณ์เฝ้าตรวจ8. อุปกรณ์เพื่อรองรับการรับและขนถ่ายสินค้าด้วยรถพ่วงและยานพาหนะนำทางอัตโนมัติตามข้อถือสิทธิข้อที่ 7 ที่ซึ่งอุปกรณ์ประกอบรวมด้วยอุปกรณ์ตรวจหาวัตถุแปลกปลอม; อุปกรณ์ตรวจหาวัตถุแปลกปลอมถูกเชื่อมต่อกับยานพาหนะนำทางอัตโนมัติ; อุปกรณ์ตรวจหาวัตถุแปลกปลอม ถูกจัดโครงแบบเพื่อตรวจหาว่ามีวัตถุแปลกปลอมในบริเวณขาออกหรือไม่; เมื่ออุปกรณ์ตรวจหาวัตถุแปลกปลอมไม่ได้ตรวจหาวัตถุแปลกปลอมในบริเวณขาออก ระบบควบคุมคลังสินค้าจะส่งสัญญาณการอนุญาตไปยังยานพาหนะนำทางอัตโนมัติ ซึ่งทำให้ยานพาหนะนำทางอัตโนมัติเข้าสู่บริเวณขาออก9. วิธีการเพื่อรองรับการรับและขนถ่ายสินค้าด้วยรถพ่วงและยานพาหนะนำทางอัตโนมัติ ที่ประกอบรวมด้วย:การนำเข้าสินค้าไปยังตำแหน่งขาเข้าของบริเวณขาเข้าการตรวจหาสินค้าที่ตำแหน่งขาเข้าโดยใช้อุปกรณ์ตรวจหาสินค้า และการตรวจหาเครื่องจักรที่อยู่ใกล้เคียงกับบริเวณขาเข้าโดยใช้อุปกรณ์ตรวจหาเครื่องจักร;เมื่ออุปกรณ์ตรวจหาสินค้าตรวจหาสินค้าที่ตำแหน่งขาเข้าและอุปกรณ์ตรวจหาเครื่องจักรไม่ได้ตรวจหาเครื่องจักร อุปกรณ์ตรวจหาพาเลท (pallet detection device) จะตรวจหาความกว้างของพาเลทของสินค้า; เมื่อความกว้างไม่ตรงกับความกว้างที่ตั้งค่าไว้ล่วงหน้า อุปกรณ์ตรวจหาพาเลทส่งสัญญาณความผิดปกติของความกว้างไปยังระบบควบคุมคลังสินค้า และระบบควบคุมคลังสินค้าจะส่งสัญญาณข้อผิดพลาดความกว้างไปยังอุปกรณ์เฝ้าตรวจ;เมื่อสินค้าเบี่ยงเบนไปจากตำแหน่งขาเข้า อุปกรณ์จัดแนวพาเลท (pallet alignment device) จะถูกนำมาใช้เพื่อดันพาเลทไปยังตำแหน่งขาเข้า;การตรวจหาน้ำหนักของสินค้าที่ตำแหน่งขาเข้าโดยใช้อุปกรณ์ตรวจหาน้ำหนัก; เมื่อน้ำหนักไม่ตรงกับน้ำหนักที่ตั้งค่าไว้ล่วงหน้า อุปกรณ์ตรวจหาน้ำหนักจะส่งสัญญาณข้อผิดพลาดน้ำหนักไปยังระบบควบคุมคลังสินค้า ระบบควบคุมคลังสินค้าจะส่งสัญญาณข้อผิดพลาดน้ำหนักไปยังอุปกรณ์เฝ้าตรวจ; การตรวจหาปริมาตรของสินค้าที่ตำแหน่งขาเข้าโดยใช้อุปกรณ์ตรวจหาปริมาตร; เมื่อปริมาตรไม่ตรงกับปริมาตรที่ตั้งค่าไว้ล่วงหน้า อุปกรณ์ตรวจหาปริมาตรจะส่งสัญญาณข้อผิดพลาดปริมาตรไปยังระบบควบคุมคลังสินค้า และระบบควบคุมคลังสินค้าจะส่งสัญญาณข้อผิดพลาดปริมาตรไปยังอุปกรณ์เฝ้าตรวจ; การอ่านข้อมูลฉลากบนสินค้าที่ตำแหน่งขาเข้าโดยใช้อุปกรณ์ระบุสินค้า (cargoidentification device); เมื่อข้อมูลฉลากไม่ตรงกับข้อมูลสินค้า อุปกรณ์ระบุสินค้าจะส่งสัญญาณข้อผิดพลาดฉลากไปยังระบบควบคุมคลังสินค้า และระบบควบคุมคลังสินค้าจะส่งสัญญาณข้อผิดพลาดฉลากไปยังอุปกรณ์เฝ้าตรวจ;เมื่อน้ำหนัก, ปริมาตร และข้อมูลฉลากของสินค้าตรงกับน้ำหนักที่ตั้งค่าไว้ล่วงหน้า, ปริมาตรที่ตั้งค่าไว้ล่วงหน้า และข้อมูลสินค้า อุปกรณ์ยกสินค้าจะยกสินค้าจากตำแหน่งขาเข้าไปยังตำแหน่งที่ตั้งค่าไว้ล่วงหน้าของบริเวณขาเข้า; และเมื่อสินค้าอยู่ที่ตำแหน่งที่ตั้งค่าไว้ล่วงหน้า อุปกรณ์เคลื่อนที่สินค้าเคลื่อนที่ไปยังตำแหน่งขาเข้าและรับสินค้าที่ตำแหน่งที่ตั้งค่าไว้ล่วงหน้า และอุปกรณ์เคลื่อนที่สินค้าส่งออกสินค้าไปตามทิศทางขาเข้าไปยังยานพาหนะนำทางอัตโนมัติ10. วิธีการเพื่อรองรับการรับและขนถ่ายสินค้าด้วยรถพ่วงและยานพาหนะนำทางอัตโนมัติ ที่ประกอบรวมด้วย:การตรวจหาว่ามีวัตถุแปลกปลอมในบริเวณขาออกที่ใช้อุปกรณ์ตรวจหาวัตถุแปลกปลอมหรือไม่; เมื่ออุปกรณ์ตรวจหาวัตถุแปลกปลอมไม่ได้ตรวจหาวัตถุแปลกปลอมในบริเวณขาออก ระบบควบคุมคลังสินค้าจะส่งสัญญาณการอนุญาตไปยังยานพาหนะนำทางอัตโนมัติสำหรับการทำให้ยานพาหนะนำทางอัตโนมัติเข้าสู่บริเวณขาออก และยานพาหนะนำทางอัตโนมัติวางสินค้าบนอุปกรณ์ยกสินค้า;การอ่านข้อมูลฉลากบนสินค้าในบริเวณขาออกโดยใช้อุปกรณ์ระบุสินค้า และการแสดงผลข้อมูลฉลากบนอุปกรณ์เฝ้าตรวจ; และเมื่อข้อมูลฉลากตรงกับข้อมูลสินค้า อุปกรณ์ยกสินค้าจะเคลื่อนที่สินค้าไปตามทิศทางแกน Z ไปยังตำแหน่งขาออกของบริเวณขาออก ------------

OCR 07AP

ไม่มีข้อมูลข้อถือสิทธิ