Application Type
National
Application SubType
(10) Registration Number and Date
10202400792W
Status
ACTIVE ( Other event occurred)
(180) Expiration Date
(20) Filing Number and Date
SG 10202400792W 2023.12.31
(40) Publication Number and Date
${pbin}
(86) PCT Filing Number and Date
(87) PCT Publication Number and Date
(85) National Entry Date
(30) Priority Details
(51) IPC Classes
    (72) Inventor
    (74) Representative
    (54) Title
    (57) Abstract
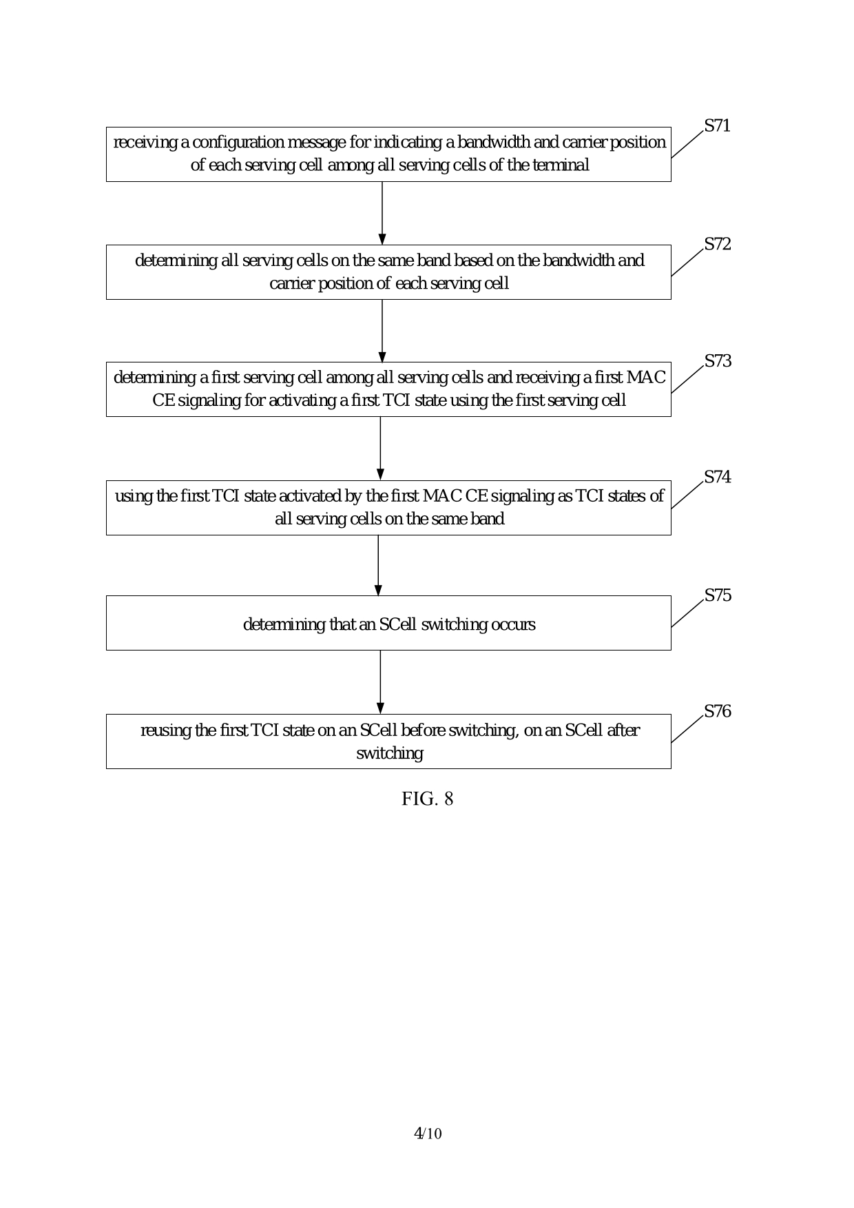
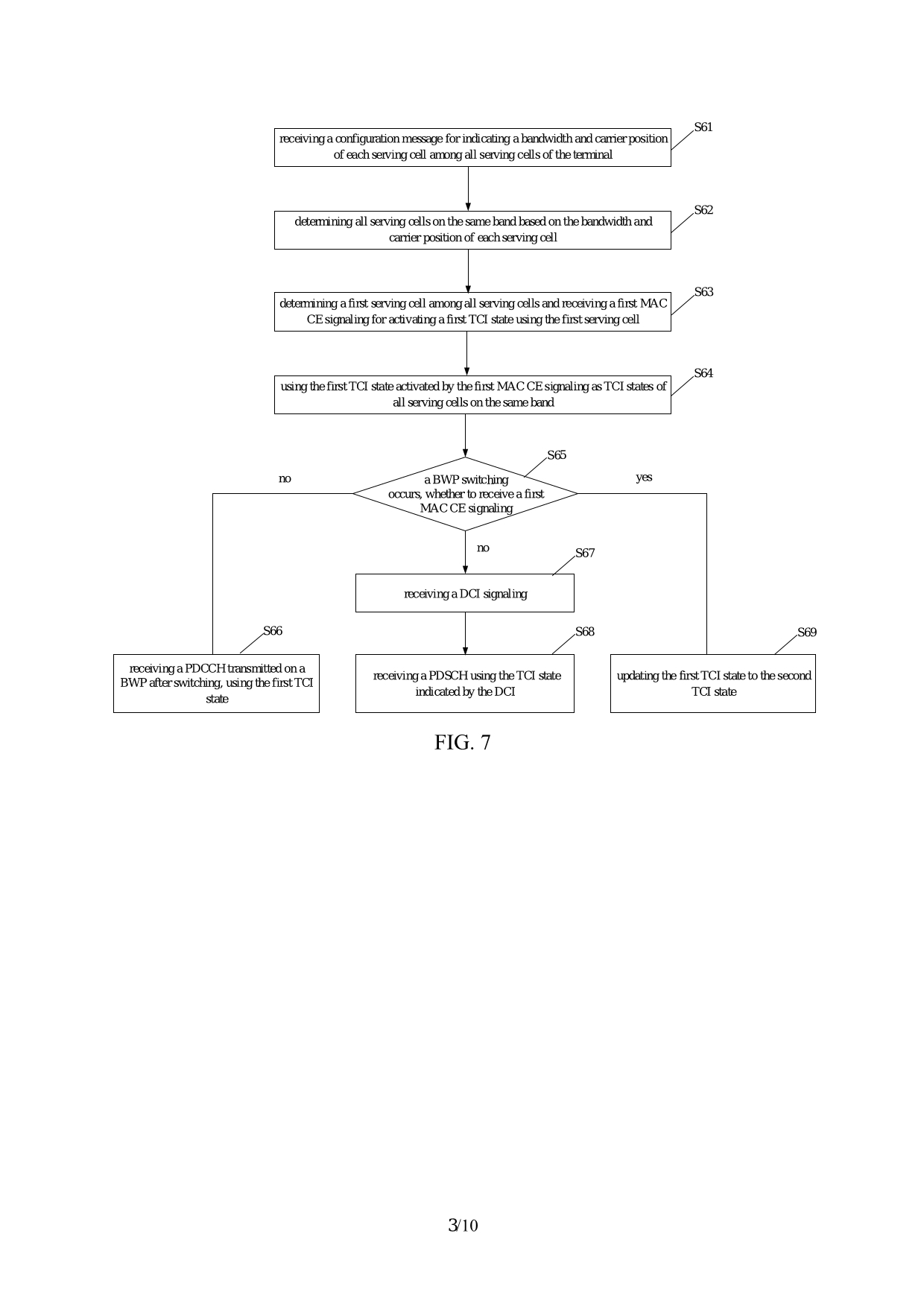
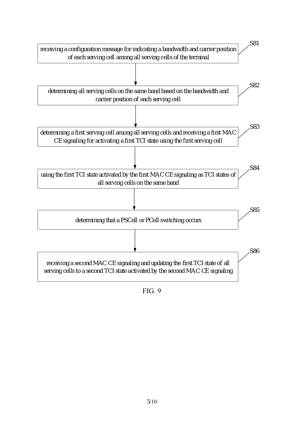
    (EN) ABSTRACT A method for activating a TCI state includes: receiving a first MAC CE signaling, the first MAC CE signaling for activating a first TCI state; and using the first TCI state as TCI states of all serving cells on the same frequency band. Fig. 3 39
    (58) Citations
    License Details
    (98) Annuity Details
    YearValidity StartValidity EndPayment
    Document Type Date Action
    Description (with claims) 2024-03-20T00:00:00Z
    Abstract 2024-03-20T00:00:00Z
    Event NameDateLink
    Other event occurred2018-12-30
    Other event occurred2023-12-31
    Other event occurred2023-12-31