Application Type
National
Application SubType
(10) Registration Number and Date
10202402543T
Status
ACTIVE ( Other event occurred)
(180) Expiration Date
(20) Filing Number and Date
SG 10202402543T 2023.12.31
(40) Publication Number (Gazette Number) and Date
(86) PCT Filing Number and Date
(87) PCT Publication Number and Date
(85) National Entry Date
(30) Priority Details
US
US62/435,238
2015.12.27
US62/525,345
2017.01.01
(51) IPC Classes
    (74) Representative
    (54) Title
    (57) Abstract
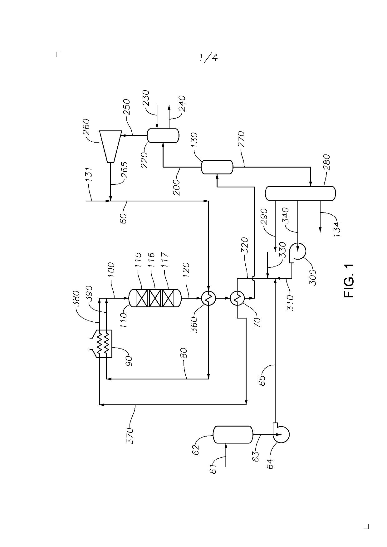
    (EN) TITLE OF THE INVENTION: PYROLYSIS TAR CONVERSION ABSTRACT This invention relates to a process for determining the suitability of pyrolysis tar, such as steam cracker tar, for upgrading using hydroprocessing without excessive fouling of the hydroprocessing reactor. A pyrolysis tar is sampled, the sample is analyzed to determine one or more characteristics of the tar related to tar reactivity, and the analysis is used to determine conditions under which the tar can be blended, pre-treated, and/or hydroprocessed. (FIG. 1) -37-
    (58) Citations
    License Details
    (98) Annuity Details
    YearValidity StartValidity EndPayment
    Document Type Date Action
    Amendment of Claim(s) only 2024-09-16T00:00:00Z
    Description (with claims) 2024-08-21T00:00:00Z
    Abstract 2024-08-21T00:00:00Z
    Event NameDateLink
    Other event occurred2017-01-01
    Other event occurred2023-12-31
    Other event occurred2023-12-31
    Other event occurred2023-12-31
    Other event occurred2023-12-31