Application Type
Patent (CN MOU)
Application SubType
Re-registration of Chinese Patent
(10) Registration Number and Date
Status
ACTIVE ( Document published)
(180) Expiration Date
(20) Filing Number and Date
KH P/2024/00004CN 2024.06.14
(40) Publication Number and Date
${pbin}
(86) PCT Filing Number and Date
(87) PCT Publication Number and Date
(85) National Entry Date
(30) Priority Details
(71/73) Applicant
(KH) CCCC INFRASTRUCTURE MAINTENANCE GROUP LTD. : Building 8, Jiangsu Building, No. 88 Ding, Andingmenwai Street, Dongcheng District, Beijing, 100011, Beijing 100011
CCCC ROAD AND BRIDGE INSPECTION AND MAINTENANCE CO., LTD. : Fu Qian Street No. 9-155, Niulanshan Town, Shunyi District, Beijing 101300
(72) Inventor
WANG SHICHENG
YAO JUNHUA
HU ZHUYOU
XIANG ZHIHAI
LU QIUHAI
(74) Representative
(KH) ABACUS IP : No.436, Plov Lum, Sangkat Kakab, Khan Posenchey, Phnom Penh
(54) Title
(KH) (EN) PASSIVE EXCITATION-TYPE BRIDGE DAMAGE EVALUATION METHOD
(57) Abstract
(KH) (EN)

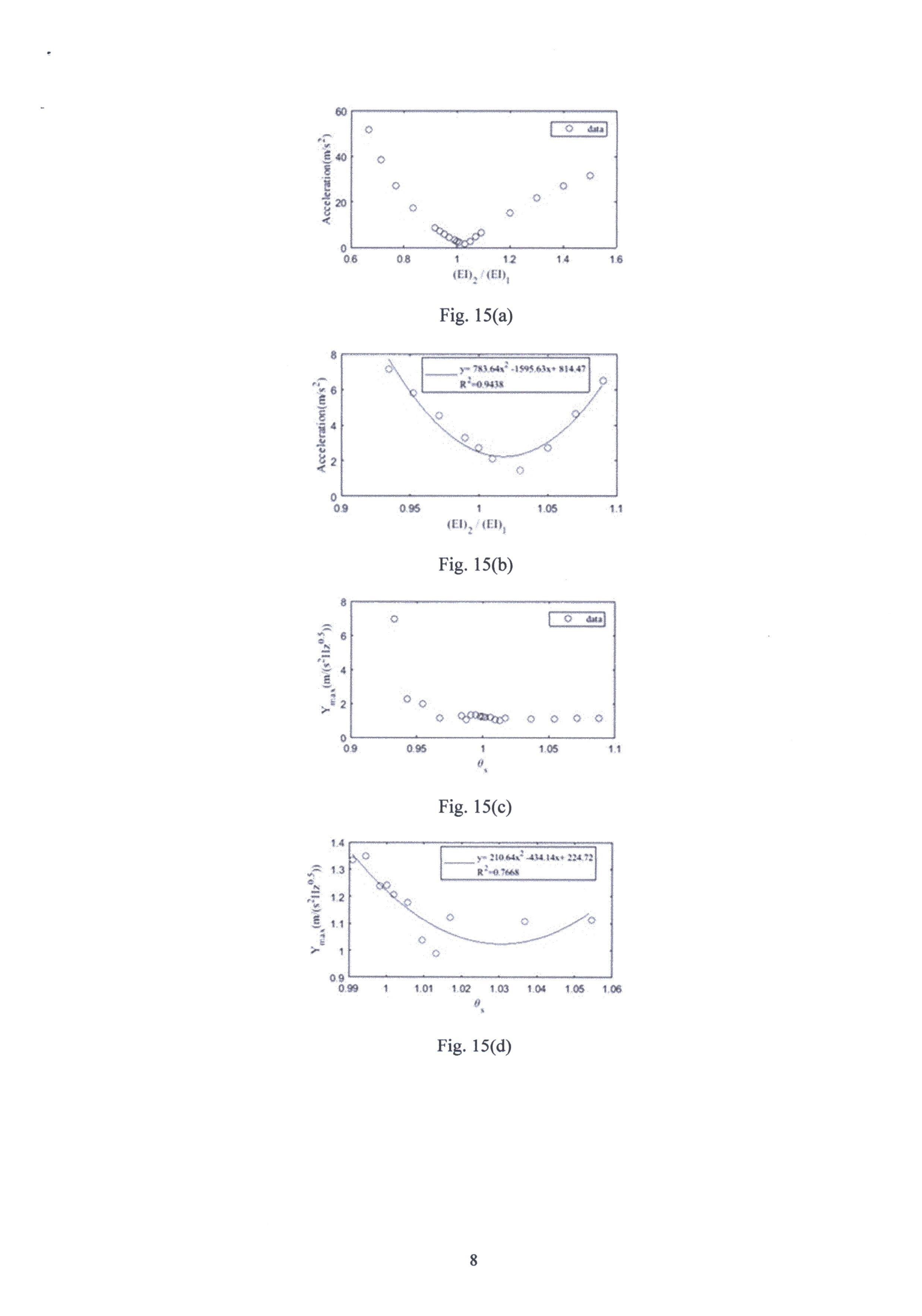
A passive excitation-type bridge damage evaluation method: excitation teeth uniformly distributed on a single excitation wheel are used for performing passive excitation at a fixed excitation frequency on a bridge deck, and an acceleration sensor is used for acquiring an acceleration signal transmitted to the excitation teeth from the bridge deck. By means of extracting a maximum value point of an equivalent acceleration speed from a time-frequency analysis result, a stiffness mutation moment is determined to have been detected, and according to an inflection point in a corresponding power spectrogram, a bridge damage position is determined and a degree of damage is determined.

(58) Citations
License Details
(98) Annuity Details
YearValidity StartValidity EndPayment
Event NameDateLink
Application filed2024-06-14
Document published2025-02-07