Application Type
Patents
Application SubType
National Patent
(10) Registration Number and Date
Status
ACTIVE ( Document published)
(180) Expiration Date
(20) Filing Number and Date
TH 2501005084 2025.07.31
(40) Publication Number (Gazette Number) and Date
(5/2569)
2026.02.02
(86) PCT Filing Number and Date
(87) PCT Publication Number and Date
(85) National Entry Date
(30) Priority Details
CN
CN113129744
2024.08.08
(51) IPC Classes
(71/73) Applicant
(TH) โทโย ออโตเมชั่น โค., แอลทีดี. (นิติบุคคลจัดตั้งขึ้นตามกฎหมายแห่งไต้หวัน) : เลขที่.55, ซินจิ 3อาร์ดี โร้ด, อันหนาน ดิสทริค, ไถหนาน ซิตี้ 709 ไต้หวัน, สาธารณรัฐจีน
(72) Inventor
(TH) คุน-เฉิง เจิง : เลขที่.55, ซินจิ 3อาร์ดี โร้ด, อันหนาน ดิสทริค, ไถหนาน ซิตี้ 709 ไต้หวัน, สาธารณรัฐจีน
เฉวียง-จุน จาง : เลขที่.55, ซินจิ 3อาร์ดี โร้ด, อันหนาน ดิสทริค, ไถหนาน ซิตี้ 709, ประเทศไต้หวัน, สาธารณรัฐจีน
(74) Representative
(TH) นาย เดชอุดม ไกรฤทธิ์ : เลขที่ 942/69 อาคารชาญอิสสระทาวเวอร์ ชั้น 2 พระราม 4 ตำบลสุริยวงศ์ อำเภอบางรัก จังหวัดกรุงเทพมหานคร
นาย วรวุฒิ ไกรฤทธิ์ : บริษัท เดชอุดม แอนด์ แอสโซซิเอทส์ จำกัด เลขที่ 942/69 อาคารชาญอิสสระทาวเวอร์ ชั้น 2 พระราม 4 ตำบลสุริยวงศ์ อำเภอบางรัก จังหวัดกรุงเทพมหานคร
(54) Title
(TH)

หัวขับไฟฟ้า

(57) Abstract
(TH)

OCR 07AP

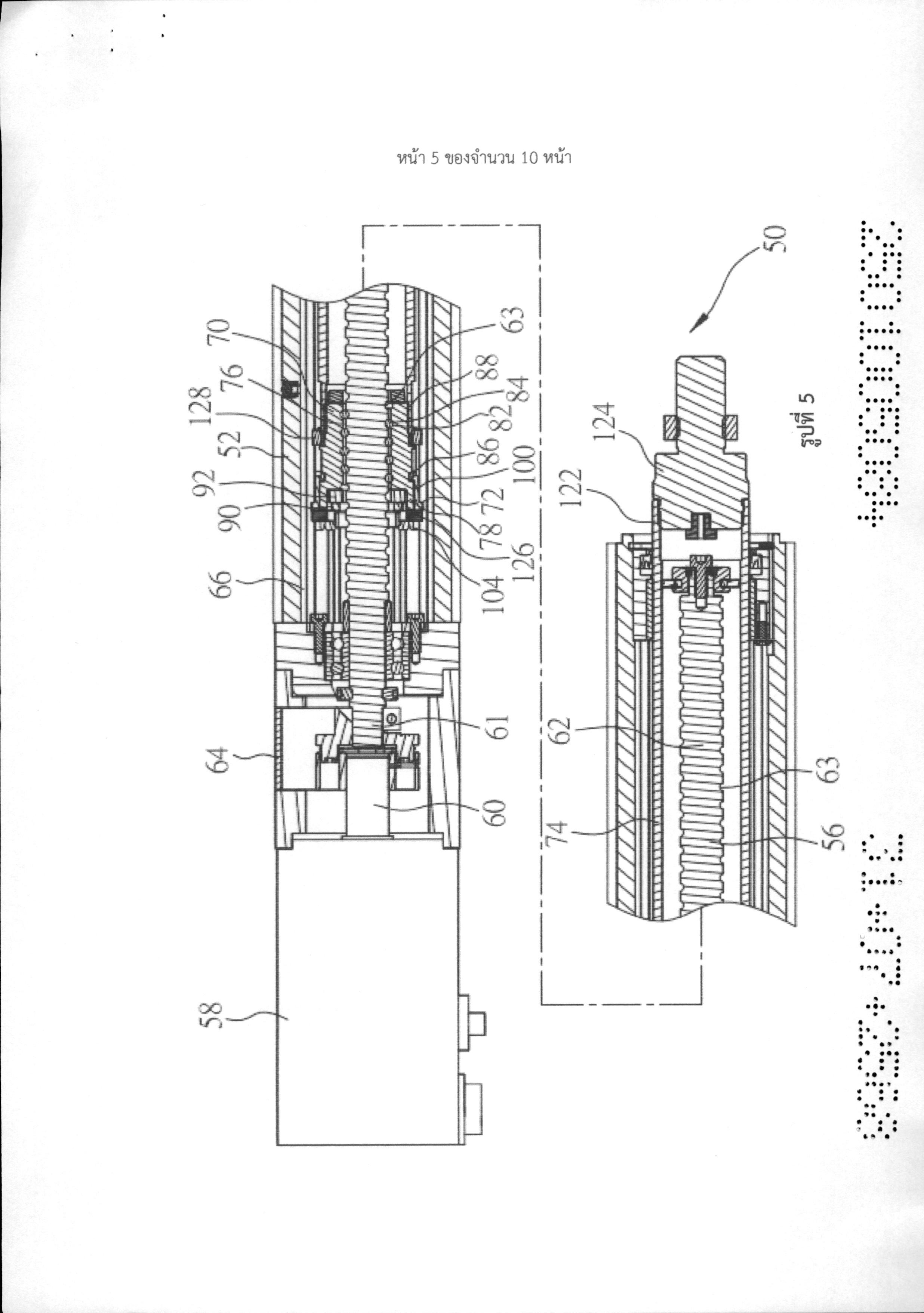
หัวขับไฟฟ้ามีกระบอกด้านบอก หน่วยเลือนและเพลาเกลียวรวมอยู่ด้วย ร่องนำอย่างน้อยหนึ่งร่อง ถูกจัดให้อยู่ในผนังรูของกระบอกด้านนอก หน่วยเลื่อนมีชิ้นส่วนน็อต ชิ้นส่วนจำกัดการหมุนที่ถูกขบยึดบน ปลายที่หนึ่งของชิ้นส่วนน็อต และเพลาส่งกำลังที่ถูกขบยึดอยู่บนปลายที่สองของชิ้นส่วนน็อตรวมอยู่ด้วย ชิ้นส่วนจำกัดการหมุนมีแท่งนำอย่างน้อยหนึ่งอับที่รวมอยู่ใบร่องนำของกระบอกด้านนอกในลักษณะที่ เคลื่อนที่ได้ เพลาเกลียวถูกเชื่อมต่อกับชิ้นส่วนน็อตในลักษณะที่สามารถเคลื่อนไหวได้ค่อนข้างมาก เมื่อเพลา เกลียวหมุน ชิ้นส่วนน็อต ชิ้นส่วนจำกัดการหมุนและเพลาส่งกำลังก็เคลื่อนที่ไปกับเพลาเกลียว และแท่งนำ ของชิ้นส่วนจำกัดการหมุนก็เคลื่อนที่ภายในร่องนำ เพื่อไปจำกัดชิ้นส่วนน็อตและเพลาส่งกำลังไม่ให้หมุนไป กับกระบอกด้านนอก

(58) Citations
License Details
(98) Annuity Details
YearValidity StartValidity EndPayment
Document Type Date Action
description 2026-02-02T00:00:00Z
abstract 2026-02-02T00:00:00Z
claims 2026-02-02T00:00:00Z
gazette 2026-02-02T00:00:00Z
Event NameDateLink
Application filed2025-07-31
Document published2026-02-02

1

OCR 07AP

1. หัวขับไฟฟ้าที่ประกอบด้วย กระบอกด้านนอกที่มีช่องรองรับอยู่ภายใน โดยช่องรองรับดังกล่าวยืดขยายในทิศทางตามยาวและมี ผนังของช่องที่ถูกจัดให้มีร่องนำอย่างน้อยหนึ่งร่องที่ยืดขยายในทิศทางตามยาวอยู่ข้างใน หน่วยเลื่อนที่มีชิ้นส่วนน็อต ชิ้นส่วนจำกัดการหมุน และเพลาส่งกำลังรวมอยู่ด้วย โดยชิ้นส่วน น็อตดังกล่าวมีรูเจาะที่ยืดขยายในทิศทางตามยาวอยู่ข้างในและยังมีปลายที่หนึ่งและปลายที่สองที่มีระยะห่าง จากปลายที่หนึ่งในทิศทางตามยาว มีชิ้นส่วนจำกัดการหมุนถูกขบยึดบนปลายที่หนึ่งของชิ้นส่วนน็อตและมี ลำตัวรูปวงแหวนพร้อมรูทะลุอยู่ข้างใน แท่งนำอย่างน้อยหนึ่งอันถูกจัดให้อยู่บนรอบนอกของลำตัวรูปวง แหวนของชิ้นส่วนจำกัดการหมุนและรวมอยู่ในร่องนำของกระบอกด้านนอก เพลาส่งกำลังถูกขบยึดบนปลาย ที่สองของชิ้นส่วนน็อต และ เพลาเกลียวที่เชื่อมต่อกับชิ้นส่วนน็อตในลักษณะที่สามารถเคลื่อนไหวได้ค่อน ข้างมากและมีส่วนในและส่วนนอกที่มีระยะห่างจากกันในทิศทางตามยาว โดยส่วนในของเพลาเกลียวถูก ปรับให้ถูกเชื่อมต่อกับชิ้นส่วนขับเพื่อขับเพลาเกลียวให้หมุน ส่วนนอกของเพลาเกลียวยืดขยายผ่านรูทะลุของ ชิ้นส่วนจำกัดการหมุนและรูเจาะของชิ้นส่วนน็อต ที่ซึ่งเมื่อเพลาเกลียวหมุน ชิ้นส่วนน็อต ชิ้นส่วนจำกัดการ หมุนและเพลาส่งกำลังก็เคลื่อนที่ในทิศทางตามยาวเทียบกับเพลาเกลียว และแท่งนำอย่างน้อยหนึ่งอันของ ชิ้นส่วนจำกัดการหมุนก็เคลื่อนที่ภายในร่องนำอย่างน้อยหนึ่งร่องในทิศทางตามยาวเพื่อจำกัดชิ้นส่วนน็อต และเพลาส่งกำลังไม่ให้หมุนไปกับกระบอกด้านนอก 2. หัวขับไฟฟ้าตังที่ขอถือสิทธิไว้ในข้อถือสิทธิ 1 ที่ซึ่งรูเจาะของชิ้นส่วนน็อตมีผนังของรูที่ถูก จัดให้มีร่องด้านในแบบเกลียวอยู่ข้างใน เพลาเกลียวมีรอบนอกที่ถูกจัดให้มีร่องด้านนอกแบบเกลียวอยู่ข้างใน และลูกปีนถูกจัดวางอยู่ระหว่างร่องด้านนอกของเพลาเกลียวกับร่องด้านในของชิ้นส่วนน็อต ทำให้เมื่อเพลา เกลียวหมุน ชิ้นส่วนน็อตก็ถูกขับให้เคลื่อนที่ในทิศทางตามยาวเมือเทียบกับเพลาเกลียว ที่ซึ่งช่องเปิดขยาย ถูกจัดให้อยู่ในช่องเจาะของปลายที่หนึ่งของชิ้นส่วนน็อตและบรรจุวงแหวนกั้นไว้ 3. หัวขับไฟฟ้าดังที่ขอถือสิทธิไว้ในข้อถือสิทธิ 1 ที่ซึ่งชิ้นส่วนน็อตมีรอบนอกที่ถูกจัดให้มีร่อง ประกบอย่างน้อยหนึ่งร่องอยู่ข้างใน ลำตัวรูปวงแหวนมีพื้นผิวที่หนึ่งและที่สองที่หันออกจากกันในทิศทาง ตามยาวรวมอยู่ด้วย และพื้นผิวที่หนึ่งมีส่วนประกบอย่างน้อยหนึ่งส่วนสำหรับประกบในร่องประกบอย่าง น้อยหนึ่งร่องดังกล่าวของชิ้นส่วนน็อต 4. หัวขับไฟฟ้าดังที่ขอถือสิทธิไว้ในข้อถือสิทธิ 3 ที่ซึ่งร่องประกบเป็นร่องรูปวงแหวนและอยู่ ติดกับปลายที่หนึ่งของชิ้นส่วนน็อต พื้นผิวที่หนึ่งของลำตัวรูปวงแหวนมีส่วนประกบจำนวนหนึ่งที่มีระยะห่าง จากกันในทิศทางรอบวงของพื้นผิว และส่วนประกบแต่ละส่วนยืดขยายในทิศทางตามยาวและมีส่วนขอเกี่ยว ประกบอยู่ในร่องประกบ 5. หัวขับไฟฟ้าดังที่ขอถือสิทธิไว้ในข้อถือสิทธิ 1 ที่ซึ่งผนังของรูของช่องรองรับถูกจัดให้มีร่อง นำจำนวนหนึ่งที่มีระยะห่างจากกันในทิศทางรอบวงของผนัง รอบนอกของลำตัวรูปวงแหวนมีแท่งนำจำนวน หนึ่งที่มีระยะห่างจากกันในทิศทางรอบวงของลำตัวรูปวงแหวน และแท่งนำแต่ละแท่งรวมอยู่ในร่องนำที่ ตรงกันของกระบอกด้านนอกในลักษณะที่เคลี่อนที่ได้ 6. หัวขับไฟฟ้าดังที่ขอถือสิทธิไว้ในข้อถือสิทธิ 5 ที่ซึ่งแท่งนำยืดขยายในทิศทางตามยาวและมี ส่วนปลายสองส่วนที่มีระยะห่างจากกันในทิศทางตามยาว และส่วนปลายแต่ละส่วนมีรอยตัดและแขนนำสอง อันที่แยกออกด้วยรอยตัดดังกล่าว 7. หัวขับไฟฟ้าดังที่ขอถือสิทธิไว้ในข้อถือสิทธิ 6 ที่ซึ่งส่วนปลายของแท่งนำมีส่วนกว้างที่หนึ่ง ในทิศทางความกว้าง ร่องนำมีส่วนกว้างที่สองใบทิศทางความกว้าง และส่วนกว้างที่หนึ่งเท่ากับหรือใหญ่กว่า ส่วนกว้างที่สองเล็กน้อย 8. หัวขับไฟฟ้าดังที่ขอถือสิทธิไว้ในข้อถือสิทธิ 5 ที่ซึ่งโพรงรูปโค้งถูกจัดให้อยู่ในด้านของแท่ง นำ 9. หัวขับไฟฟ้าดังที่ขอถือสิทธิไว้ในข้อถือสิทธิ 3 ที่ซึ่งพื้นผิวที่สองของลำตัวรูปวงแหวนมีส่วน กำหนดตำแหน่งจำนวนหนึ่งที่มีระยะห่างจากกันในทิศทางรอบวงของพื้นผิวดังกล่าว และส่วนกำหนด ตำแหน่งยืดขยายในทิศทางตามยาว ที่ซึ่งหน่วยเลื่อนยังมีแม่เหล็กรูปวงแหวนถูกจัดวางอยู่บนพื้นผิวที่สอง ของลำตัวรูปวงแหวนและตั้งอยู่ระหว่างส่วนกำหนดตำแหน่งจำนวนหนึ่งดังกล่าวกับแท่งนำอย่างน้อยหนึ่ง แท่ง