Application Type
Patents
Application SubType
National Patent
(10) Registration Number and Date
Status
ACTIVE ( Search and examination requested)
(180) Expiration Date
(20) Filing Number and Date
TH 2501007618 2025.11.07
(40) Publication Number (Gazette Number) and Date
(8/2569)
2026.02.23
(86) PCT Filing Number and Date
(87) PCT Publication Number and Date
(85) National Entry Date
(30) Priority Details
JP
JP2024-201184
2024.11.18
(72) Inventor
(TH) ยูกิ ชินซาโตะ : แคนนอน คาบูชิกิ ไกชา, 30-2, ชิโมมารูโกะ 3-โชเม, โอห์ตา-กุ, โตเกียว, 1468501
(74) Representative
(TH) นางสาว ปรับโยชน์ ศรีกิจจาภรณ์ : แห่ง บริษัท สำนักกฎหมาย ดำเนิน สมเกียรติ และบุญมา จำกัด อยู่ที่ 719 สี่พระยา ตำบลบางรัก อำเภอบางรัก จังหวัดกรุงเทพมหานคร
นาย จักรพรรดิ์ มงคลสิทธิ์
นาย รุทร นพคุณ
นาง สายทิพย์ ฤดีอเนกสิน
(54) Title
(TH)

เลนส์ซูมและเครื่องรับภาพ

(57) Abstract
(TH)

OCR 07AP

เลนส์ซูม รวมถึงตามลำดับจากด้านวัตถุถึงด้านภาพ หน่วยเลนส์ที่หนึ่ง ที่มีกำลังหักเหแสง

เชิงลบ หน่วยเลนส์ที่สอง หน่วยเลนส์ระดับหนึ่งหน่วย หรือมากกว่านั้น และหน่วยเลนส์

ด้านหลัง อย่างน้อยที่สุดหน่วยเลนส์ที่สอง และหน่วยเลนส์ระดับหนึ่งหน่วย หรือมากกว่านั้น

จะเคลื่อนที่ในระหว่างการซูม ระยะทางแต่ละค่าระหว่างหน่วยเลนส์ที่อยู่ใกล้เคียงกันจะเปลี่ยนแปลง

หน่วยเลนส์ระดับหนึ่งหน่วย หรือมากกว่านั้น รวมถึง หน่วยเลนส์ระดับกลางที่ N ซึ่งจัดวางอยู่

ใกล้ที่สุดกับระนาบภาพ และหน่วยเลนส์ระดับที่ N รวมถึง หน่วยการเลื่อนที่มีกำลังหักแสง

เชิงบวก ซึ่งจัดวางอยู่ใกล้ที่สุดกับระนาบภาพ และเคลื่อนที่ได้ในทิศทาง ตั้งฉากกับแกนเชิงแสงของ

เลนส์ซูม

(58) Citations
License Details
(98) Annuity Details
YearValidity StartValidity EndPayment
Document Type Date Action
description 2026-02-23T00:00:00Z
abstract 2026-02-23T00:00:00Z
claims 2026-02-23T00:00:00Z
gazette 2026-02-23T00:00:00Z
Event NameDateLink
Application filed2025-11-07
Document published2026-02-23
Search and examination requested2026-02-26

1

OCR 07AP

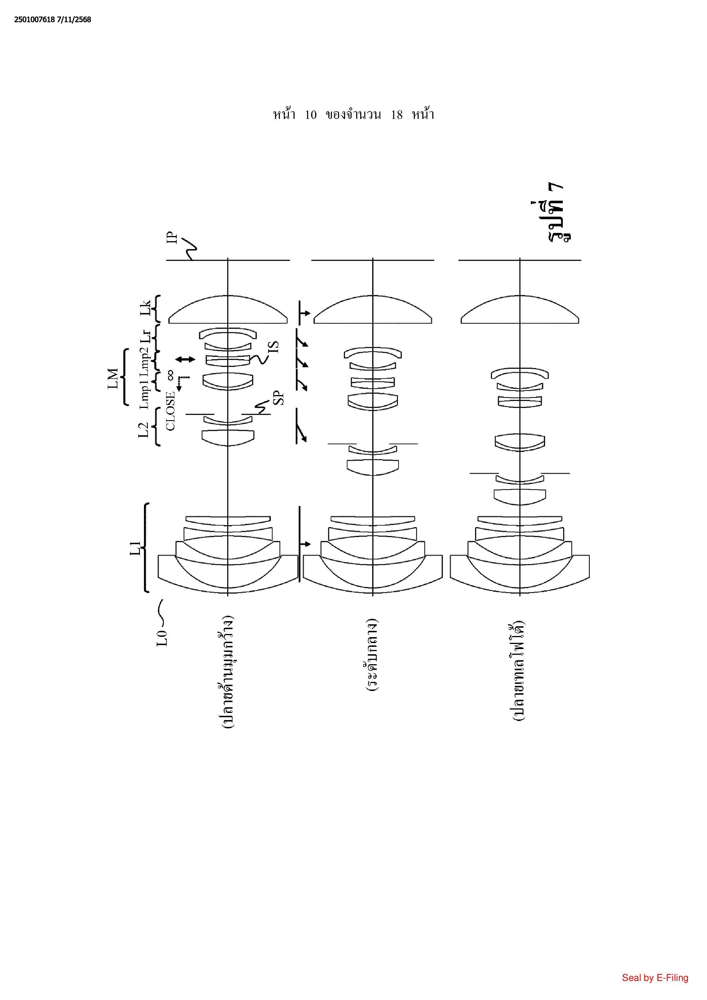
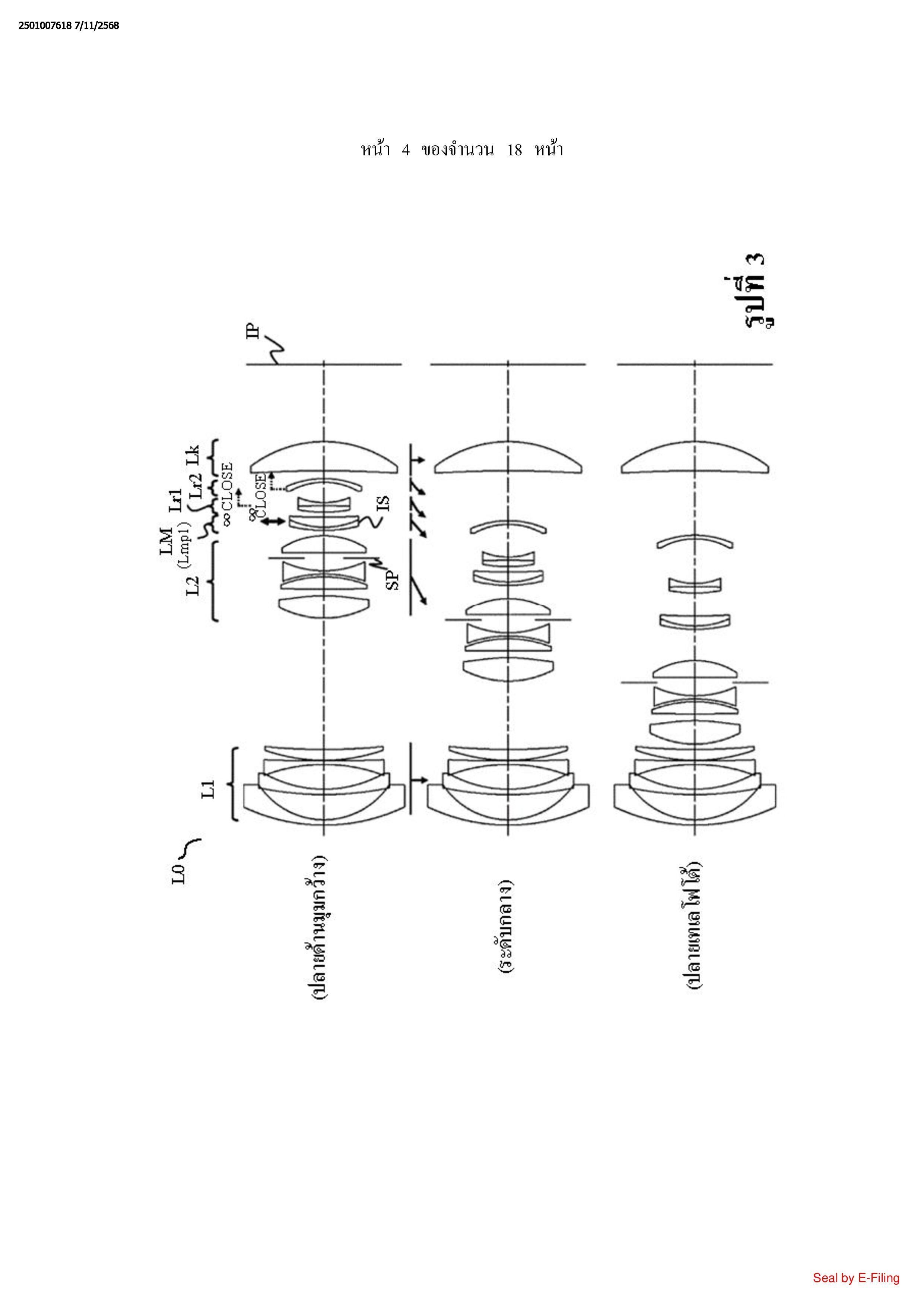
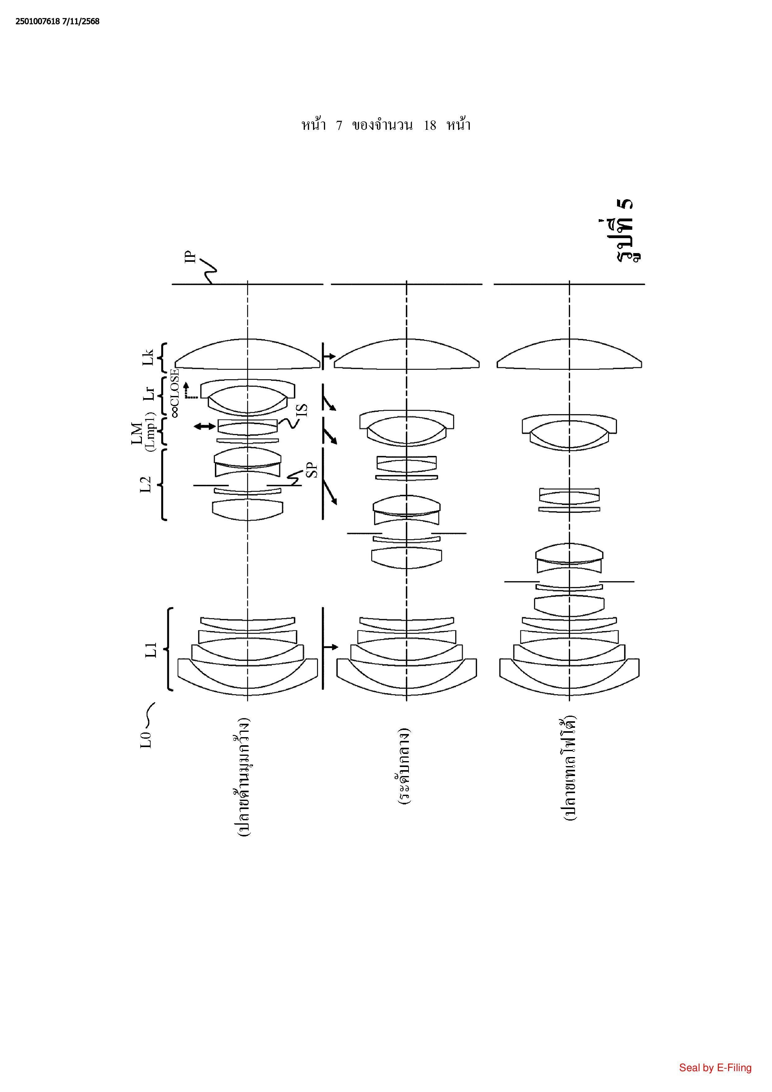
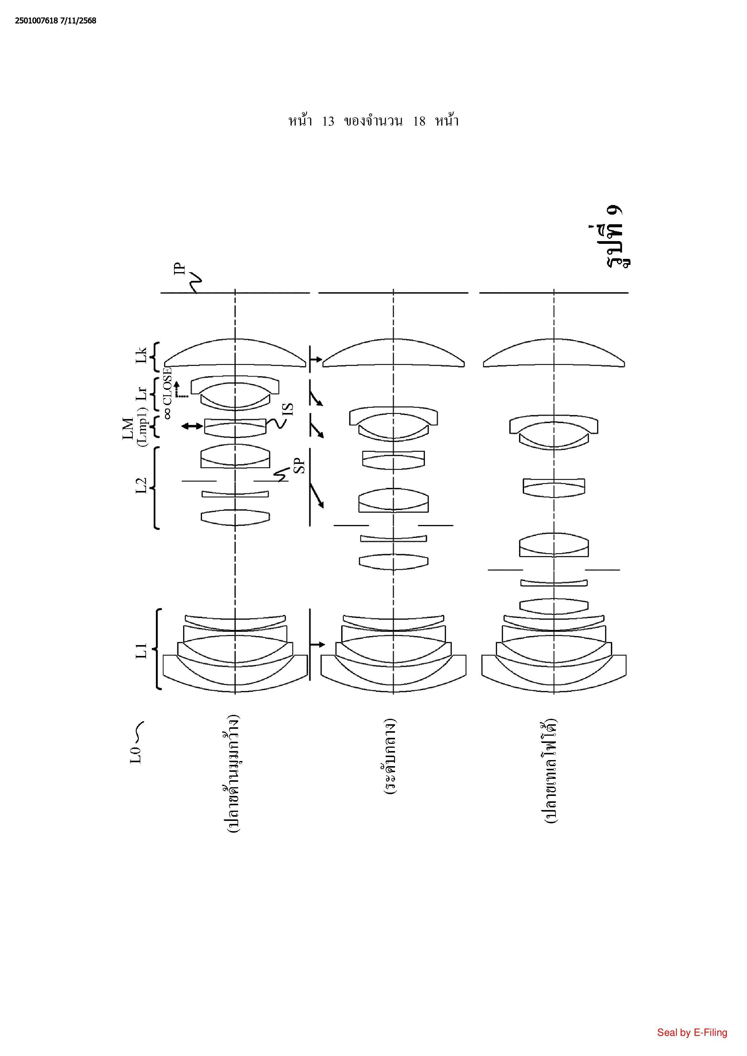
1. เลนส์ซูม ซึ่งประกอบรวมด้วย ตามลำดับจากด้านวัตถุถึงด้านภาพ

หน่วยเลนส์ที่หนึ่งที่มีกำลังหักเหแสงเชิงลบ

หน่วยเลนส์ที่สอง

หน่วยเลนส์ระดับกลางหนึ่งหน่วย หรือมากกว่านั้น และ

หน่วยเลนส์ด้านหลัง

ที่ซึ่ง อย่างน้อยที่สุดหน่วยเลนส์ที่สอง และหน่วยเลนส์ระดับกลางหนึ่งหน่วย หรือมากกว่า

นั้นจะเคลื่อนที่ในระหว่างการซูม และระยะทางแต่ละค่า ระหว่างหน่วยเลนส์ที่อยู่ใกล้เคียงกันจะ

เปลี่ยนแปลง

ที่ซึ่ง หน่วยเลนส์ระดับกลางหนึ่งหน่วย หรือมากกว่านั้น รวมถึง หน่วยเลนส์ระดับกลางที่ N

ซึ่งจัดวางอยู่ใกล้ที่สุดกับระนาบภาพ และหน่วยเลนส์ระดับกลางที่ N รวมถึง หน่วยการเลื่อนที่มีกำลัง

หักเหแสงเชิงบวก ซึ่งจัดวางอยู่ใกล้ที่สุดกับระนาบภาพ และเคลื่อนที่ได้ในทิศทางตั้งฉากกับแกน

เชิงแสงของเลนส์ซูม และ

ที่ซึ่งอสมการที่ตามมานี้ ได้รับการทำให้สอดคล้อง

1.8น้อยกว่าหรือเท่ากับ fis/(-f1)น้อยกว่าหรือเท่ากับ4.8

0.05น้อยกว่าหรือเท่ากับ BFw/fw น้อยกว่าหรือเท่ากับ1.29

ซึ่ง f1 คือความยาวโฟกัสของหน่วยเลนส์ที่หนึ่ง fis คือความยาวโฟกัสของหน่วยการเลื่อน

fw คือความยาวโฟกัสของเลนส์ซูมที่ปลายด้านมุมกว้าง และ BFw คือระยะทางเทียบเท่าในอากาศ

บนแกนเชิงแสง จากพื้นผิวเลนส์ที่ใกล้ที่สุดกับระนาบภาพของเลนส์ซูมที่ปลายด้านมุมกว้าง ถึง

ระนาบภาพ

2. เลนส์ซูม ตามข้อถือสิทธิ์ข้อที่ 1 ที่ซึ่ง หน่วยการเลื่อนรวมด้วยเลนส์สองชิ้น หรือมากกว่านั้น

3. เลนส์ซูม ตามข้อถือสิทธิ์ข้อที่ 1 ที่ซึ่ง หน่วยเลนส์ที่สอง รวมถึงชิ้นส่วนเลนส์สองชิ้น หรือ

มากกว่านั้น

4. เลนส์ซูม ตามข้อถือสิทธิ์ข้อที่ 1 ที่ซึ่ง หน่วยเลนส์ที่หนึ่ง ได้รับการยึดตายตัวในระหว่าง

การซูม

5. เลนส์ซูม ตามข้อถือสิทธิ์ข้อที่ 1 ที่ซึ่ง หน่วยเลนส์ที่สอง และหน่วยเลนส์ระดับกลาง

หนึ่งหน่วย หรือมากกว่านั้น จะเคลื่อนที่เข้าหาวัตถุในระหว่างการซูมจากปลายด้านมุมกว้าง ถึง

ปลายเทเลโฟโต้

6. เลนส์ซูม ตามข้อถือสิทธิ์ข้อที่ 1 ที่ซึ่ง หน่วยเลนส์สี่หน่วย หรือน้อยกว่านั้น จะเคลื่อนที่

ในระหว่างการซูม

7. เลนส์ซูม ตามข้อถือสิทธิ์ข้อที่ 1 ที่ซึ้ง หน่วยเลนส์ที่สองมีกำลังหักเหแสงเชิงบวก

8. เลนส์ซูม ตามข้อถือสิทธิ์ข้อที่ 1 ที่ซึ่ง หน่วยการเลื่อนรวมด้วยเลนส์กำลังบวก และเลนส์

5 กำลังลบ

9. เลนส์ซูม ตามข้อถือสิทธิ์ข้อที่ 1 ที่ซึ่ง หน่วยการเลื่อน ประกอบด้วย ชิ้นส่วนเลนส์ชิ้นเดียว

10. เลนส์ซูม ตามข้อถือสิทธิ์ข้อที่ 1 ที่ซึ่ง หน่วยเลนส์ที่หนึ่ง รวมถึง ตามลำดับจากด้านวัตถุถึง

ด้านภาพ เลนส์นูนเว้าที่หนึ่งที่มีกำลังหักเหแสงเชิงลบ ซึ่งนูนเข้าหาด้านวัตถุ และเลนส์นูนเว้า

ที่สองที่มีกำลังหักเหแสงเชิงลบ ซึ่งนูนเข้าหาด้านวัตถุ

11. เลนส์ซูม ตามข้อถือสิทธิ์ข้อที่ 1 ที่ซึ่ง หน่วยเลนส์ระดับกลางที่ N รวมถึง เลนส์สามชิ้นหรือ

มากกว่านั้น

12. เลนส์ซูม ตามข้อถือสิทธิ์ข้อที่ 1 ที่ซึ่ง อสมการที่ตามมานี้ ได้รับการทำให้สอดคล้อง

0.9 น้อยกว่าหรือเท่ากับ fN/(-f1)น้อยกว่าหรือเท่ากับ 4.5

ซึ่ง fN คือความยาวโฟกัสของหน่วยเลนส์ระดับกลางที่ N

13. เลนส์ซูม ตามข้อถือสิทธิ์ข้อที่ 1 ที่ซึ่ง อสมการที่ตามมานี้ ได้รับการทำให้สอดคล้อง

0.40น้อยกว่าหรือเท่ากับ(1- เบตาist) x เบตาisrt น้อยกว่าหรือเท่ากับ1.45

ซึ่ง เบตาist คือกำลังขยายตามขวางของหน่วยการเลื่อนที่ปลายเทเล โฟโต้ และ เบตาisrt คือ

กำลังขยายตามขวางของระบบเชิงแสง ที่รวมถึง เลนส์ทั้งหมดซึ่งจัดวางใกล้กับระนามภาพมากกว่า

หน่วยการเลื่อนที่ปลายเทเลโฟโต้

14. เลนส์ซูม ตามข้อถือสิทธิ์ข้อที่ 1 ที่ซึ่ง อสมการที่ตามมานี้ ได้รับการทำให้สอดคล้อง

0.4 น้อยกว่าหรือเท่ากับ MN/M2 น้อยกว่าหรือเท่ากับ1.2

ซึ่ง M2 คือปริมาณการเคลื่อนที่ของหน่วยเลนส์ที่สอง ในระหว่างการซูมจากปลายด้านมุม

กว้างถึงปลายเทเลโฟโต้ และ MN คือปริมาณการเคลื่อนที่ของหน่วยเลนส์ระดับกลางที่N ในระหว่าง

การซูม

15. เลนส์ซูม ตามข้อถือสิทธิ์ข้อที่ 1 ที่ซึ่ง ที่ซึ่ง อสมการที่ตามมานี้ ได้รับการทำให้สอดคล้อง

3.5 น้อยกว่าหรือเท่ากับ TTLw/fw น้อยกว่าหรือเท่ากับ8.9

ซึ่ง TTLW คือความยาวเชิงแสงโดยรวม ซึ่งคำนวณโดยการบวก BFw กับระยะทางบนแกน

เชิงแสงจากพื้นผิวเลนส์ของเลนส์ซูมที่ใกล้ที่สุด กับวัตถุถึงพื้นผิวเลนส์ที่ใกล้ที่สุด กับระนาบภาพของ

เลนส์ซูมที่ปลายด้านมุมกว้าง

16. เลนส์ซูม ตามข้อถือสิทธิ์ข้อที่ 1 ที่ซึ่ง อสมการที่ตามมานี้ ได้รับการทำให้สอดคล้อง

1.0น้อยกว่าหรือเท่ากับ fis/f2น้อยกว่าหรือเท่ากับ4.5

ซึ่ง f2 คือความยาวโฟกัสของหน่วยเลนส์ที่สอง

17. เลนส์ซูม ตามข้อถือสิทธิ์ข้อที่ 1 ที่ซึ่ง อสมการที่ตามมานี้ ได้รับการทำให้สอดคล้อง

0.54น้อยกว่าหรือเท่ากับ f2/(-f1)น้อยกว่าหรือเท่ากับ2.35

ซึ่ง f2 คือความยาวโฟกัสของหน่วยเลนส์ที่สอง

18. เลนส์ซูมตามข้อถือสิทธิ์ข้อที่ 1 ที่ซึ่ง หน่วยเลนส์ด้านหลังมีกำลังหักเหแสงเชิงลบ

19. เลนส์ซูมตามข้อถือสิทธิ์ข้อที่ 1 ที่ซึ่ง หน่วยเลนส์สุดท้ายที่มีกำลังหักเหแสงเชิงบวก ซึ่งจะ

ไม่เคลื่อนที่ในระหว่างการซูม ได้รับการจัดวางอยู่ใกล้ที่สุดกับระนาบภาพของเลนส์ซูม

20. เลนส์ซูม ตามข้อถือสิทธิ์ข้อที่ 1 ที่ซึ่ง อสมการที่ตามมานี้ ได้รับการทำให้สอดคล้อง

1.93น้อยกว่าหรือเท่ากับ fis/(-f1) น้อยกว่าหรือเท่ากับ 4.8

21. เลนส์ซูม ตามข้อถือสิทธิ์ข้อที่ 3 ที่ซึ่ง อสมการที่ตามมานี้ ได้รับการทำให้สอดคล้อง

1.93น้อยกว่าหรือเท่ากับ fis/(-f1) น้อยกว่าหรือเท่ากับ 4.8

22. เลนส์ซูม ซึ่งประกอบรวมด้วย ตามลำดับจากด้านวัตถุถึงด้านภาพ

หน่วยเลนส์ที่หนึ่งที่มีกำลังหักเหแสงเชิงลบ

หน่วยเลนส์ที่สอง

หน่วยเลนส์ระดับกลางหนึ่งหน่วยหรือมากกว่านั้น และ

หน่วยเลนส์ด้านหลัง

ที่ซึ่ง อย่างน้อยที่สุดหน่วยเลนส์ที่สอง และหน่วยเลนส์ระดับกลางหนึ่งหน่วย หรือมากกว่า

นั้นจะเคลื่อนที่ในระหว่างการซูม และระยะทางแต่ละค่าระหว่างหน่วยเลนส์ที่อยู่ใกล้เคียงกันจะ

เปลี่ยนแปลง และ

ที่ซึ่ง หน่วยเลนส์ระดับกลางหนึ่งหน่วย หรือมากกว่านั้น รวมถึง หน่วยเลนส์ระดับกลางที่ N

ซึ่งจัดวางอยู่ใกล้ที่สุดกับระนาบภาพ และหน่วยเลนส์ระดับกลางที่ N รวมถึงหน่วยการเลื่อนที่มีกำลัง

หักเหแสงเชิงบวก ซึ่งจัดวางอยู่ใกล้ที่สุดกับระนาบภาพ และเคลื่อนที่ได้ในทิศทางตั้งฉากกับแกนเชิง

แสงของเลนส์ซูม

23. เครื่องรับภาพ ซึ่งประกอบรวมด้วย

เลนส์ซูม ตามข้อถือสิทธิ์ข้อที่ 1 และ

ตัวตรวจรู้ภาพที่จัดโครงแบบเพื่อจับภาพวัตถุผ่านเลนส์ซูม