Application Type
Patents
Application SubType
National Patent
(10) Registration Number and Date
Status
ACTIVE ( Search and examination requested)
(180) Expiration Date
(20) Filing Number and Date
TH 2501003474 2025.05.27
(40) Publication Number and Date
${pbin}
(86) PCT Filing Number and Date
(87) PCT Publication Number and Date
(85) National Entry Date
(30) Priority Details
CN
CN2025100092656
2025.01.03
CN2025200275421
(51) IPC Classes
(72) Inventor
(TH) มาซาคาซู ฮิโนะ : ซี/โอ คูโบต้า คอร์ปอเรชั่น, โกลบอล อินสทิทิวท์ ออฟ เทคโนโลยี, 1-11, ทาคูมิ-โช, ซาไก-กุ, ซาไก-ชิ, โอซากา 5900908
(74) Representative
(TH) นาง ดารานีย์ วัจนะวุฒิวงศ์ : บริษัท ติลลิกีแอนด์กิบบินส์ อินเตอร์เนชั่นแนล จำกัด เลขที่ 1011 อาคารศุภาลัย แกรนด์ ทาวเวอร์ ชั้น 20-26 พระราม 3 ตำบลช่องนนทรี อำเภอยานนาวา จังหวัดกรุงเทพมหานคร
นางสาว สนธยา สังขพงศ์ : แห่ง บริษัท ติลลิกีแอนด์กิบบินส์ อินเตอร์เนชั่นแนล จำกัด เลขที่ 1011 อาคารศุภาลัย แกรนด์ ทาวเวอร์ ชั้นที่ 20-26 พระราม 3 ตำบลช่องนนทรี อำเภอยานนาวา จังหวัดกรุงเทพมหานคร
นาย ณัฐพล อร่ามเมือง : บริษัท ติลลิกีแอนด์กิบบินส์ อินเตอร์เนชั่นแนล จำกัด 1011 อาคารศุภาลัยแกรนด์ทาวเวอร์ ชั้น 20-26 พระราม 3 ตำบลช่องนนทรี อำเภอยานนาวา จังหวัดกรุงเทพมหานคร
(54) Title
(TH)

รถเก็บเกี่ยวอ้อย

(57) Abstract
(TH)

OCR 10KL (21/08/2568)

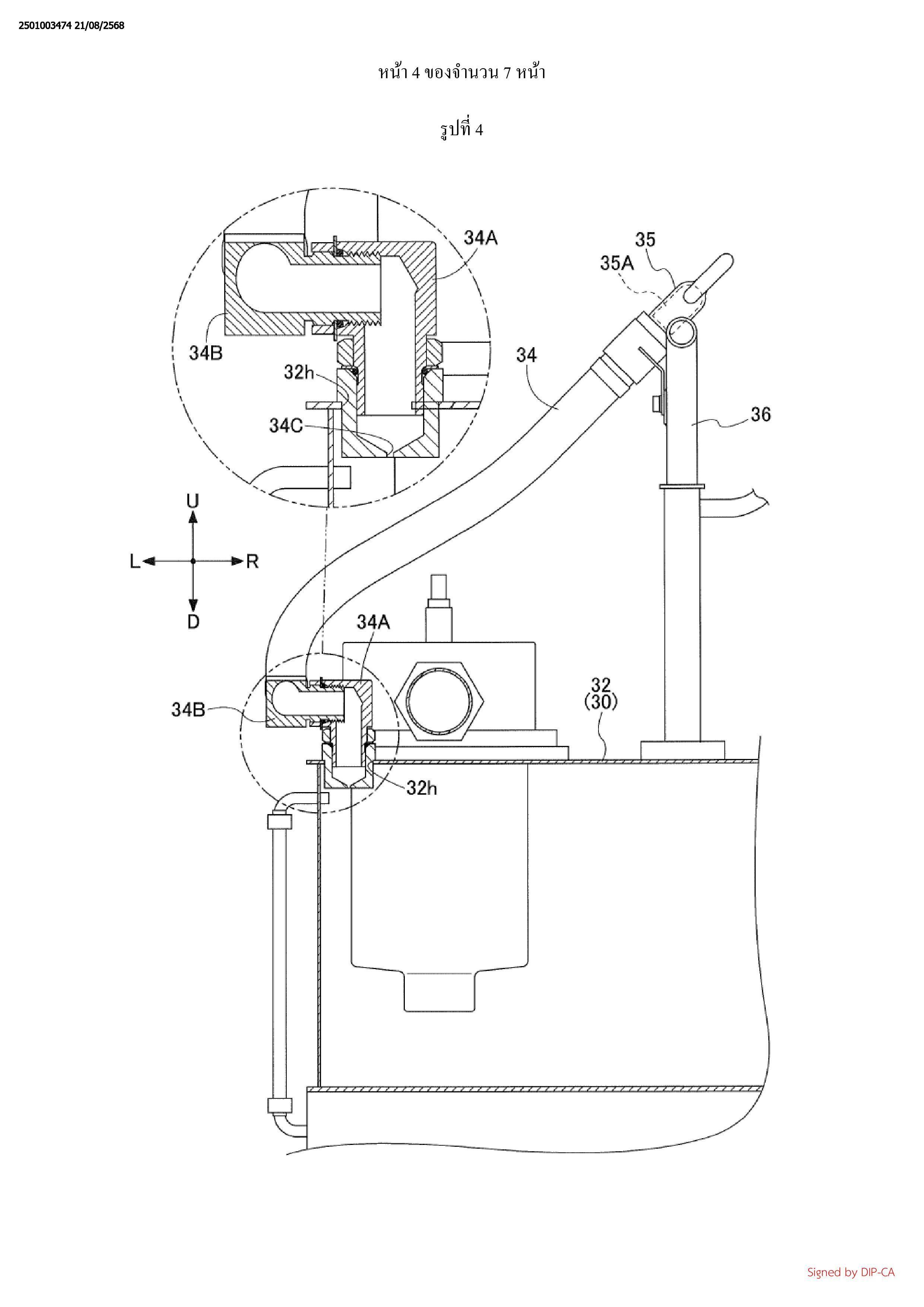
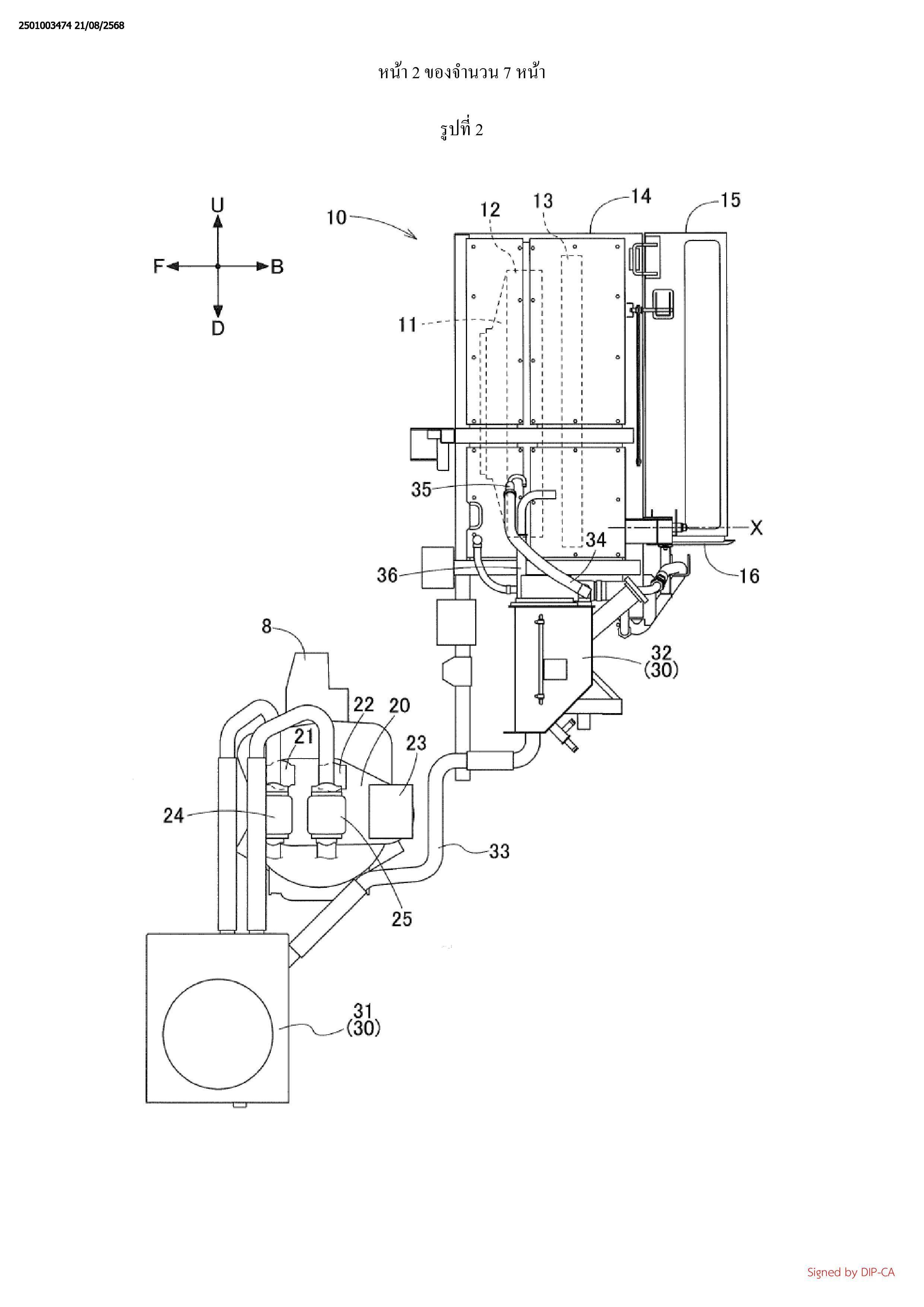
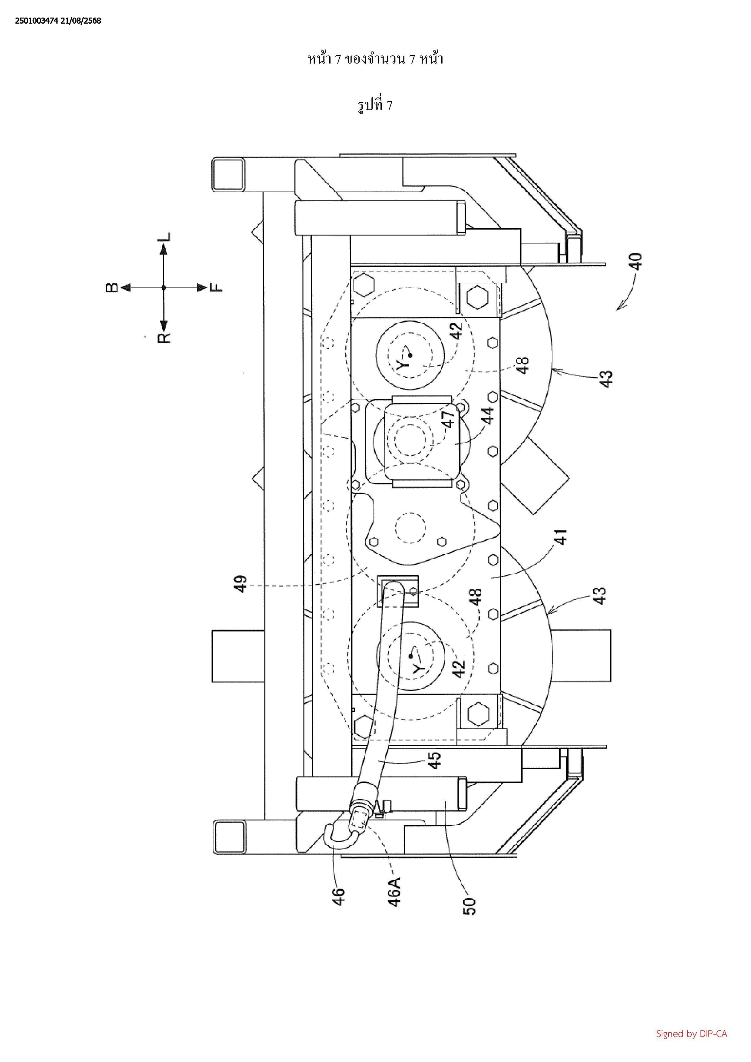
สิ่งที่ได้รับการเปิดเผยคือ การประกอบด้วยตัวอุปกรณ์ตัด 43 สำหรับตัดโคนต้นพืช, กลไกส่ง
กำลัง 47, 48, 49 สำหรับถ่ายทอดกำลังขับเคลื่อนไปยังอุปกรณ์ตัด 43 กับ, กล่องส่งกำลัง 41 ที่จัดเก็บ
น้ำมันหล่อลื่นที่ส่งไปยังกลไกส่งกำลัง 47, 48, 49 และบรรจุกลไกส่งกำลัง 47, 48, 49 กับ, ช่องระบาย
อากาศ 46 ที่อนุญาติให้อากาศเข้าและออกภายในกล่องส่งกำลัง 41 กับ, ท่อต่อขยาย 45 ที่ต่อกับกล่อง
ส่งกำลัง 41 กับช่องระบายอากาศ 46, และเชื่อมต่อด้านในของกล่องส่งกำลัง 41 กับช่องระบายอากาศ
46, ที่ซึ่งท่อต่อขยาย 45 ขยายขึ้นด้านบนจากส่วนบนของกล่องส่งกำลัง 41

 

(58) Citations
License Details
(98) Annuity Details
YearValidity StartValidity EndPayment
Document Type Date Action
abstract 2025-11-03T00:00:00Z
claims 2025-11-03T00:00:00Z
gazette 2025-11-03T00:00:00Z
description 2025-11-03T00:00:00Z
Event NameDateLink
Application filed2025-05-27
Document published2025-11-03
Search and examination requested2025-11-06

1

OCR 10KL (21/08/2568)

1. เครื่องเก็บเกี่ยวอ้อยซึ่งประกอบรวมด้วย:
อุปกรณ์ตัด (43) สำหรับตัดโคนต้นพืชที่ปลูก;
กลไกส่งกำลัง (47, 48, 49) สำหรับส่งกำลังขับเคลื่อนไปยังอุปกรณ์ตัด (43);
กล่องส่งกำลัง (41) ที่จัดเก็บน้ำมันหล่อลื่นที่จะส่งไปยังกลไกส่งกำลัง (47, 48, 49) และบรรจุ
กลไกส่งกำลัง (47, 48, 49);
ช่องระบายอากาศ (46) ที่อนุญาตให้อากาศเข้าและออกภายในกล่องส่งกำลัง (41); และ
ท่อต่อขยาย (45) ที่ต่อกับกล่องส่งกำลัง (41) กับช่องระบายอากาศ (46), และเชื่อมต่อด้านใน
ของกล่องส่งกำลัง (41) กับช่องระบายอากาศ (46),
ที่ซึ่งท่อต่อขยาย (45) ขยายขึ้นด้านบนจากส่วนบนของกล่องส่งกำลัง (41)
2. รถเก็บเกี่ยวอ้อยตามข้อถือสิทธิที่ 1
ที่ซึ่งช่องระบายอากาศ (46) สามารถต่อเข้าถอดออกกับท่อต่อขยาย (45) ได้
3. รถเก็บเกี่ยวอ้อยตามข้อถือสิทธิที่ 1 หรือ 2 ซึ่งประกอบรวมเพิ่มเติมด้วยมอเตอร์ (44) ที่
เชื่อมโยงกับกลไกส่งกำลัง (47, 48, 49) และทำหน้าที่ขับเคลื่อนกลไกส่งกำลัง (47, 48, 49),
ที่ซึ่งมอเตอร์ (44) เชื่อมต่อกับส่วนของกล่องส่งกำลัง (41) ซึ่งเยื้องไปด้านหนึ่งในทิศทางซ้าย
ขวาของตัวเครื่อง, และ
ท่อต่อขยาย (45) เชื่อมต่อกับส่วนของกล่องส่งกำลัง (41) ซึ่งเยื้องไปอีกด้านหนึ่งในทิศ
ทางซ้ายขวาของตัวเครื่อง
4. รถเก็บเกี่ยวอ้อยตามข้อใดข้อหนึ่งของข้อถือสิทธิที่ 1 ถึง 3
ที่ซึ่งท่อต่อขยาย (45) ถูกดัดโค้งเพื่อให้ส่วนที่สูงกว่าของท่อต่อขยายอยู่ห่างออกไปทางด้าน
นอกในแนวนอนมากกว่าเมื่อเทียบกับตัวเครื่อง
5. รถเก็บเกี่ยวอ้อยตามข้อใดข้อหนึ่งของข้อถือสิทธิที่ 1 ถึง 4 ซึ่งประกอบรวมเพิ่มเติมด้วย:
อุปกรณ์เดินทาง (1, 2); และ
โครงตัวเครื่อง (50) ที่รองรับอุปกรณ์เดินทาง (1, 2),
ที่ซึ่งส่วนปลายสุดของท่อต่อขยาย (45) ถูกรองรับโดยโครงตัวเครื่อง (50)