Application Type
Patent - Foreign
Application SubType
Patent - PCT National Phase
(10) Registration Number and Date
Status
ACTIVE ( Application filed)
(180) Expiration Date
(20) Filing Number and Date
LA P/928 2023.10.10
(40) Publication Number (Gazette Number) and Date
(86) PCT Filing Number and Date
(87) PCT Publication Number and Date
(85) National Entry Date
(30) Priority Details
(74) Representative
(LA) Lao Trademark Agency : 148-149 Ban Sisavath Kang, Unit 16 Chanthabury District, P.O. Box: 925, Vientiane
(54) Title
(LA) (EN) ເຄື່ອງແລ່ນສາຍພານ
(57) Abstract
(EN) (LA)

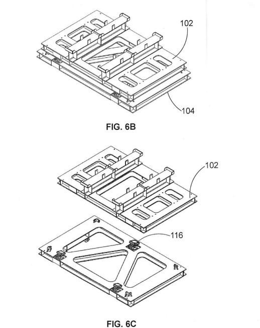
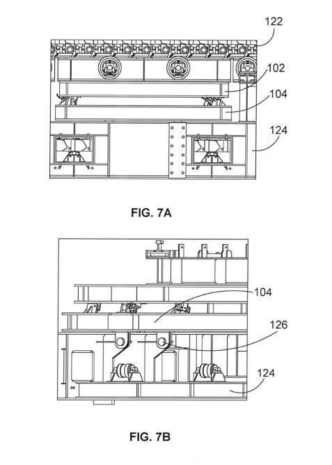
The disclosure relates to a feeder apparatus, system and method applied to the movement of bulk material and in particular for the movement of bulk run of mine material from a working site. ln particular, a feeder is disclosed comprising: a feed device having a material receiving end for receiving material; a material discharge end distal of the material receiving end; an endless conveyor disposed to define a conveying surface between the material receiving end and the discharge end movable in use to cause material received at the material receiving end to be conveyed to the material discharge end, wherein the endless conveyor comprises a plurality of successively arrayed metal plates, pans or flights; a material flow monitoring device disposed in association with the feed device and adapted to obtain in use a measurement representative of a quantity of material passing along the conveying surface of the endless conveyor; wherein the material flow monitoring device is adapted to obtain a measurement representative of a weight of material passing along the conveyor.

(EN) (LA)

ການເປີດເຜີຍແມ່ນກ່ຽວຂ້ອງກັບອຸປະກອນເຄື່ອງປ້ອນ,

ລະບົບວິທີການນໍາໃຊ້ກັບການເຄື່ອນໄຫວຂອງວັດສະດຸຫຼາຍ ແລະ ໂດຍສະເພາະສໍາລັບການເຄື່ອນໄຫວຂອງການແລ່ນຫຼາຍອຸປະກອນການຂຸດຄົ້ນບໍ່ແຮ່ຈາກສະຖານທີ່ເຮັດວຽກ. ໂດຍສະເພາະ, ອຸປະກອນເຄື່ອງປ້ອນໄດ້ຖືກເປີເຜີຍປະກອບດ້ວຍ: 

ອຸປະກອນອາຫານທີ່ມີຈຸດຮັບວັດສະດຸສໍາລັບຮັບວັດສະດຸ; ວັດສະດຸຂອງສີ້ນທີ່ໄດ້ຮັບວັດສະດຸ;

ສາຍພານທີ່ບໍ່ມີສີ້ນສຸດເພື່ອກໍານົດພື້ນຜິວລໍາລຽງລະຫວ່າງປາຍຮັບວັດສະດຸ ແລະ ສິ້ນສາມາດເຄື່ອນຍ້າຍໄດ້ໃນການນໍາໃຊ້ເພື່ອເຮັດໃຫ້ວັດສະດຸທີ່ໄດ້ຮັບໃນຕອນທ້າຍຮັບວັດສະດຸຖືກສົ່ງກັບທ້າຍການໄຫຼຂອງວັດສະດຸ, ໃນນັ້ນ ເຄື່ອງລໍາລຽງທີ່ບໍ່ມີສິ້ນສຸດປະກອບດ້ວຍຫຼາຍຂອງໂລຫະ arrayed ຢ່າງຕໍ່ເນື່ອງ.

ຈານ,ໝໍ້ ຫຼື ຖ້ຽວບິນ;

ອຸປະກອນຕິດຕາມການໄຫຼຂອງວັດສະດຸທີ່ຖືກຖີ້ມຢູ່ໃນສະມາຄົມກັບອຸປະກອນອາຫານ ແລະ ດັດແປງເພື່ອໃຫ້ໄດ້ໃນການນໍາໃຊ້ຕົວແທນການວັດແທກຂອງປະລິມານຂອງວັດສະດຸທີ່ຜ່ານໜ້າດິນຂອງລໍາລຽງທີ່ບໍ່ມີວັນສີ້ນສຸດ;

ໃນນັ້ນ ອຸປະກອນຕິດຕາມການໄຫຼຂອງວັດສະດຸແມ່ນປັບຕົວເພື່ອໃຫ້ໄດ້ຮັບຕົວແທນການວັດແທກຂອງນໍ້າຂອງອຸປະກອນທີ່ຜ່ານການລໍາລຽງໄດ້.

(58) Citations
License Details
(98) Annuity Details
YearValidity StartValidity EndPayment
Event NameDateLink
Application filed2023-10-10