Application Type
Patents
Application SubType
National Patent
(10) Registration Number and Date
Status
ACTIVE ( Search and examination requested)
(180) Expiration Date
(20) Filing Number and Date
TH 2501005326 2025.08.08
(40) Publication Number (Gazette Number) and Date
(47/2568)
2025.11.24
(86) PCT Filing Number and Date
(87) PCT Publication Number and Date
(85) National Entry Date
(30) Priority Details
CN
CN202422144852.X
2024.09.02
CN2024221448642
2024.08.16
CN2024220019461
(51) IPC Classes
(71/73) Applicant
(TH) หานซาน รุยเคอ เมทัล โค., แอลทีดี.
(72) Inventor
(TH) เกา พาน
ซี จวังเวย์
หวัง จื่ออี้
(74) Representative
(TH) นางสาว มนต์ณัฐ ธีระชาติ : บริษัท อนันต์ดา อินเทลเลคชวล พร็อพเพอร์ตี้ จำกัด 20 อาคารบุพจิตชั้น 16 สาทรเหนือ ตำบลสีลม อำเภอบางรัก จังหวัดกรุงเทพมหานคร
นาย กฤชากร นิ่มเวไนย์ : บริษัท อนันต์ดา อินเทลเลคชวล พร็อพเพอร์ตี้ จำกัด 20 อาคารบุปผจิต ชั้นที่ 16 ห้องเอ1 สาทรเหนือ ตำบลสีลม อำเภอบางรัก จังหวัดกรุงเทพมหานคร
(54) Title
(TH)

ตัวจ่ายสารทำความเย็นแบบไหลสม่ำเสมอ ชุดตัวแลกเปลี่ยนความร้อน และอุปกรณ์ทำความเย็น

(57) Abstract
(TH)

OCR 09WP 25/09/2568
การประดิษฐ์นี้จัดให้มีตัวจ่ายสารทำความเย็นแบบไหลสม่ำเสมอ, ชุดตัวแลกเปลี่ยนความร้อน และ
อุปกรณ์ทำความเย็น และตัวจ่ายสารทำความเย็นแบบไหลสม่ำเสมอรวมถึงส่วนลำตัวและแผ่นกั้น ช่องของ
ชุดท่อนำเข้าของเหลวถูกสร้างขึ้นที่ปลายทางเข้าของเหลวของส่วนลำตัว และผนังด้านในของปลายทางเข้า
ของเหลวของส่วนลำตัวยื่นในแนวเฉียงออกไปยังปลายทางออกของเหลวของส่วนลำตัว โดยมีตัวสร้างเป็น
ส่วนโค้งหรือเส้นตรงเฉียง และช่องท่อแยกจำนวนหนึ่งถูกสร้างขึ้นที่ปลายทางออกของของเหลวของส่วน
ลำตัว แผ่นกันแบ่งห้องรองรับออกเป็นห้องแรกและห้องที่สอง และช่องแผ่นกั้นจำนวนหนึ่งถูกสร้างขึ้นใน
แผ่นกั้นในลักษณะการกระจายตัวแบบวงกลมรอบเส้นกึ่งกลางของส่วนลำตัว และช่องแผ่นกั้นจำนวนหนึ่งอยู่
ในลักษณะแบบสอดคล้องตรงกันแบบหนึ่งต่อหนึ่งกับช่องท่อแยกจำนวนหนึ่ง และถูกจัดไว้บนขอบรอบนอก
ของช่องของชุดท่อนำเข้าของเหลวเมื่อยื่นออกไปตามทิศทางตามแนวแกนของส่วนลำตัว บนผนังด้านใน
ของปลายทางเข้าของเหลว เส้นที่เชื่อมตำแหน่งการยื่น A ของขอบด้านนอกของปลายด้านปลายทางของช่อง
แผ่นกันตามทิศทางตามแนวแกนของส่วนลำตัวและจุดศูนย์กลาง O ของปลายด้านปลายทางของช่องของชุด
ท่อนำเข้าของเหลวก่อให้เกิดมุม อัลฟา เทียบกับทิศทางตามแนวรัศมีของแผ่นกัน และ 8องศา น้อยกว่าหรือเท่ากับ อัลฟา น้อยกว่าหรือเท่ากับ 17องศา และ
ระยะห่างตามแนวแกน H1 จากพื้นผิวของแผ่นกั้นซึ่งปลายด้านต้นทางของช่องแผ่นกั้นถูกจัดไว้ที่ตำแหน่งการ
ยื่น A จะเป็นไปตาม: 1 มม. น้อยกว่าหรือเท่ากับ H1 น้อยกว่าหรือเท่ากับ 5 มม.

(58) Citations
License Details
(98) Annuity Details
YearValidity StartValidity EndPayment
Document Type Date Action
claims 2025-11-24T00:00:00Z
abstract 2025-11-24T00:00:00Z
gazette 2025-11-24T00:00:00Z
description 2025-11-24T00:00:00Z
Event NameDateLink
Application filed2025-08-08
Document published2025-11-24
Search and examination requested2025-12-29

1

OCR 09WP 25/09/2568
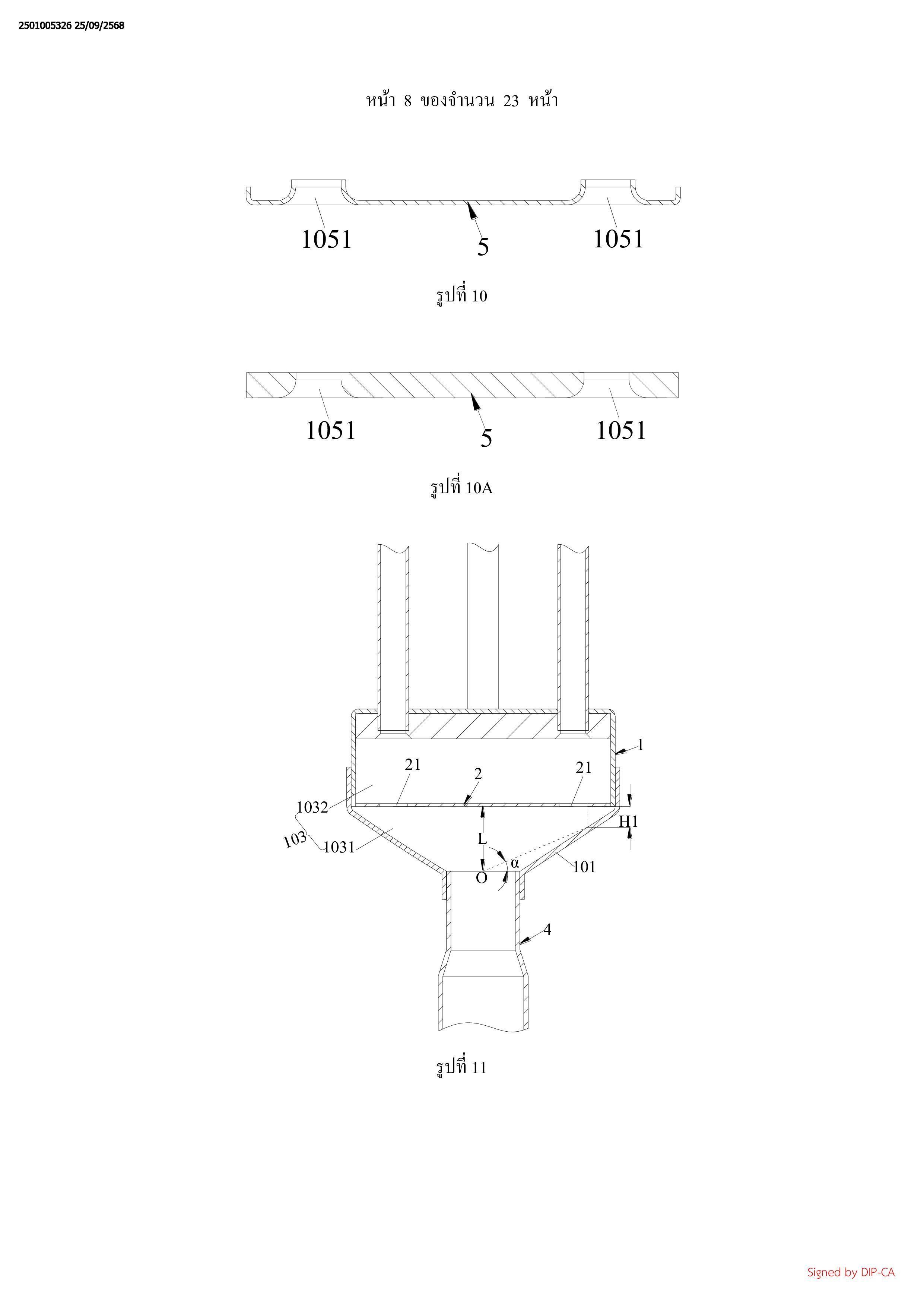
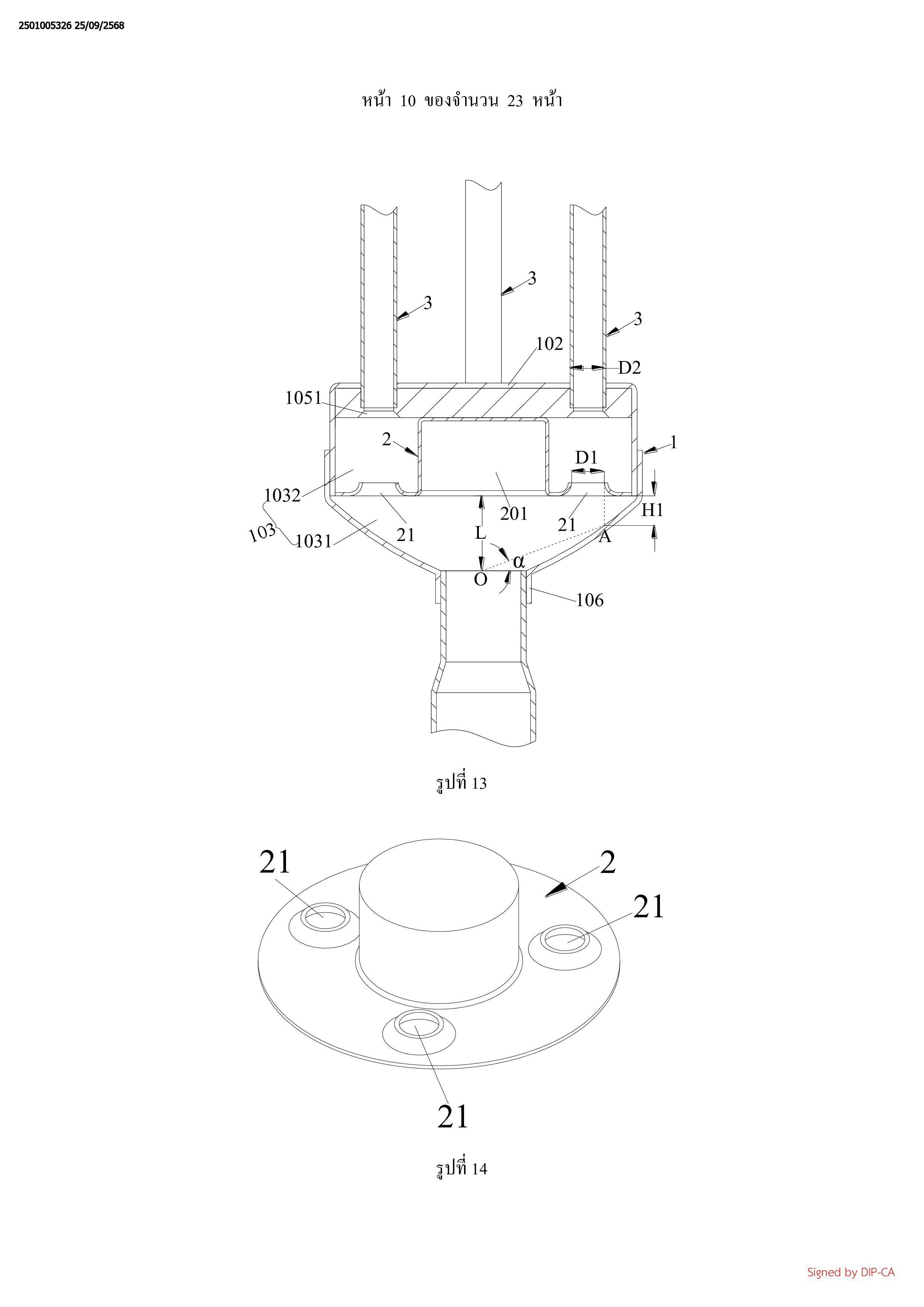
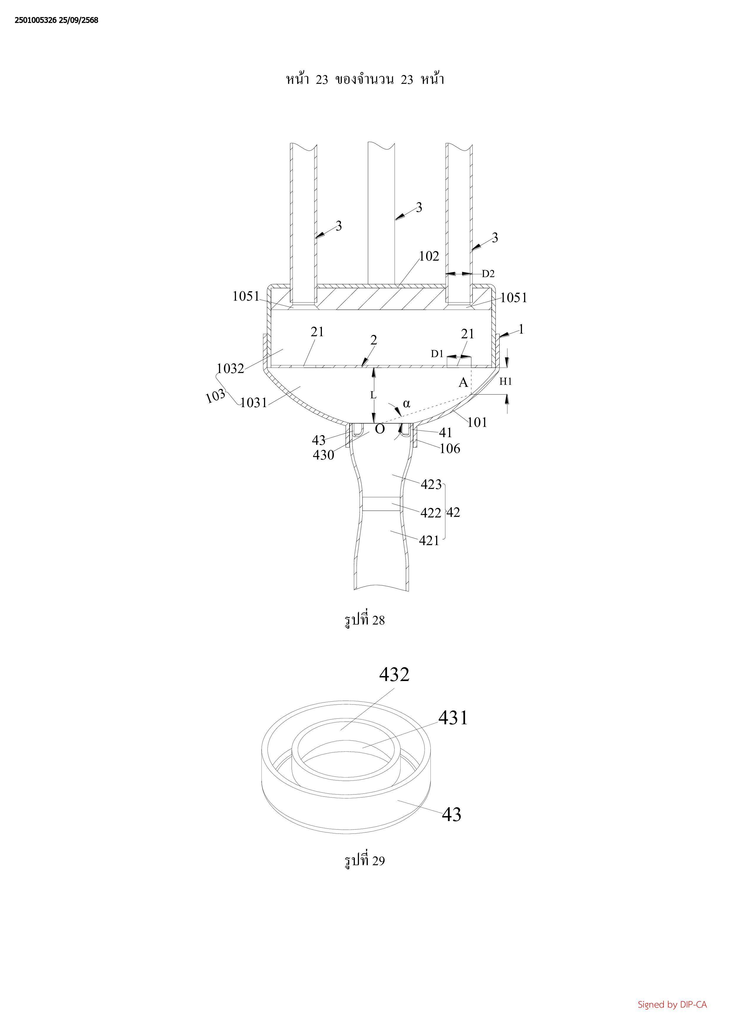
1. ตัวจ่ายสารทำความเย็นแบบไหลสม่ำเสมอ ที่มีลักษณะเฉพาะโดยที่ประกอบรวมด้วย:
ส่วนลำตัว ที่ประกอบรวมด้วยปลายทางเข้าของเหลว, ปลายทางออกของเหลว, และ
ห้องรองรับที่เชื่อมต่อกับปลายทางเข้าของเหลวและปลายทางออกของเหลวอย่างแยกกัน ที่ซึ่ง
ช่องของชุดท่อนำเข้าของเหลวถูกสร้างขึ้นที่ปลายทางเข้าของเหลวของส่วนลำตัว, ผนังด้านในของ
ปลายทางเข้าของเหลวยื่นในแนวเฉียงออกไปยังปลายทางออกของเหลวของส่วนลำตัว โดยมีตัวสร้าง
ของผนังด้านในเป็นส่วนโค้งหรือเส้นตรงเฉียง และช่องท่อแยกจำนวนหนึ่งสำหรับจ่ายของเหลวถูก
สร้างขึ้นที่ปลายทางออกของเหลวของส่วนลำตัว
แผ่นกั้น ที่จัดไว้ด้านในห้องรองรับของส่วนลำตัวเพื่อแบ่งห้องรองรับออกเป็นห้องที่หนึ่ง
และห้องที่สอง, ช่องแผ่นกั้นจำนวนหนึ่งที่กระจายเป็นรูปวงกลมรอบเส้นกึ่งกลางของส่วนลำตัว และ
เชื่อมต่อกับห้องที่หนึ่งและห้องที่สองถูกสร้างขึ้นในแผ่นกั้น, ช่องแผ่นกั้นจำนวนหนึ่งถูกใช้เพื่อให้อยู่
ในลักษณะแบบสอดคล้องตรงกันแบบหนึ่งต่อหนึ่งกับช่องท่อแยกจำนวนหนึ่ง, และถูกจัดไว้บนขอบ
รอบนอกของช่องของชุดท่อนำเข้าของเหลวเมื่อยื่นออกไปตามทิศทางตามแนวแกนของส่วนลำตัว
และ
บนผนังด้านในของปลายทางเข้าของเหลว เส้นที่เชื่อมตำแหน่งการฉายภาพ A ของขอบด้าน
นอกของปลายด้านปลายทางของช่องแผ่นกันตามทิศทางตามแนวแกนของส่วนลำตัวและจุด
ศูนย์กลาง O ของปลายด้านปลายทางของช่องของชุดท่อนำเข้าของเหลวก่อให้เกิดมุม อัลฟา เทียบกับ
ทิศทางรัศมีของแผ่นกั้น, และ 8องศา น้อยกว่าหรือเท่ากับ อัลฟา น้อยกว่าหรือเท่ากับ 17องศา, ระยะห่างตามแนวแกน H1 จากพื้นผิวของแผ่นกั้นซึ่ง
ปลายด้านต้นทางของช่องแผ่นกั้นถูกจัดไว้ที่ตำแหน่งการฉายภาพ A จะเป็นไปตาม: 1 มม. น้อยกว่าหรือเท่ากับ H1 ≤ 5
มม. และขอบด้านนอกของปลายด้านปลายทางของช่องแผ่นกั้นหมายถึงขอบของปลายด้านปลายทาง
ของช่องแผ่นกั้นที่อยู่ไกลที่สุดจากเส้นกึ่งกลางของส่วนลำตัว
2. ตัวจ่ายสารทำความเย็นแบบไหลสม่ำเสมอตามข้อถือสิทธิข้อ 1 ที่มีลักษณะเฉพาะที่ว่าช่องแผ่นกั้น
จำนวนหนึ่งถูกทำให้กระจายโดยมีช่องเว้นระยะห่างเท่ากันออกเป็นรูปวงกลมในแผ่นกั้น, จำนวน
ของช่องแผ่นกั้นเท่ากับจำนวนของช่องท่อแยก, แต่ละช่องแผ่นกั้นมีแกนกลางร่วมกันอย่างเป็น
พื้นฐานกับช่องท่อแยกที่สอดคล้องตรงกัน, และอัตราส่วนของเส้นผ่านศูนย์กลาง D1 ของปลายด้าน
ปลายทางของช่องแผ่นกั้นต่อเส้นผ่านศูนย์กลางภายนอก D2 ของท่อแยกที่สอดเข้าไปในช่องท่อแยก
ถูกเซทเป็น 0.8-1.2
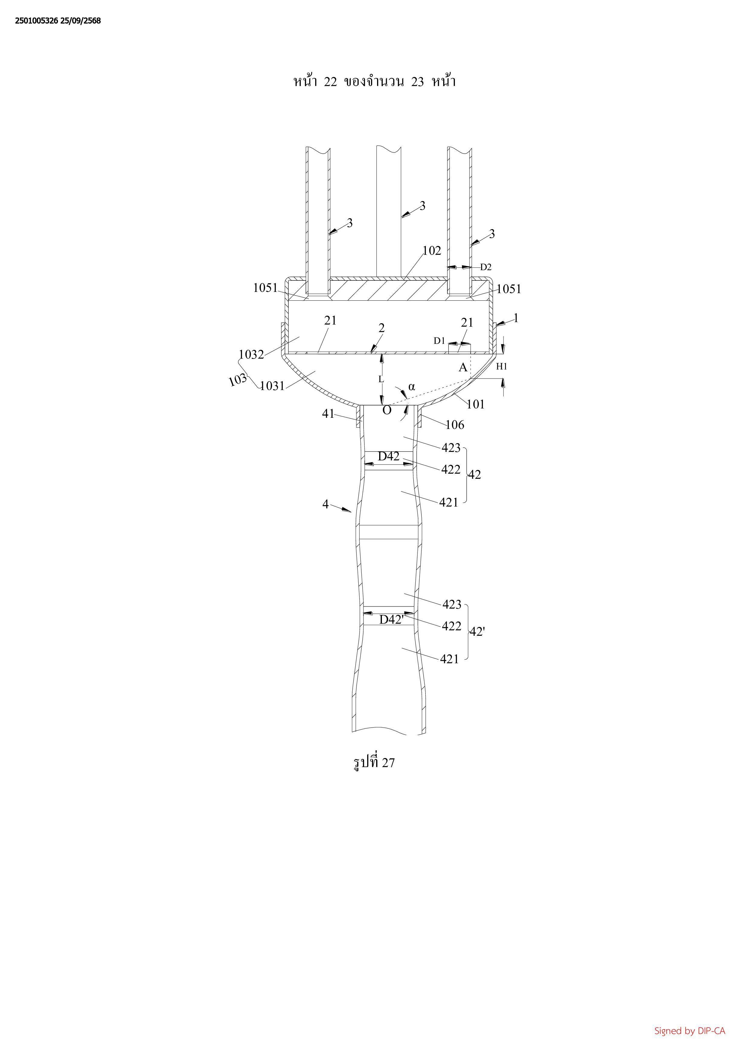
3. ตัวจ่ายสารทำความเย็นแบบไหลสม่ำเสมอตามข้อถือสิทธิข้อ 1 ที่มีลักษณะเฉพาะที่ว่าตัวจ่าย
สารทำความเย็นแบบไหลสม่ำเสมอยังประกอบรวมด้วยท่อแยกจำนวนหนึ่งเชื่อมต่ออย่างเป็นลำดับกับ
ช่องท่อแยก แต่ละท่อแยกประกอบรวมด้วยส่วนท่อที่หนึ่งและส่วนท่อที่สองที่จัดไว้ด้านปลายทาง
ของส่วนท่อที่หนึ่ง และโดยมีเส้นผ่านศูนย์กลางภายในลดลงเมื่อเทียบกับเส้นผ่านศูนย์กลางภายใน
ของปลายด้านปลายทางของส่วนท่อที่หนึ่ง, และผลต่าง เดลตาd ระหว่างเส้นผ่านศูนย์กลางภายใน d11
ของปลายด้านปลายทางของส่วนท่อที่หนึ่งและเส้นผ่านศูนย์กลางภายใน d12 ของปลายด้านปลายทาง
ของส่วนท่อที่สองเท่ากับ: 0.1 มม. น้อยกว่าหรือเท่ากับ เดลตาd น้อยกว่าหรือเท่ากับ 3.5 มม.; และส่วนสะท้อนกลับ (reflective section) ซึ่ง
โค้งงอและยื่นออกไปด้านหนึ่งเมื่อเทียบกับเส้นกึ่งกลางของช่องท่อแยกถูกสร้างขึ้นบนท่อส่วนแรก,
แกนที่ปลายด้านต้นทางของส่วนสะท้อนกลับตัดกับแกนที่ปลายด้านปลายทางของส่วนสะท้อนกลับ
เพื่อก่อให้เกิดมุม เธตา ที่ซึ่ง 90องศา น้อยกว่าหรือเท่ากับ เธตา 175องศา; และเทียบกับส่วนสะท้อนกลับ แกนของส่วนท่อที่สอง
ตัดกับเส้นกึ่งกลางของช่องท่อแยก
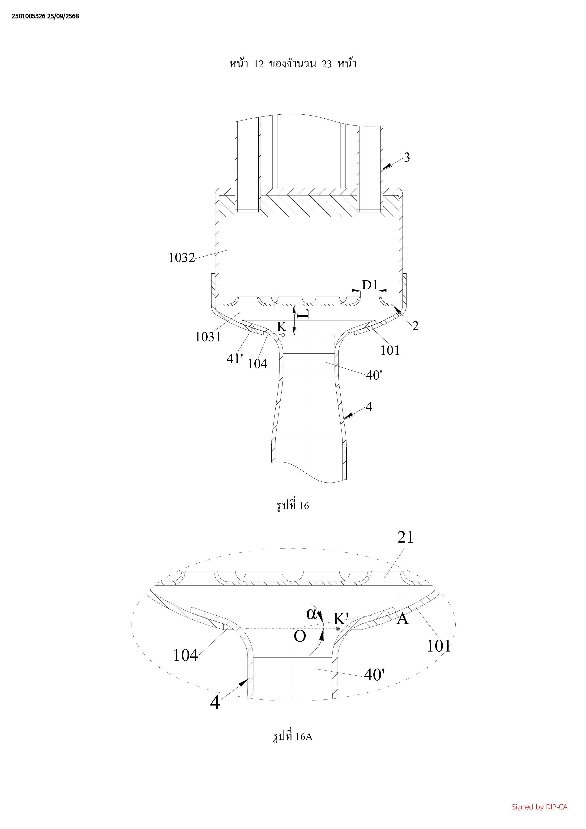
4. ตัวจ่ายสารทำความเย็นแบบไหลสม่ำเสมอตามข้อถือสิทธิข้อ 1 ที่มีลักษณะเฉพาะที่ว่าตัวจ่าย
สารทำความเย็นแบบไหลสม่ำเสมอยังประกอบรวมด้วยท่อแยกจำนวนหนึ่งที่เชื่อมต่ออย่างเป็นลำดับ
กับช่องท่อแยกจำนวนหนึ่ง, แต่ละท่อแยกประกอบรวมด้วยส่วนตรงสำหรับเชื่อมต่อ, ส่วนพ่นที่ถูกจัด
ไว้ด้นปลายทางของส่วนตรงสำหรับเชื่อมต่อและโดยมีเส้นผ่านศูนย์กลางภายในลดลงเมื่อเทียบกับ
เส้นผ่านศูนย์กลางภายในของส่วนลำตัวที่เป็นส่วนตรงสำหรับเชื่อมต่อ, และส่วนแยกที่ถูกจัดไว้ด้าน
ปลายทางของส่วนพ่น, และส่วนแยกถูกจัดไว้กับส่วนที่มีเส้นผ่านศูนย์กลางเท่ากันโดยที่เส้นผ่าน
ศูนย์กลางภายในโดยพื้นฐานประมาณเท่ากับเส้นผ่านศูนย์กลางภายในของส่วนลำตัวที่เป็นส่วนตรง
สำหรับเชื่อมต่อ, และผลต่าง เดลตาd' ระหว่างเส้นผ่านศูนย์กลางภายใน d11' ของส่วนลำตัวที่เป็นส่วน
ตรงสำหรับเชื่อมต่อและเส้นผ่านศูนย์กลางภายในน้อยที่สุด d12' ของส่วนพ่นเท่ากับ: 0.1 มม.
น้อยกว่าหรือเท่ากับ เดลตาd' น้อยกว่าหรือเท่ากับ 3.5 มม.
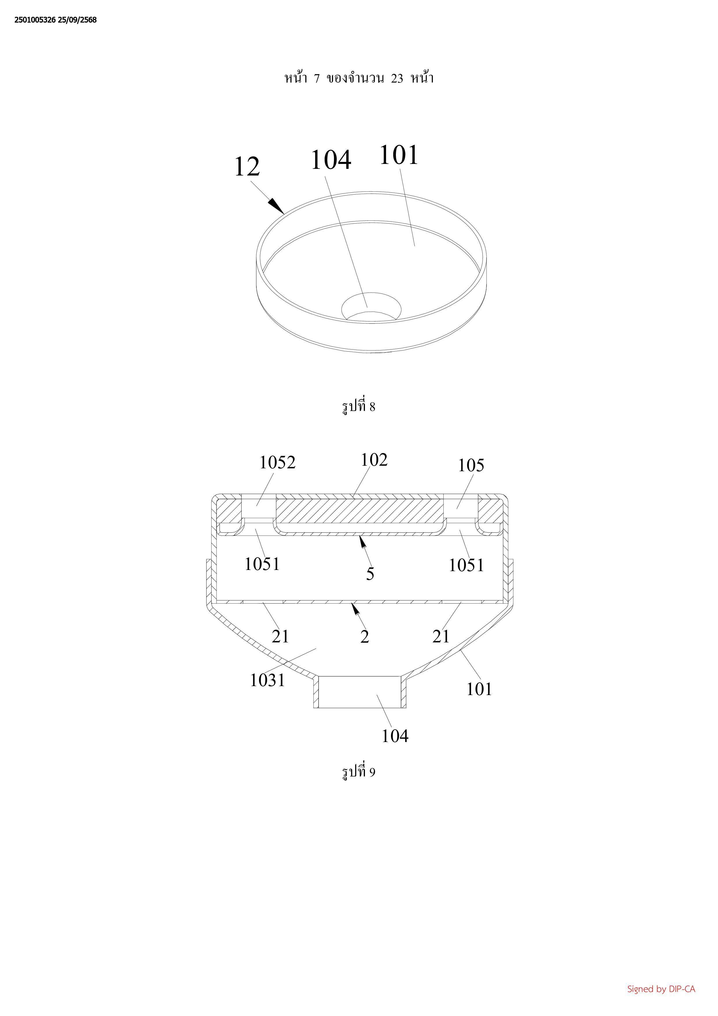
5. ตัวจ่ายสารทำความเย็นแบบไหลสม่ำเสมอตามข้อถือสิทธิข้อ 1 ที่มีลักษณะเฉพาะที่ว่าช่องแผ่นกันคือ
ช่องผ่านทะลุที่มีเส้นผ่านศูนย์กลางเท่ากันโดยพื้นฐาน;
เส้นผ่านศูนย์กลางของช่องแผ่นกั้นค่อย ๆ ลดลงตามทิศทางการไหลของสารทำความเย็น,
และตัวสร้างของผนังด้านในของช่องแผ่นกั้นเป็นเส้นตรงหรือเส้นโค้ง; หรือ
ช่องแผ่นกั้น เป็นเป็นช่องฟองรูปโค้งที่มีผนังช่องยื่นออกไปทางด้านใดด้านหนึ่งหรือทั้งสอง
ด้านของแผ่นกั้น
6. ตัวจ่ายสารทำความเย็นแบบไหลสม่ำเสมอตามข้อถือสิทธิข้อ 1 ที่มีลักษณะเฉพาะที่ว่าแผ่นกั้นเป็น
โครงสร้างแบบแผ่นที่มีพื้นผิวด้านเกือบแบนสองด้าน; หรือ
บริเวณบนแผ่นกั้นตรงข้ามกับช่องของชุดท่อนำเข้าของเหลวเว้าไปในทิศทางที่ปลายทางออก
ของเหลวของส่วนลำตัวถูกจัดไว้ที่นั้นเพื่อทำให้เกิดห้องผสมสะท้อนกลับที่มีช่องเปิดหันเข้าหาช่อง
ของชุดท่อนำเข้าของเหลว
7. ตัวจ่ายสารทำความเย็นแบบไหลสม่ำเสมอตามข้อถือสิทธิข้อ 1 ที่มีลักษณะเฉพาะที่ว่าตัวจ่าย
สารทำความเย็นแบบไหลสม่ำเสมอยังประกอบรวมด้วยท่อนำเข้าของเหลวที่เชื่อมกับช่องของชุดท่อ
นำเข้าของเหลว, และความยาวแกน L จากพื้นผิวปลายทางออกของเหลวของท่อนำเข้าของเหลวถึง
พื้นผิวของแผ่นกั้นซึ่งปลายด้านต้นทางของช่องแผ่นกั้นถูกจัดไว้เป็นไปตาม 3.5 มม. น้อยกว่าหรือเท่ากับ L น้อยกว่าหรือเท่ากับ 11.5 มม.
8. ตัวจ่ายสารทำความเย็นแบบไหลสม่ำเสมอตามข้อถือสิทธิข้อ 7 ที่มีลักษณะเฉพาะที่ว่าส่วนเชื่อมต่อที่
เชื่อมกับช่องของชุดท่อนำเข้าของเหลวถูกทำให้เกิดขึ้นบนท่อนำเข้าของเหลว, และส่วนเชื่อมต่อเป็น
ส่วนตรง; หรือ
ส่วนเชื่อมต่อมีโครงสร้างที่ค่อย ๆ ยื่นโดยมีตัวสร้างของผนังด้านนอกเป็นเส้นที่มีรูปโค้ง,
ส่วนเชื่อมต่อยื่นเข้าไปยังห้องที่หนึ่งผ่านช่องของชุดท่อนำเข้าของเหลว, และผนังด้านนอกของ
ส่วนเชื่อมต่อถูกเชื่อมติดกับผนังด้านในของปลายทางเข้าของเหลวของส่วนลำตัว
9. ตัวจ่ายสารทำความเย็นแบบไหลสม่ำเสมอตามข้อถือสิทธิข้อ 7 ที่มีลักษณะเฉพาะที่ว่าท่อนำเข้า
ของเหลวคือท่อทรงกลมที่มีความหนาของผนังเท่ากันโดยพื้นฐาน, ท่อนำเข้าของเหลวถูกเชื่อมต่อกับ
ช่องของชุดท่อนำเข้าของเหลว และประกอบรวมด้วยส่วนท่อเวนทูริ (Venturi pipe section) อย่างน้อย
หนึ่งส่วน ส่วนท่อเวนทูริแต่ละส่วนประกอบรวมด้วยส่วนเรียวที่มีเส้นผ่านศูนย์กลางภายในที่ค่อย ๆ
ลดลง, ส่วนตรงคล้ายคอคอดที่มีเส้นผ่านศูนย์กลางภายในเท่ากันโดยพื้นฐาน และส่วนที่ค่อยๆ เพิ่มขึ้น
โดยมีเส้นผ่านศูนย์กลางภายในค่อยๆ เพิ่มขึ้น ซึ่งกระจายตามลำดับตามทิศทางการไหลของ
สารทำความเย็น
10. ตัวจ่ายสารทำความเย็นแบบไหลสม่ำเสมอตามข้อถือสิทธิข้อ 9 ที่มีลักษณะเฉพาะที่ว่าส่วนท่อเวนทูริ
สองส่วนที่เชื่อมต่อแบบอนุกรมถูกสร้างขึ้นบนท่อนำเข้าของเหลว กล่าวคือส่วนท่อเวนทูริด้าน
ต้นทางและส่วนท่อเวนทูริด้านปลายทาง, เส้นผ่านศูนย์กลางภายในของส่วนตรงคล้ายคอคอดของ
ส่วนท่อเวนทูริด้านปลายทางน้อยกว่าหรือเท่ากับเส้นผ่านศูนย์กลางภายในของส่วนตรงคล้ายคอคอด
ของส่วนท่อเวนทูริด้านต้นทาง
11. ตัวจ่ายสารทำความเย็นแบบไหลสม่ำเสมอตามข้อถือสิทธิข้อ 9 ที่มีลักษณะเฉพาะที่ว่าท่อนำเข้า
ของเหลวยังประกอบรวมด้วยแผ่นช่องพรุนขนาดเส้นผ่านศูนย์กลางแปรเปลี่ยนที่ถูกจัดไว้ด้าน
ปลายทางของส่วนท่อเวนทูริ, ช่องพรุนขนาดเส้นผ่านศูนย์กลางแปรเปลี่ยนถูกจัดไว้ในแผ่นช่องพรุน
ขนาดเส้นผ่านศูนย์กลางแปรเปลี่ยน, และช่องพรุนขนาดเส้นผ่านศูนย์กลางแปรเปลี่ยนประกอบรวม
ด้วยส่วนช่องพรุนเรียวที่มีเส้นผ่านศูนย์กลางค่อย ๆ ลดลงตามทิศทางการไหลของสารทำความเย็น
และส่วนช่องพรุนคล้ายคอคอดที่ถูกจัดไว้ด้านปลายทางของส่วนช่องพรุนเรียวที่มีเส้นผ่านศูนย์กลาง
ไม่เปลี่ยนแปลงโดยพื้นฐาน
12. ตัวจ่ายสารทำความเย็นแบบไหลสม่ำเสมอตามข้อถือสิทธิข้อ 1 ที่มีลักษณะเฉพาะที่ว่าช่องท่อแยก
ประกอบรวมด้วยส่วรช่องระบายและส่วนช่องเชื่อมต่อซึ่งถูกทำให้กระจายอย่างต่อเนื่องตามทิศ
ทางการไหลของสารทำความเย็น โดยมีเส้นผ่านศูนย์กลางของส่วนช่องระบายค่อย ๆ ลดลงตามทิศ
ทางการของสารทำความเย็นและตัวสร้างของผนังด้านในของส่วนช่องระบายเป็นเส้นตรงหรือส่วน
โค้ง
13. ตัวจ่ายสารทำความเย็นแบบไหลสม่ำเสมอตามข้อถือสิทธิข้อ 12 ที่มีลักษณะเฉพาะที่ว่ามุม เบตา ที่เกิดขึ้น
ระหว่างเส้นสัมผัสที่ตัวสร้างแต่ละเส้นของผนังด้านในของส่วนช่องระบายและเส้นกึ่งกลางของช่อง
ท่อแยกเป็นไปตาม 10องศา น้อยกว่าหรือเท่ากับ เบตา น้อยกว่าหรือเท่ากับ 65องศา
14. ตัวจ่ายสารทำความเย็นแบบไหลสม่ำเสมอตามข้อถือสิทธิข้อ 12 ที่มีลักษณะเฉพาะที่ว่าเส้นผ่าน
ศูนย์กลางของปลายด้านปลายทางของส่วนช่องระบายถูกเซทให้เล็กกว่าเส้นผ่านศูนย์กลางของส่วน
ช่องเชื่อมต่อ, ส่วนทำให้จำกัดที่ยื่นออกมาในทิศทางกึ่งกลางของช่องท่อแยกถูกสร้างขึ้นที่จุดเชื่อมต่อ
ระหว่างส่วนช่องระบายและส่วนช่องเชื่อมต่อ, ส่วนทำให้จำกัดถูกกำหนดรูปลักษณ์ให้ชิดกับพื้นผิว
ด้านปลายของท่อแยกที่สอดเข้าไปในช่องท่อแยก, และเส้นผ่านศูนย์กลางของส่วนทำให้จำกัดโดย
พื้นฐานประมาณเท่ากับเส้นผ่านศูนย์กลางภายในของท่อแยกสอดเข้าไป
15. ตัวจ่ายสารทำความเย็นแบบไหลสม่ำเสมอตามข้อถือสิทธิข้อ 12 ที่มีลักษณะเฉพาะที่ว่าตัวจ่ายสารทำ
ความเย็นแบบไหลสม่ำเสมอประกอบรวมด้วยดีเฟลกเตอร์ (deflector) ที่ถูกเชื่อมติดกับผนังปลายด้าน
ในของปลายทางออกของเหลวของส่วนลำตัว, และดีเฟลกเตอร์ถูกจัดให้มีช่องดีเฟลกเตอร์จำนวนหนึ่ง
ที่ทำหน้าที่เป็นส่วนช่องระบายของช่องท่อแยก; หรือ
ส่วนช่องระบายและส่วนช่องเชื่อมต่อถูกสร้างเป็นชิ้นเดียวกันบนผนังด้านปลายของปลาย
ทางออกของเหลวของส่วนลำตัว
16. ตัวจ่ายสารทำความเย็นแบบไหลสม่ำเสมอตามข้อถือสิทธิข้อ 1 ที่มีลักษณะเฉพาะที่ว่าตัวจ่ายสารทำ
ความเย็นแบบไหลสม่ำเสมอยังประกอบรวมด้วยส่วนประกอบที่ทำให้เกิดช่องไหลที่ถูกจัดไว้ในห้อง
ที่สอง และจัดไว้บนขอบด้านในของช่องท่อแยกจำนวนหนึ่ง ส่วนประกอบที่ทำให้เกิดช่องไหลคือ
ส่วนประกอบแบบหมุนที่เกิดขึ้นโดยการยื่นและขยายออกจากผนังด้านในด้านล่างของปลายทางออก
ของเหลวของส่วนลำตัวไปในทิศทางซึ่งแผ่นกั้นถูกจัดไว้และหมุนรอบแกรของส่วนลำตัว, ช่องไหล
ทรงกลมที่เชื่อมติดช่องแผ่นกั้นที่มีช่องท่อแยกจำนวนหนึ่งถูกปิดล้อมระหว่างส่วนประกอบที่ทำให้
เกิดช่องไหล และผนังขอบด้านในของห้องที่สอง, และส่วนตัดขวางของส่วนประกอบที่ทำให้เกิดช่อง
ไหลยังคงไม่มีการเปลี่ยนแปลงโดยพื้นฐาน หรือค่อย ๆ เล็กลงตามทิศทางการยื่นของส่วนประกอบที่
ทำให้เกิดช่องไหล
17. ตัวจ่ายสารทำความเย็นแบบไหลสม่ำเสมอตามข้อถือสิทธิข้อ 16 ที่มีลักษณะเฉพาะที่ว่าส่วนประกอบที่
ทำให้เกิดช่องไหลคือปลอกที่มีส่วนตัดขวางซึ่งยังคงไม่เปลี่ยนแปลงโดยพื้นฐานตามทิศทางการยื่น,
และปลายด้านบนของปลอกติดกับบริเวณแผ่นกั้นของขอบด้านในของช่องแผ่นกั้นจำนวนหนึ่ง
18. ตัวจ่ายสารทำความเย็นแบบไหลสม่ำเสมอตามข้อถือสิทธิข้อ 16 ที่มีลักษณะเฉพาะที่ว่าส่วนตัดขวาง
ของส่วนประกอบที่ทำให้เกิดช่องไหลค่อย ๆ เล็กลงตามทิศทางการยื่น และระยะห่างตามแนวตั้ง H2
จากปลายด้านบนที่ยื่นของส่วนประกอบที่ทำให้เกิดช่องไหลไปยังพื้นผิวด้านปลายทางของแผ่นกั้น
เป็นไปตาม: 1 มม. น้อยกว่าหรือเท่ากับ H2 น้อยกว่าหรือเท่ากับ 2H0/3, ที่ซึ่ง H0 คือความสูงของห้องที่สอง
19. ตัวจ่ายสารทำความเย็นแบบไหลสม่ำเสมอ ตามข้อถือสิทธิข้อ 16 ที่มีลักษณะเฉพาะที่ว่าระยะห่างตาม
แนวรัศมี L1 จากขอบรอบนอกด้านล่างของส่วนประกอบที่ทำให้เกิดช่องไหลไปยังผนังขอบด้านใน
ของห้องที่สองเป็นไปตาม: L1 น้อยกว่าหรือเท่ากับ 28 มม.
20. ตัวจ่ายสารทำความเย็นแบบไหลสม่ำเสมอตามข้อถือสิทธิข้อ 16 ที่มีลักษณะเฉพาะที่ว่าช่องแผ่นกั้น
จำนวนหนึ่งถูกทำให้กระจายโดยมีช่องเว้นระยะห่างเท่ากันในแผ่นกั้นในการจัดเรียงแบบวงแหวน
โดยมีจำนวนของช่องแผ่นกั้นเท่ากับจำนวนของช่องท่อแยก, และช่องแผ่นกั้นแต่ละช่องมีแกนกลาง
ร่วมกันอย่างเป็นพื้นฐานกับช่องท่อแยกที่สอดคล้องตรงกัน
21. ตัวจ่ายสารทำความเย็นแบบไหลสม่ำเสมอตามข้อถือสิทธิข้อ 16 ที่มีลักษณะเฉพาะที่ว่าช่องแผ่นกั้น
จำนวนหนึ่งถูกทำให้กระจายในแผ่นกั้นในการจัดเรียงแบบวงแหวนจำนวนหนึ่ง และช่องแผ่นกั้น
จำนวนหนึ่งที่มีจำนวนเท่ากันถูกทำให้กระจายโดยมีช่องเว้นระยะห่างเท่ากันในแต่ละการจัดเรียงแบบ
วงแหวน
22. ชุดตัวแลกเปลี่ยนความร้อนที่มีลักษณะเฉพาะโดย ที่ประกอบรวมด้วยตัวจ่ายสารทำความเย็นแบบไหล
สม่ำเสมอดังที่ขอถือสิทธิในข้อถือสิทธิข้อ 1
23. อุปกรณ์ทำความเย็นที่มีลักษณะเฉพาะโดย ที่ประกอบรวมด้วยชุดตัวแลกเปลี่ยนความร้อนดังที่
ขอถือสิทธิในข้อถือสิทธิข้อ 22