Application Type
National
Application SubType
(10) Registration Number and Date
10202400858U
Status
ACTIVE ( Other event occurred)
(180) Expiration Date
(20) Filing Number and Date
SG 10202400858U 2023.12.31
(40) Publication Number and Date
${pbin}
(86) PCT Filing Number and Date
(87) PCT Publication Number and Date
(85) National Entry Date
(30) Priority Details
CN
CN2023103126551
2023.01.01
(51) IPC Classes
    (72) Inventor
    (EN) Jiannan CAI : 1st Floor B, Building 4, Hengchangrong High-tech Industrial Park, Dezheng Road,Shilong Community, Shiyan Street, Bao\u2019an District, Shenzhen, Guangdong 518108, China
    Jiuhua LI
    Shaojie HU
    Weidong ZHU
    (74) Representative
    (54) Title
    (57) Abstract
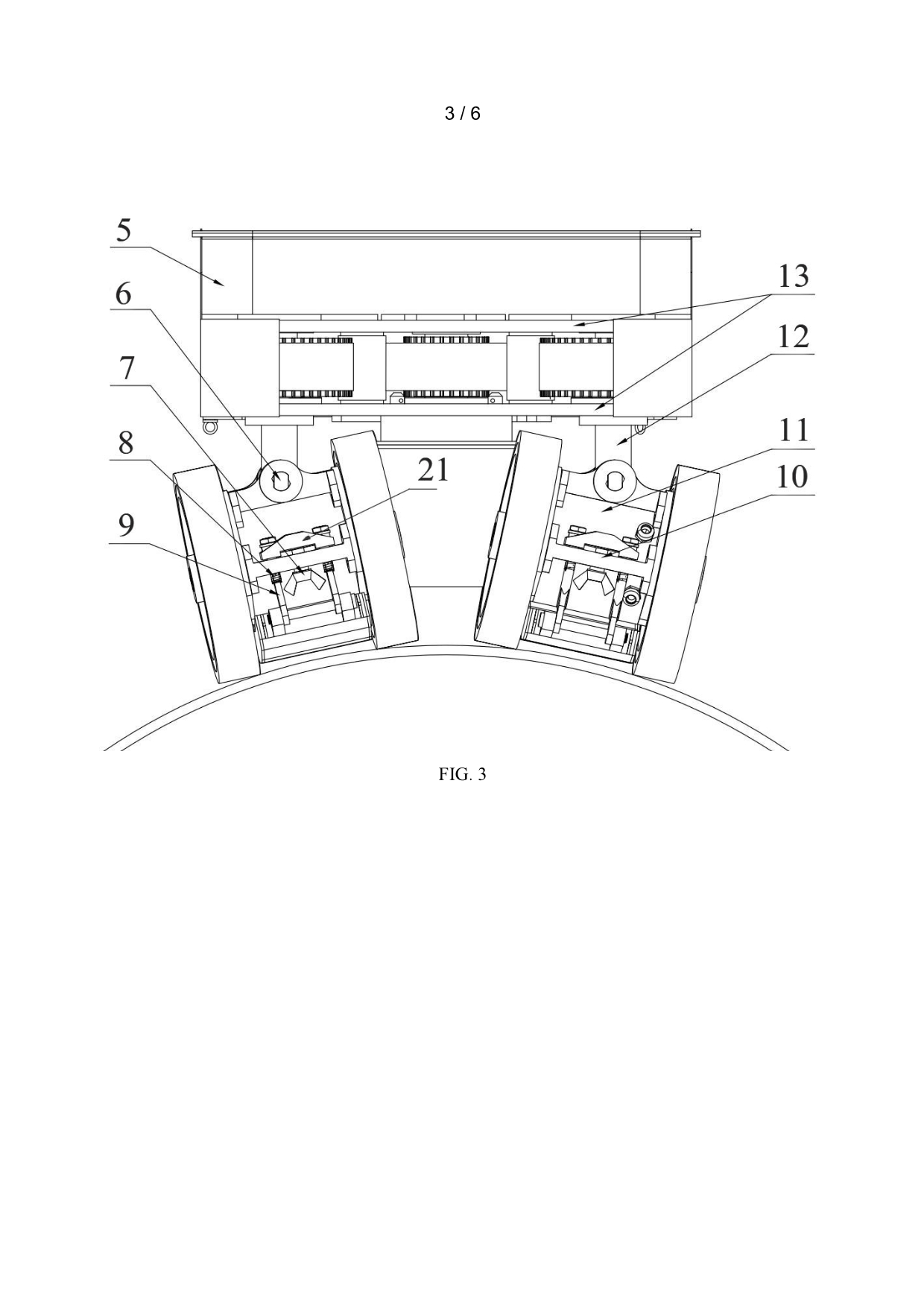
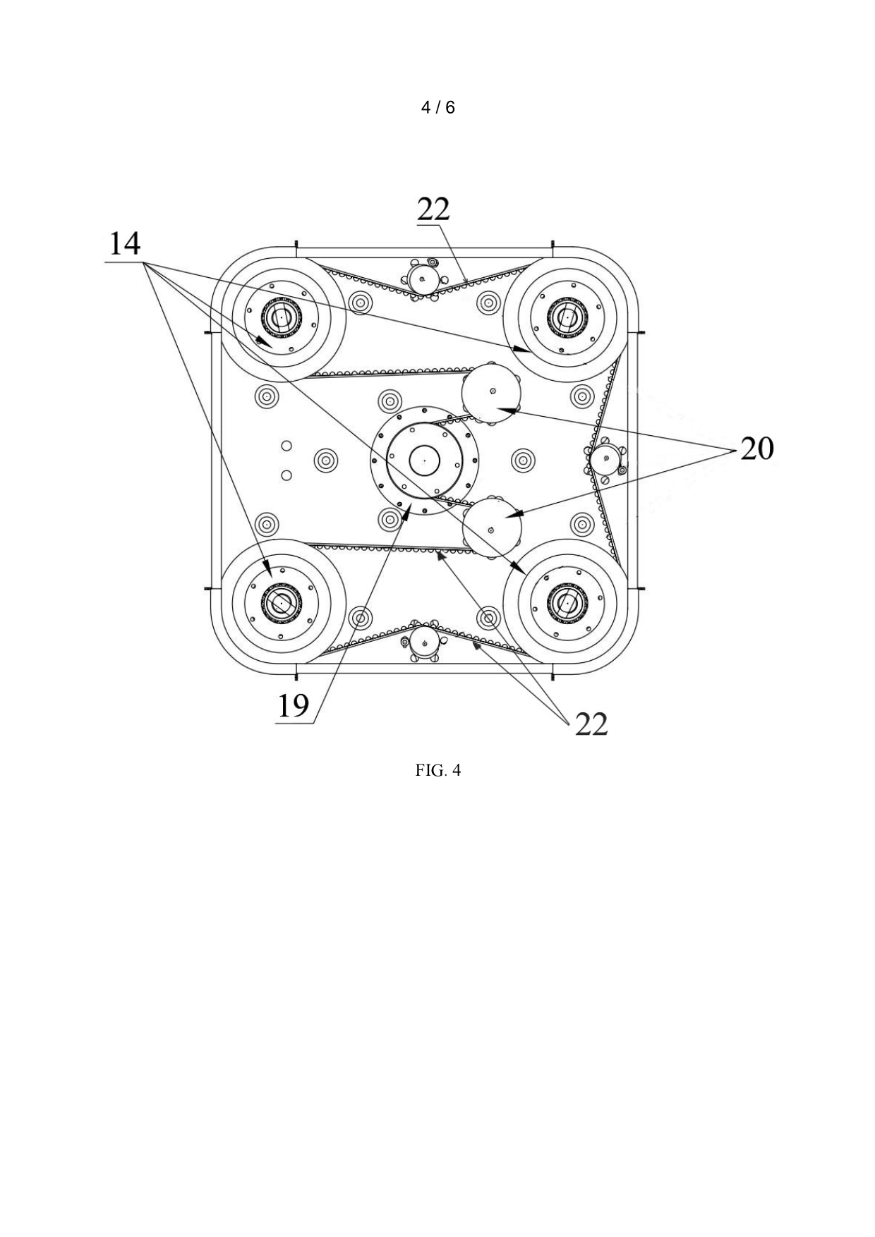
    (EN) -10- PIPE CLIMBING ROBOT ABSTRACT 5 A pipe climbing robot including a veering mechanism is disclosed. A control box (5) is arranged at a top of the veering mechanism. The veering mechanism is powered by a single motor. Each of a plurality of driving units is connected with the veering mechanism at each of four corners of a bottom of the veering mechanism. Each of the plurality of driving units includes two driving wheels (1). A lower part of each of the plurality of driving units is connected with an adsorption apparatus (2) 10 through an adjusting mechanism. The adsorption apparatus (2) has an adjustable adsorption force. Each of the plurality of driving units is connected with the veering mechanism through a curvature self-adaptive mechanism (6). (To be published with Fig. 1) 15
    (58) Citations
    License Details
    (98) Annuity Details
    YearValidity StartValidity EndPayment
    Document Type Date Action
    Description (with claims) 2024-03-25T00:00:00Z
    Abstract 2024-03-25T00:00:00Z
    Event NameDateLink
    Other event occurred2023-12-31
    Other event occurred2023-12-31
    Other event occurred2023-12-31
    Other event occurred2023-12-31
    Other event occurred2023-12-31