Application Type
Patents
Application SubType
National Patent
(10) Registration Number and Date
Status
ACTIVE ( Document published)
(180) Expiration Date
(20) Filing Number and Date
TH 2501006970 2025.10.10
(40) Publication Number (Gazette Number) and Date
(8/2569)
2026.02.23
(86) PCT Filing Number and Date
(87) PCT Publication Number and Date
(85) National Entry Date
(30) Priority Details
JP
JP2024-210163
2024.12.03
(51) IPC Classes
(72) Inventor
(TH) คาซุยะ, จินอูชิ : ซี/โอ โพรเทเรียล, แอลทีดี., 6-36, โทโยสุ 5-โชเมะ, โคโตะ-กุ, โตเกียว 135-0061
อากิระ, เซโตะกาวะ
ไอกะ, ชิมิซุ
(74) Representative
(TH) นาง ดารานีย์ วัจนะวุฒิวงศ์ : บริษัท ติลลิกีแอนด์กิบบินส์ อินเตอร์เนชั่นแนล จำกัด เลขที่ 1011 อาคารศุภาลัย แกรนด์ ทาวเวอร์ ชั้น 20-26 พระราม 3 ตำบลช่องนนทรี อำเภอยานนาวา จังหวัดกรุงเทพมหานคร
นางสาว สุคนธ์ทิพย์ จิตมงคลทอง : บริษัท ติลลิกีแอนด์กิบบินส์ อินเตอร์เนชั่นแนล จำกัด เลขที่ 1011 อาคารศุภาลัย แกรนด์ ทาวเวอร์ ชั้นที่ 20-26 พระราม 3 ตำบลช่องนนทรี อำเภอยานนาวา จังหวัดกรุงเทพมหานคร
นาย สมบูรณ์ เอื้อธีรศรัณย์ : บริษัท ติลลิกีแอนด์กิบบินส์ อินเตอร์เนชั่นแนล จำกัด เลขที่ 1011 อาคารศุภาลัย แกรนด์ ทาวเวอร์ ชั้น 20 - 26 พระราม 3 ตำบลช่องนนทรี อำเภอยานนาวา จังหวัดกรุงเทพมหานคร
นาย สืบสิริ ทวีผล
(54) Title
(TH)

ชุดเครื่องผลิตลวดที่เคลือบด้วยสารเคลือบ และวิธีการผลิตลวดที่เคลือบด้วยสารเคลือบ

(57) Abstract
(TH) หนา้ 1 ของ จานวน 1 หนา้ บ ทส รุ ปก า รป ระ ด ิษ ฐ์ ชุ ดเครื่ อง ผลิ ตล ว ดที่ เ คลื อบ ด วยส้ า ร เคลื อ บ จะ ร วมถึ งก ล ไ กซ่ ึ ง ถ ูก จดั โ ค ร งแ บบ ให ้เ คลื่ อ น ต วั น า ผานแม่แบบ่ ดึ งล ว ด, ตวั ตรวจ รู ้ ก า รส ั่ นส ะ เ ทื อน ซ่ ึ ง ถ ู ก ติ ด ต้ งั ไ วบ้ น แม ่ แ บ บ ดึ ง ล ว ด ห รื อส่ ว นป ระ ก อ บ ซ่ ึ ง ถ ู ก ต รึ ง ติ ด ก ับ แ ม่ แ บ บ ดึ ง ล ว ด, แ ล ะ ต วั เ ป ลี่ ย น ซ่ ึ ง ถ ู ก จ ดั โ ค ร ง แ บ บ ใ ห ้ เ ป ลี่ ย น แ ป ล ง อ ย ่ า ง น ้ อ ย ห น่ ึ ง ใ น 5 บรรดาตาแหน ่ งหรื อแนววาง ตวขอั ง แม่แบบดึ งล วด
(58) Citations
License Details
(98) Annuity Details
YearValidity StartValidity EndPayment
Document Type Date Action
abstract 2026-02-23T00:00:00Z
claims 2026-02-23T00:00:00Z
gazette 2026-02-23T00:00:00Z
description 2026-02-23T00:00:00Z
Event NameDateLink
Application filed2025-10-10
Document published2026-02-23

1

ocr 02ss

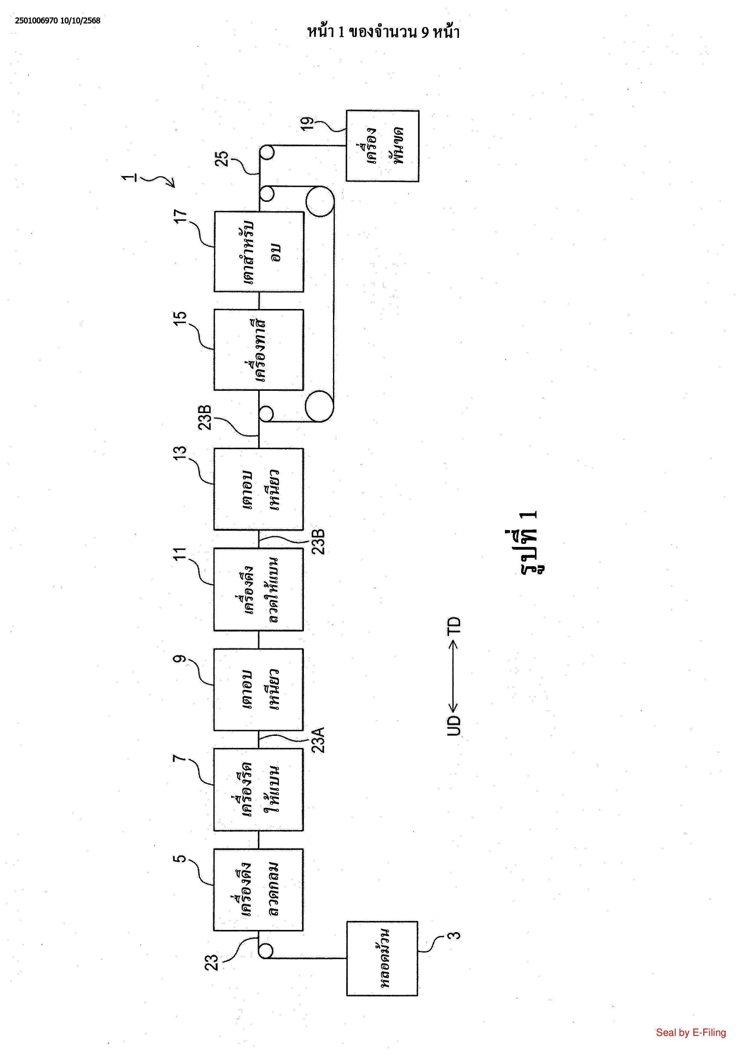
1. ชุดเครื่องผลิตลวดที่เคลือบด้วยสารเคลือบ โดยที่ชุดเครื่องผลิตจะประกอบรวมด้วย:

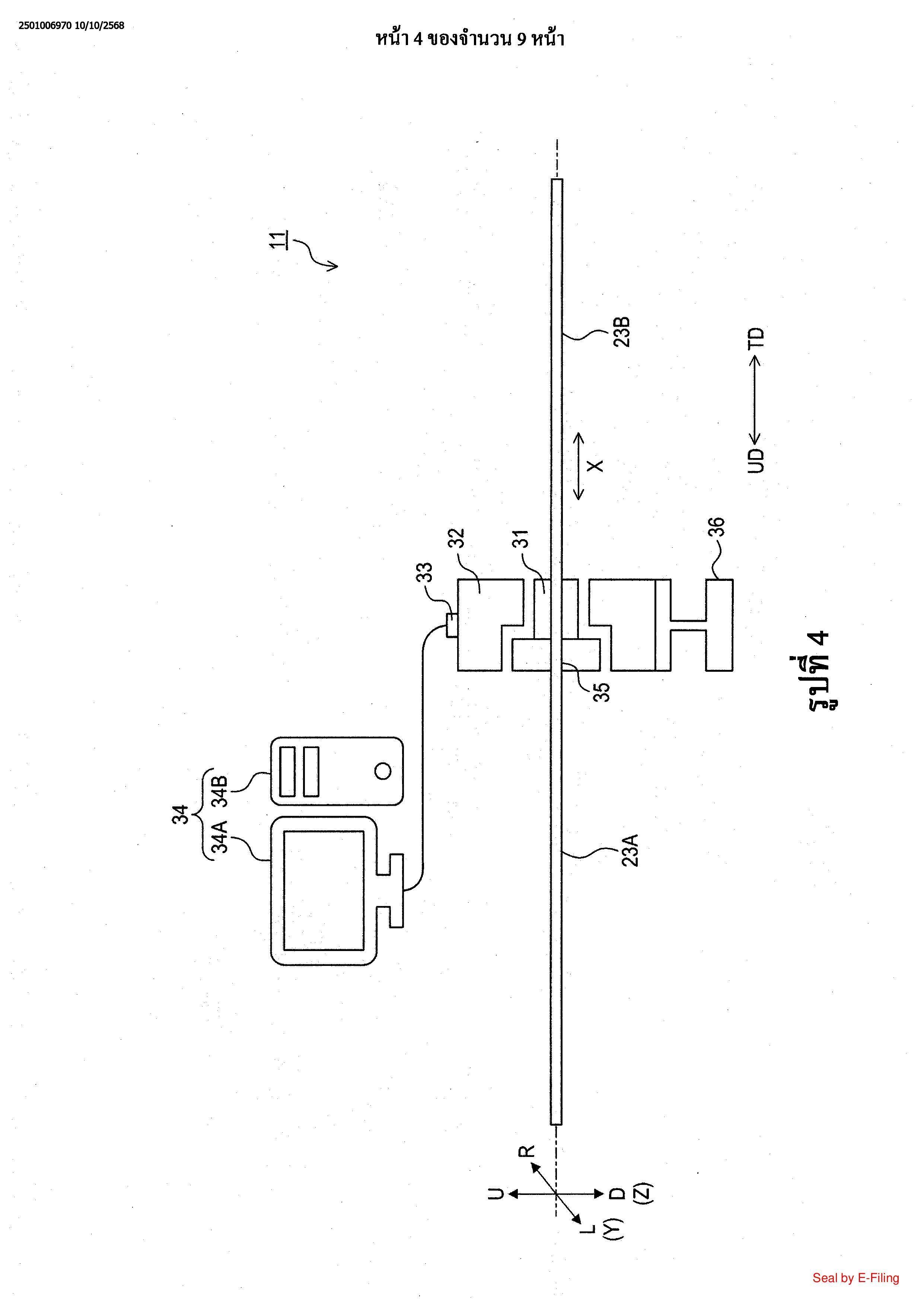
กลไกซึ่งถูกจัดโครงแบบให้เคลื่อนตัวนำผ่านแม่แบบดึงลวด;

ตัวตรวจรู้การสั่นสะเทือนซึ่งถูกติดตั้งไว้บนแม่แบบดึงลวดหรือส่วนประกอบซึ่งถูกตรึงติด

กับแม่แบบดึงลวด; และ

ตัวเปลี่ยนซึ่งถูกจัดโครงแบบให้เปลี่ยนแปลงอย่างน้อยหนึ่งในบรรดาตำแหน่งหรือแนว

วางตัวของแม่แบบดึงลวด

2. ชุดเครื่องผลิตลวดที่เคลือบด้วยสารเคลือบตามข้อถือสิทธิ 1 โดยที่

ตัวตรวจรู้การสั่นสะเทือนจะถูกจัดโครงแบบให้ตรวจรู้การสั่นสะเทือนบนแกนหนึ่งแกน,

การสั่นสะเทือนบนแกนสองแกน, หรือการสั่นสะเทือนบนแกนสามแกน

3. ชุดเครื่องผลิตลวดที่เคลือบด้วยสารเคลือบตามข้อถือสิทธิ 1 หรือ 2 ซึ่งยังประกอบรวมด้วย

จอแสดงผลซึ่งถูกจัดโครงแบบให้แสดงข้อมูลจากตัวตรวจรู้การสั่นสะเทือน

4. ชุดเครื่องผลิตลวดที่เคลือบด้วยสารเคลือบตามข้อถือสิทธิ 3 โดยที่

จอแสดงผลจะถูกจัดโครงแบบให้แสดงคลื่นสั่นสะเทือนที่สังเคราะห์ขึ้นจากการสั่นสะเทือน

บนแกนสองแกนหรือมากกว่านั้น

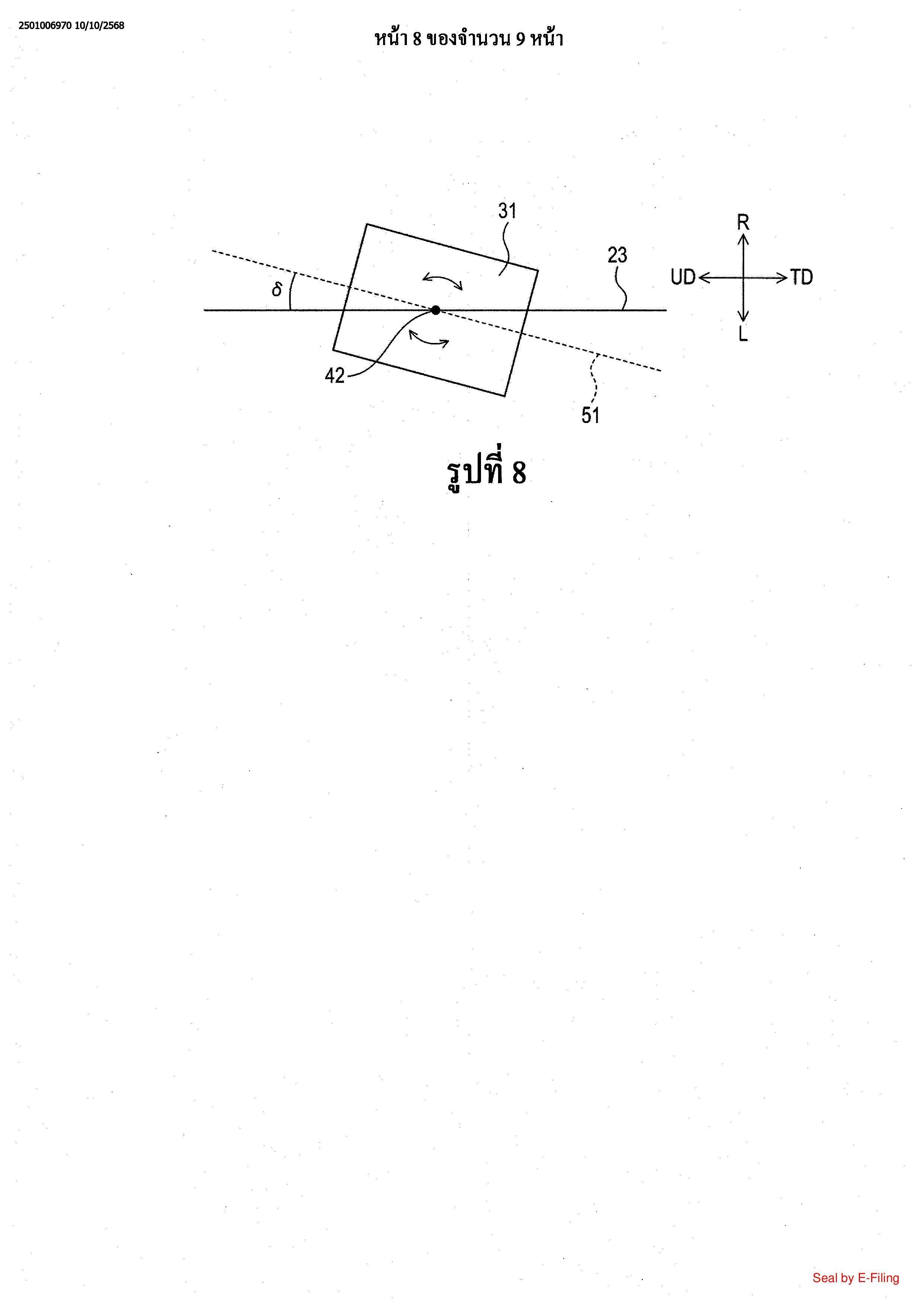
5. ชุดเครื่องผลิตลวดที่เคลือบด้วยสารเคลือบตามข้อถือสิทธิ 1 ถึง 4 ข้อใดข้อหนึ่ง โดยที่

ตัวเปลี่ยนจะถูกจัดโครงแบบให้เปลี่ยนแปลงสิ่งต่อไปนี้หนึ่งอย่างหรือมากกว่านั้นในบรรดา

ตำแหน่งในทิศทางตามแนวนอน, ตำแหน่งในทิศทางตามแนวตั้ง, มุมพิทช์, มุมหันเห, และมุมโคลง

ของแม่แบบดึงลวด

6. ชุดเครื่องผลิตลวดที่เคลือบด้วยสารเคลือบตามข้อถือสิทธิ 1 ถึง 5 ข้อใดข้อหนึ่งซึ่งยัง

ประกอบรวมด้วย

ตัวควบคุมซึ่งถูกจัดโครงแบบให้ควบคุมตัวเปลี่ยนโดยอิงตามข้อมูลจากตัวตรวจรู้การ

สั่นสะเทือนเพื่อลดการสั่นสะเทือนของแม่แบบดึงลวด

7. วิธีการผลิตลวดที่เคลือบด้วยสารเคลือบ โดยที่วิธีการผลิตจะประกอบรวมด้วยขั้นตอน

ต่อไปนี้:

การเคลื่อนตัวนำผ่านแม่แบบดึงลวด; และ

การเปลี่ยนแปลงอย่างน้อยหนึ่งในบรรดาตำแหน่งหรือแนววางตัวของแม่แบบดึงลวดโดยอิง

ตามข้อมูลจากตัวตรวจรู้การสั่นสะเทือนซึ่งถูกติดตั้งไว้บนแม่แบบดึงลวดหรือส่วนประกอบซึ่งถูกตรึง

ติดกับแม่แบบดึงลวด

8. วิธีการผลิตลวดที่เคลือบด้วยสารเคลือบตามข้อถือสิทธิ 7 ซึ่งยังประกอบรวมด้วยขั้นตอน

การแสดงข้อมูล

9. วิธีการผลิตลวดที่เคลือบด้วยสารเคลือบตามข้อถือสิทธิ 7 หรือ 8 โดยที่ขั้นตอนการ

เปลี่ยนแปลงจะรวมถึงการเปลี่ยนแปลงอย่างน้อยหนึ่งในบรรดาตำแหน่งหรือแนวววางตัวของแม่แบบ

ดึงลวดโดยอิงตามข้อมูลจากตัวตรวจรู้การสั่นสะเทือนเพื่อลดการสั่นสะเทือนของแม่แบบดึงลวด