Application Type
National
Application SubType
(10) Registration Number and Date
10202402528V
Status
ACTIVE ( Other event occurred)
(180) Expiration Date
(20) Filing Number and Date
SG 10202402528V 2023.12.31
(40) Publication Number (Gazette Number) and Date
(86) PCT Filing Number and Date
(87) PCT Publication Number and Date
(85) National Entry Date
(30) Priority Details
KR
KR10-2018-0136261
2017.12.31
(51) IPC Classes
    (72) Inventor
    (74) Representative
    (54) Title
    (57) Abstract
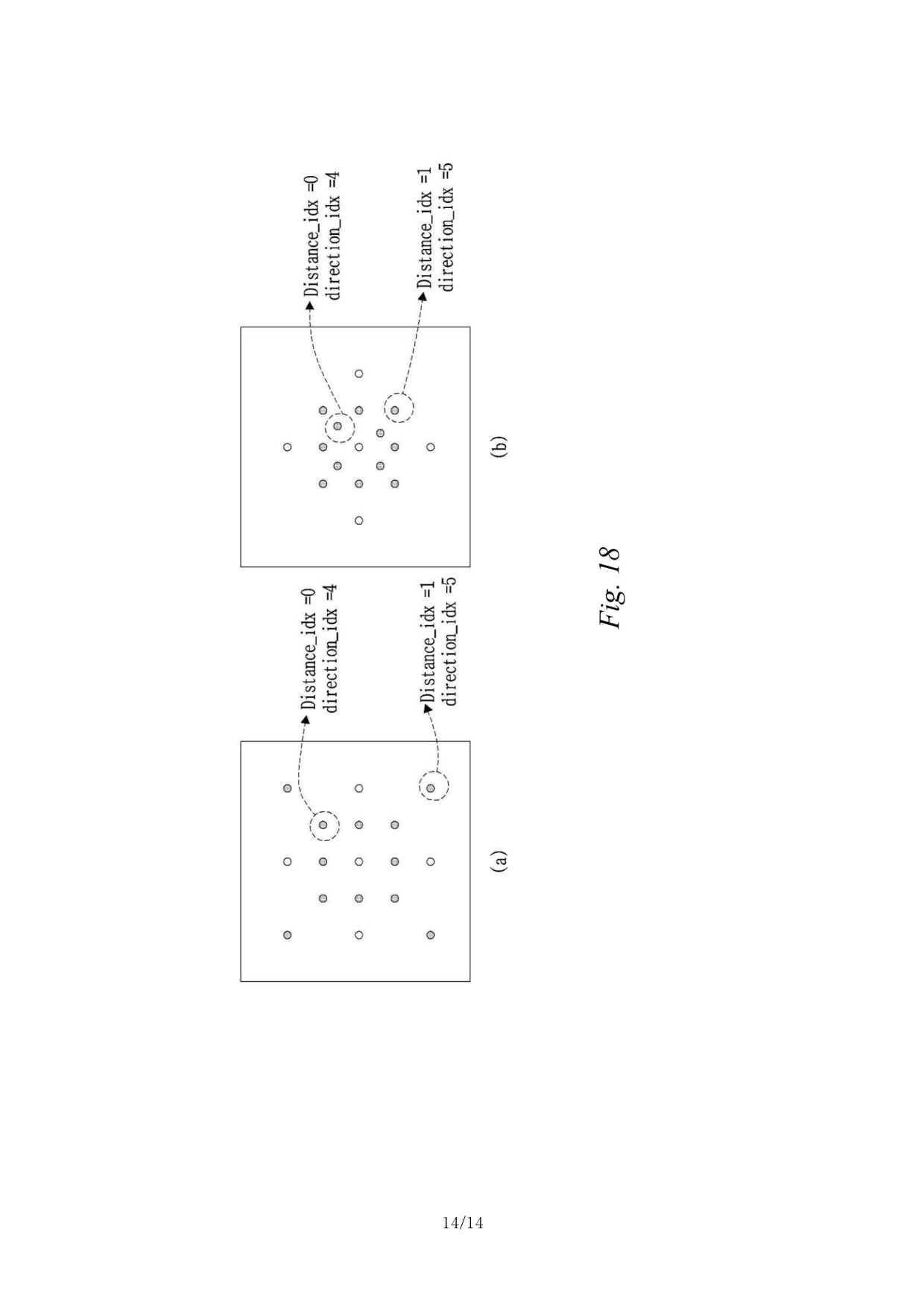
    (EN) ABSTRACT A video decoding method according to the present invention includes the steps of: generating a merge candidate list for a current block; determining a merge candidate for the current block among merge candidates included in the merge candidate list; deriving an offset vector for the current block; and deriving a motion vector for the current block by adding the offset vector to a motion vector of the merge candidate. Fig. 17 G \ZG
    (58) Citations
    License Details
    (98) Annuity Details
    YearValidity StartValidity EndPayment
    Document Type Date Action
    Description (with claims) 2024-08-20T00:00:00Z
    Abstract 2024-08-20T00:00:00Z
    Event NameDateLink
    Other event occurred2018-12-30
    Other event occurred2023-12-31
    Other event occurred2023-12-31
    Other event occurred2023-12-31