Application Type
National
Application SubType
(10) Registration Number and Date
10202400804R
Status
ACTIVE ( Other event occurred)
(180) Expiration Date
(20) Filing Number and Date
SG 10202400804R 2023.12.31
(40) Publication Number and Date
${pbin}
(86) PCT Filing Number and Date
(87) PCT Publication Number and Date
(85) National Entry Date
(30) Priority Details
KR
KR10-2023-0039311
2023.01.01
(51) IPC Classes
    (74) Representative
    (54) Title
    (57) Abstract
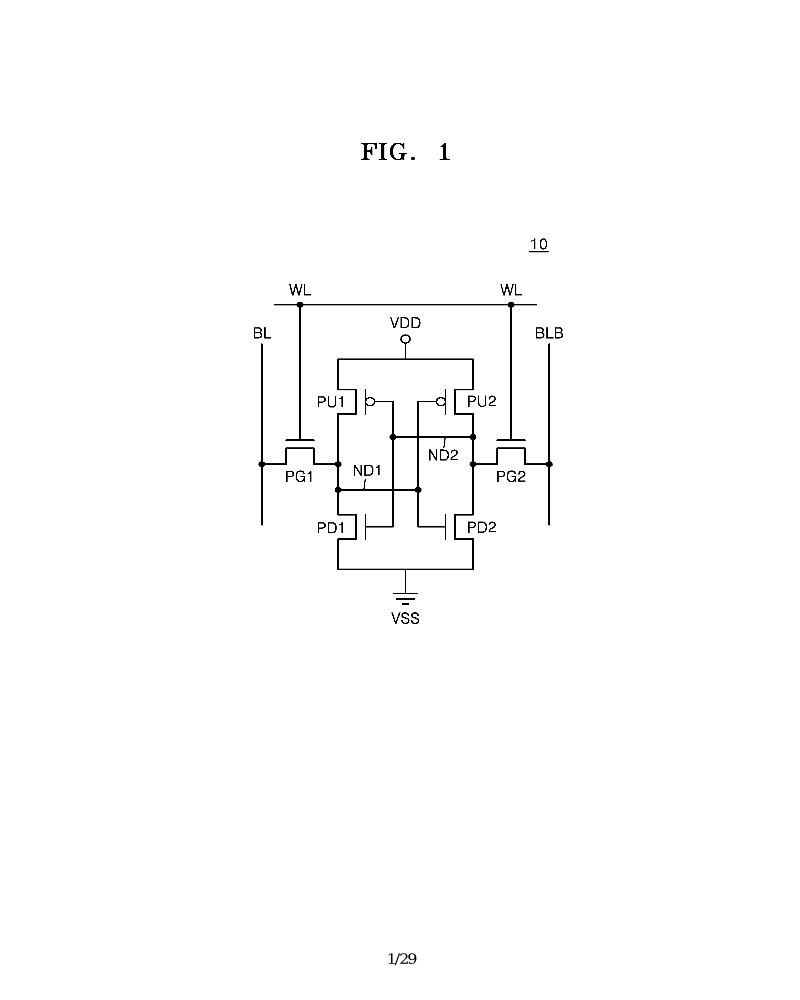
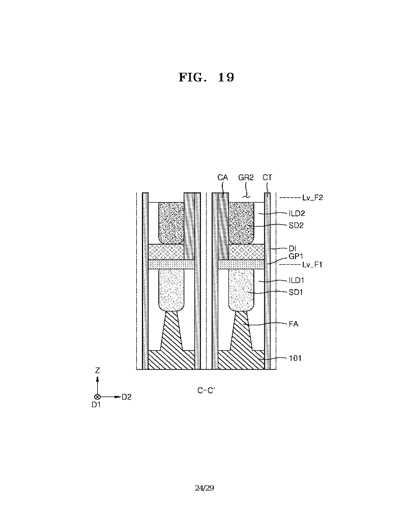
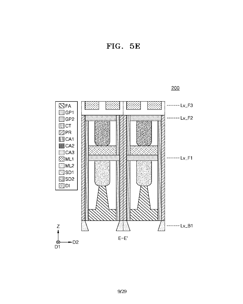
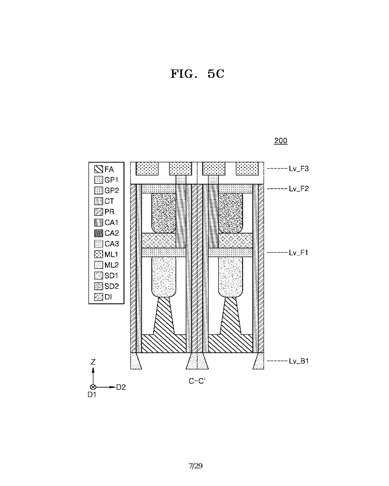
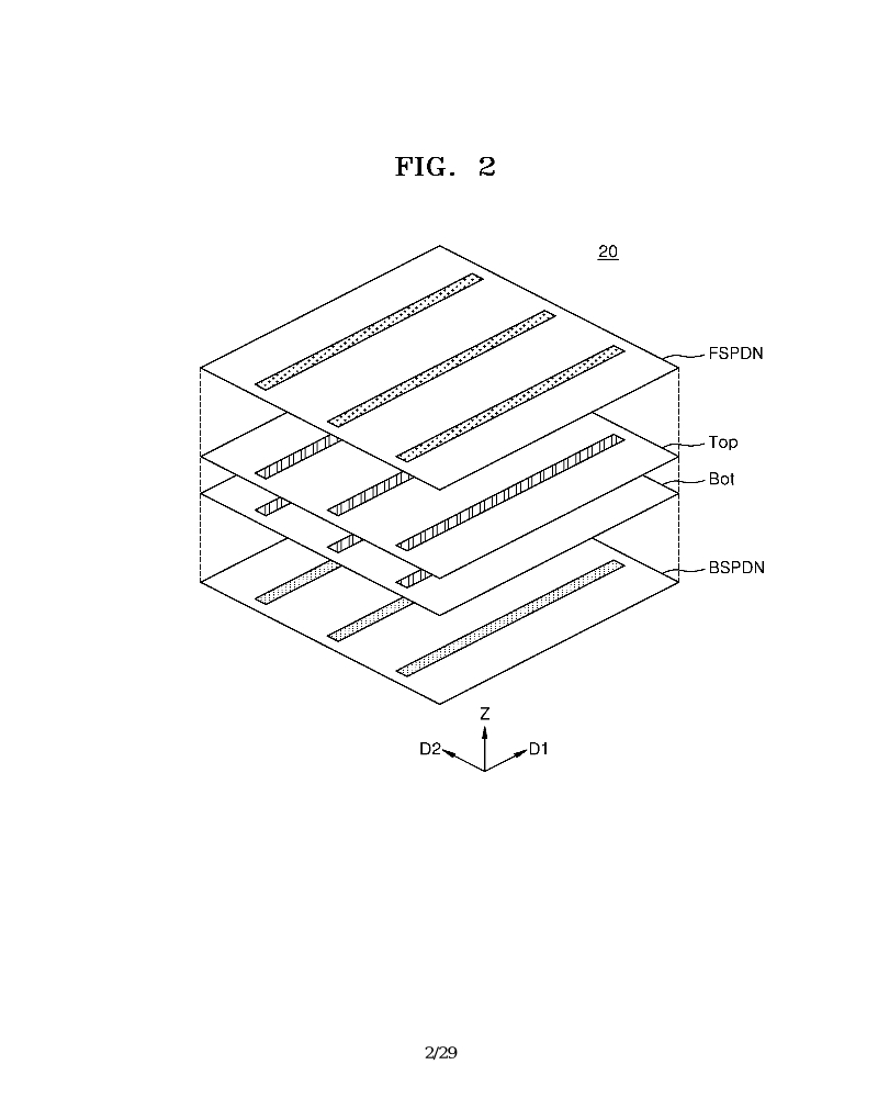
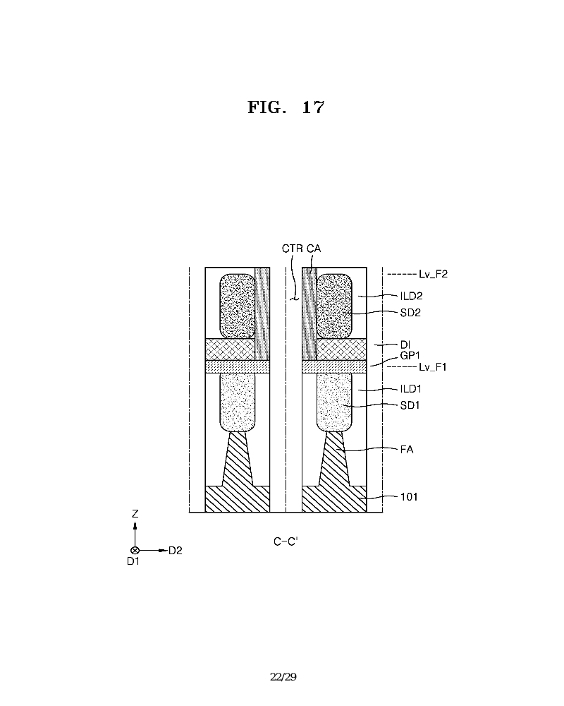
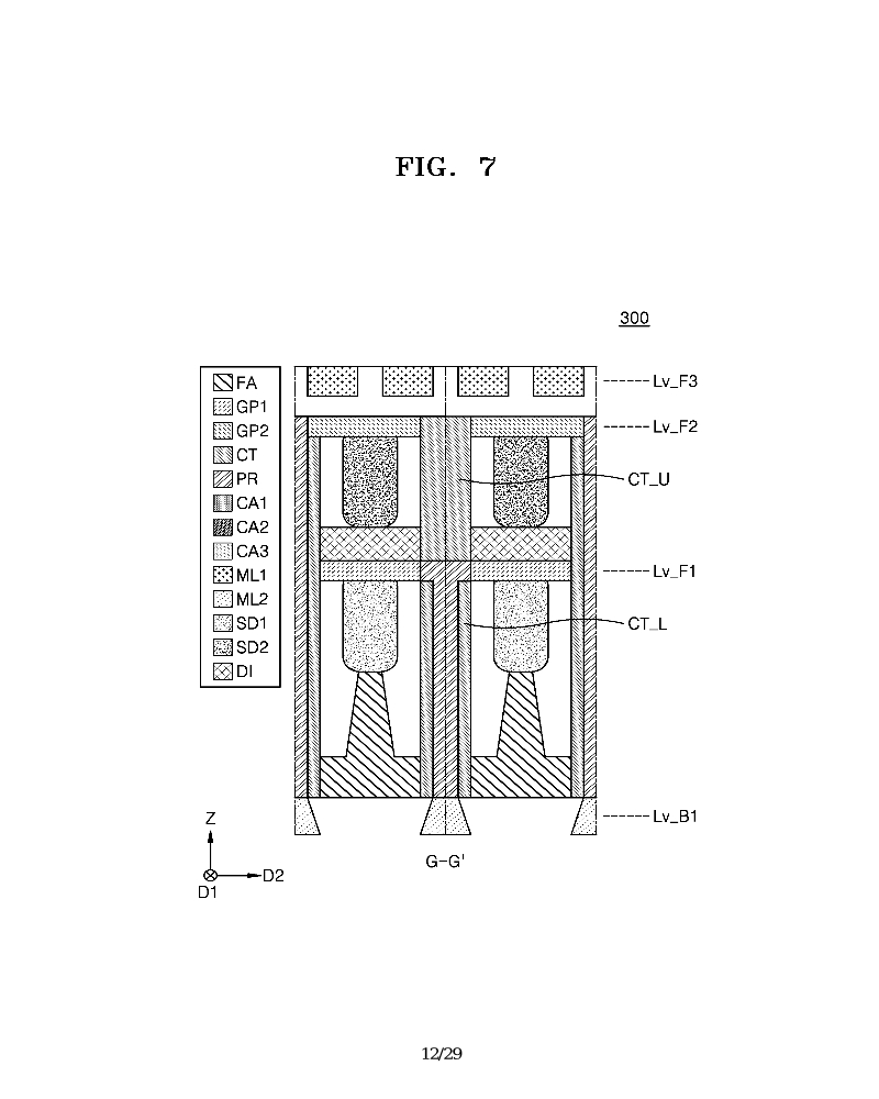
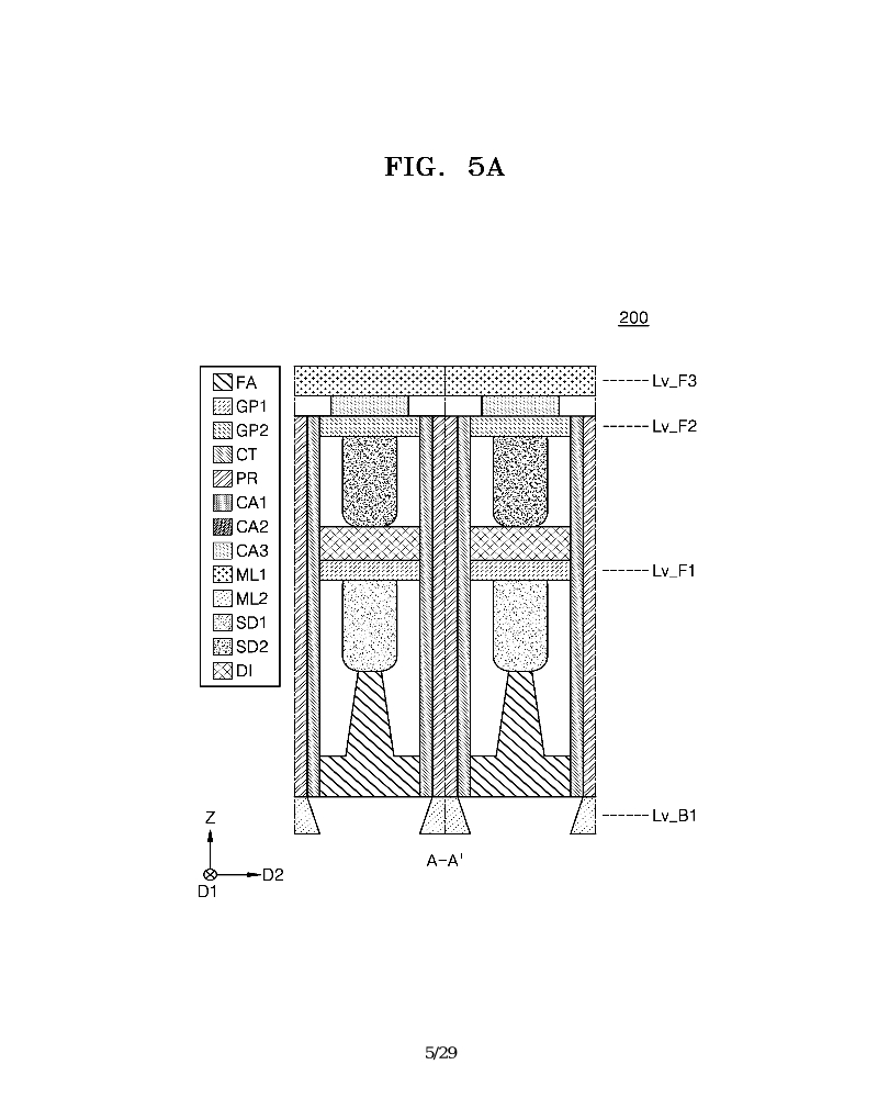
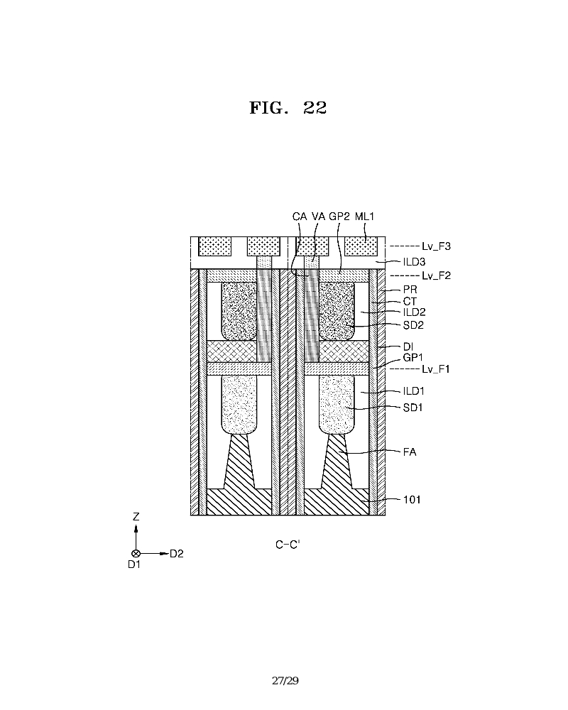
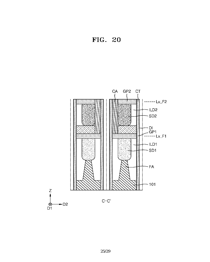
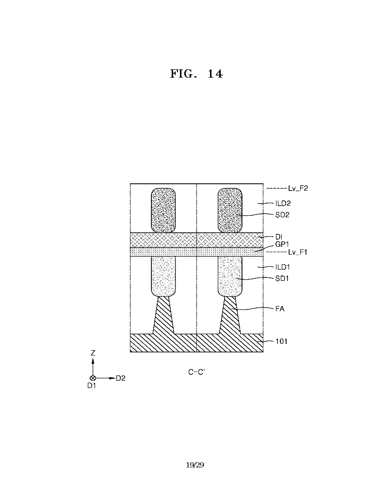
    (EN) ABSTRACT According to the inventive concept, based on the layout of a 3-dimensional stack structure enabling minimization of the planar area occupied by unit cells and simplification of the configuration of a wiring connection structure between transistors defining at least a portion of an SRAM device, an integrated circuit with a reduced size and improved reliability may be implemented. FIG. 3 28
    (58) Citations
    License Details
    (98) Annuity Details
    YearValidity StartValidity EndPayment
    Document Type Date Action
    Description (with claims) 2024-03-21T00:00:00Z
    Abstract 2024-03-21T00:00:00Z
    Event NameDateLink
    Other event occurred2023-12-31
    Other event occurred2023-12-31
    Other event occurred2023-12-31