Application Type
National
Application SubType
(10) Registration Number and Date
10202404118S
Status
ACTIVE ( Other event occurred)
(180) Expiration Date
(20) Filing Number and Date
SG 10202404118S 2024.12.30
(40) Publication Number (Gazette Number) and Date
(86) PCT Filing Number and Date
(87) PCT Publication Number and Date
(85) National Entry Date
(30) Priority Details
CN
CN202410195025.5
2024.02.21
(51) IPC Classes
    (72) Inventor
    GAO, Mohan : 556 XIXI ROAD, 8TH FLOOR, SECTION B, SUITE 801-11,<br/>WEST LAKE DISTRICT, HANGZHOU, ZHEJIANG 310000, China<br/>
    GE, Haoyuan
    CHEN, Guihai
    (74) Representative
    (54) Title
    (57) Abstract
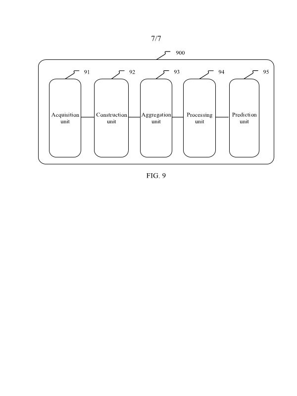
    (EN) WORKLOAD PREDICTION METHODS AND APPARATUSES FOR SERVICE IN SERVICE CLUSTER ABSTRACT Embodiments of this specification provide a workload prediction method and apparatus for a 5 service in a service cluster. The method includes: obtaining n+1 indicator sequences respectively corresponding to services in a same historical time period, which include n status indicator sequences corresponding to n system status indicators and a load indicator sequence corresponding to a workload indicator; calculating a correlation coefficient of a same indicator between different services based on the n+1 indicator sequences corresponding to the services, and constructing a 10 similarity graph corresponding to the same indicator, to obtain n+1 similarity graphs; processing the n+1 similarity graphs by using an attention mechanism, to obtain an aggregated similarity graph; performing, by using a first convolutional network, graph convolutional processing on an initial representation of each service in the aggregated similarity graph, to obtain an aggregated representation corresponding to each service; and performing workload prediction based on the 15 aggregated representation. FIG. 2 36
    (58) Citations
    License Details
    (98) Annuity Details
    YearValidity StartValidity EndPayment
    Document Type Date Action
    Description (with claims) 2024-12-30T00:00:00Z
    Abstract 2024-12-30T00:00:00Z
    Event NameDateLink
    Other event occurred2024-12-30
    Other event occurred2025-01-08
    Other event occurred2025-02-19
    Other event occurred2025-03-29