Application Type
Patents
Application SubType
National Patent
(10) Registration Number and Date
Status
ACTIVE ( Document published)
(180) Expiration Date
(20) Filing Number and Date
TH 2501007043 2025.10.15
(40) Publication Number (Gazette Number) and Date
(3/2569)
2026.01.19
(86) PCT Filing Number and Date
(87) PCT Publication Number and Date
(85) National Entry Date
(30) Priority Details
(51) IPC Classes
(74) Representative
(54) Title
(TH)

อุปกรณ์กันโคลงส่งเสริมการทรงตัวของระบบช่วงล่างทางด้านหลังของรถเอสยูวีแบบออฟโรด

(57) Abstract
(TH) OCR 06WT อุปกรณ์กันโคลงส่งเสริมการทรงตัวของระบบช่วงล่างทางด้านหลังของรถเอสยูวีแบบออฟโรด เป็นอุปกรณ์ที่จะติดตั้งในช่วงล่างทางด้านหลังของรถเอสยูวีแบบออฟโรดทั้งด้านซ้ายและด้านขวา เพื่อปรับ สมดุลของรถในขณะที่ขับเข้าโค้ง หรือขับในสภาพพื้นผิวที่ขรุขระ ไม่เรียบ ให้กลับมายังสภาพเดิมให้ไว้ ที่สุด ส่งผลให้การขับขี่ราบเรียบยิ่งขึ้น และลดการเกิดอุบัติเหตุที่ไม่คาดคิดได้ ประกอบไปด้วย อาร์มสปริง ตัวจับลิงก์ และตัวจับคัสซี มีเหล็กโตงเตงที่เป็นตัวเชื่อมระหว่างอาร์มสปริงและตัวคัสซี ทำหน้าที่ให้ ระบบบูชลูกยางทำงาน ส่งผลให้เกิดการขับแรง ถ่ายแรงและปรับสมดุลของระบบช่วงล่าง โดยอุปกรณ์กัน โคลงส่งเสริมการทรงตัวของระบบช่วงล่างทางด้านหลังของรถเอสยูวีแบบออฟโรดมีคุณสมบัติที่ที่ทนทาน ยืดหยุ่น เหมาะกับการติดตั้งกับรถเอสยูวีแบบออฟโรด
(58) Citations
License Details
(98) Annuity Details
YearValidity StartValidity EndPayment
Document Type Date Action
claims 2026-01-19T00:00:00Z
description 2026-01-19T00:00:00Z
gazette 2026-01-19T00:00:00Z
abstract 2026-01-19T00:00:00Z
Event NameDateLink
Application filed2025-10-15
Document published2026-01-19

1

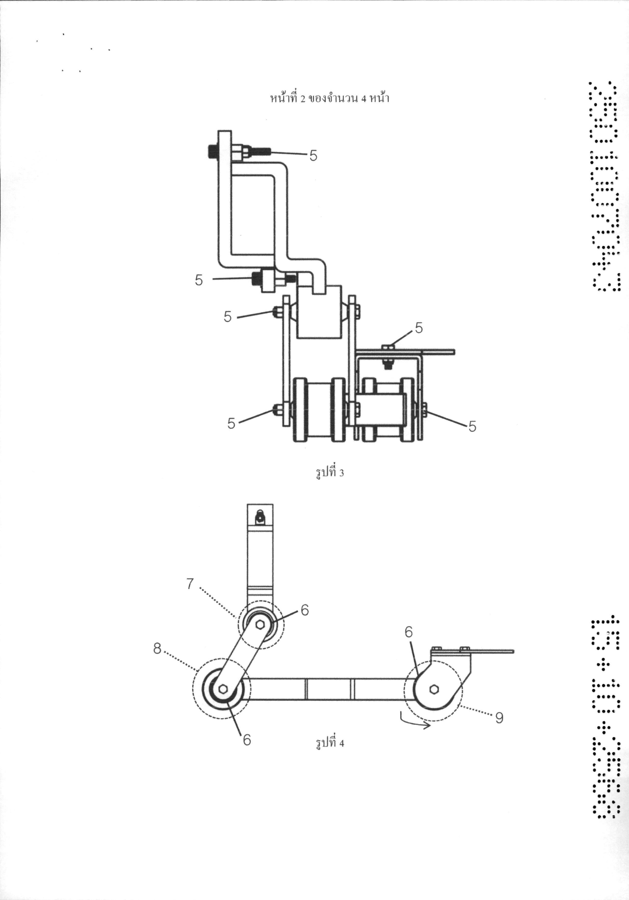
OCR 06WT 1.ระบบกัน โคลงรถช่วยส่งเสริมการทรงตัวของรถเอสยูวีแบบออฟโรด ประกอบด้วย ตัวอาร์มสปริง (1), ตัวจับลิงก์(3), ตัวจับคัสซีหรือตัวจับเฟรม(2), น็อต(5), เหล็กโตงเตง(4) และ บูชลูกยาง(6) ปลายด้านหนึ่งมีเหล็กโตงเตง(4)ที่ทำการไขน็อต(5)ติดกับตัวอาร์มสปริง(1)คือ ตัวจับลิงก์(3) จับ ลิงก์หรือยึดกับลิงก์ช่วงล่างของรถเอสยูวีแบบออฟโรด สำหรับปลายด้านหนึ่งคือตัวจับคัสซี(2) ประกอบด้วยเหล็กหล่อพิเศษ2ส่วน ที่ใช้น็อต(5)ขันเข้า ด้วยกัน เพื่อให้สามารถพ่วงหรือล็อคให้ติดเข้ากับตัวคัสซีหรือเฟรมของรถได้ มีการยึดด้วยน็อต(5)กับเหล็ก โตงเตง(4) เพื่อเชื่อมกับอาร์มสปริง(1) สามารถขยับตำแหน่งไปมาตามรูปร่างลักษณะของรถเอสยูวีแบบ ออฟโรดได้ เมื่อมีการขยับของรถหรือมีแรงสั่นสะเทือนที่ไม่มากนัก จุดที่หนึ่ง(7)และจุดที่สอง(8)จะทำงาน สัมพันธ์กัน หรือทำงานพร้อมกันโดยมีเหล็กโตงเตง(4)ทำหน้าที่ถ่ายแรงจากจุดหนึ่งไปอีกจุดหนึ่ง แต่ถ้าเกิด มีแรงสั่นสะเทือนถึงค่าที่ระบุไว้ จะทำให้จุดที่สาม(9)ทำงานโดยคือส่วนที่เชื่อมกับตัวจับลิงก์(3) อาร์มสปริง(1)มีการออกแบบให้มีส่วนได้งและเว้า เพื่อหลบอุปกรณ์กรณ์หลักของรถ ซึ่งมีลักษณะพิเศษคือ มี บริเวณส่วนที่เชื่อมของตัวอาร์มสปริง(1) ตัวจับลิงก์(3) และตัวจับคัสซี(2) จะมีระบบบูชลูกยาง(6)ชนิดพิเศษ 6ลูก รวมทั้งด้านซ้ายและขวา ข้างละ3ลูก ช่วยให้มีการขับขี่ที่นุ่มขึ้น และ เพื่อซับแรง ถ่ายแรง และปรับสมดุลของระบบช่วงล่างในการขับขี่