Application Type
Patents
Application SubType
National Patent
(10) Registration Number and Date
Status
ACTIVE ( Document published)
(180) Expiration Date
(20) Filing Number and Date
TH 2501007516 2025.11.03
(40) Publication Number (Gazette Number) and Date
(9/2569)
2026.03.02
(86) PCT Filing Number and Date
(87) PCT Publication Number and Date
(85) National Entry Date
(30) Priority Details
TW
TW114131207
2025.08.15
(51) IPC Classes
(72) Inventor
ยู, หยู-หมิน
หลิน, ชิห์-ซุน
หลิน, ยี่-เจี่ย
หวง, ซิน-หมิง
ฮุง, วาน-หยู
(74) Representative
(TH) นางสาว จุฑาจิต ศรีประสาธน์ : บริษัท ไอแอลซีที จำกัด เลขที่ 175 ชั้น 18 อาคารสาธรซิตี้ทาวเวอร์ สาทรใต้ ตำบลทุ่งมหาเมฆ อำเภอสาทร จังหวัดกรุงเทพมหานคร
นางสาว รตินุช ก้าวหน้าชัยมงคล : บริษัท ไอแอลซีที จำกัด เลขที่ 175 อาคารสาธรซิตี้ทาวเวอร์ ชั้น 18 สาทรใต้ ตำบลทุ่งมหาเมฆ อำเภอสาทร จังหวัดกรุงเทพมหานคร
นาย รัชพงษ์ ทองดีแท้
(54) Title
(TH)

ระบบและวิธีการการจัดวางสินค้า

(57) Abstract
(TH)

OCR 10KL (23/01/2569)

ระบบการจัดวางสินค้ารวมถึงอุปกรณ์ตรวจจับ, ชั้นวาง, ยานพาหนะเคลื่อนที่แบบไร้คน
ควบคุม, เครื่องมือขนถ่าย และตัวประมวลผล อุปกรณ์ตรวจจับจะตรวจจับน้ำหนักของสินค้าจำนวน
หนึ่งและสร้างสารสนเทศน้ำหนักของสินค้าที่สอดคล้องกับสินค้าแต่ละชนิด ชั้นวางมีหน่วยจัดเก็บ
แบบชั้นจำนวนหนึ่ง ยานพาหนะเคลื่อนที่แบบไร้คนควบคุมเคลื่อนย้ายสินค้าจำนวนหนึ่ง ระหว่าง
อุปกรณ์ตรวจจับ และชั้นวาง เครื่องมือขนถ่ายจัดเก็บสินค้าจำนวนหนึ่งในหน่วยจัดเก็บแบบชั้น หรือ
เอาสินค้าจำนวนหนึ่งออกจากหน่วยจัดเก็บแบบชั้น ตัวประมวลผลสร้างสัญญาณการจัดเก็บตาม
ขั้นตอนวิธีการบรรทุกแบบชั้น และสารสนเทศน้ำหนักสินค้าของสินค้าแต่ละชนิด, ยานพาหนะ
เคลื่อนที่แบบไร้คนควบคุมขนส่งสินค้าจำนวนหนึ่งไปยังเครื่องมือขนถ่ายตามสัญญาณการจัดเก็บ
และเครื่องมือขนถ่ายจัดสรรสินค้าจำนวนหนึ่งให้กับหน่วยจัดเก็บแบบชั้นตามสัญญาณการจัดเก็บ
ดังนั้น การเปิดเผยนี้จัดสรรตำแหน่งการจัดเก็บตามน้ำหนักของสินค้า ทั้งนี้จึงปรับปรุงประสิทธิภาพ
การดำเนินงานของโลจิสติกส์ได้

 

(58) Citations
License Details
(98) Annuity Details
YearValidity StartValidity EndPayment
Document Type Date Action
description 2026-03-02T00:00:00Z
gazette 2026-03-02T00:00:00Z
abstract 2026-03-02T00:00:00Z
claims 2026-03-02T00:00:00Z
Event NameDateLink
Application filed2025-11-03
Document published2026-03-02

1

OCR 10KL (23/01/2569)

1. ระบบการจัดวางสินค้าซึ่งประกอบรวมด้วย:
อุปกรณ์ตรวจจับที่มีตัวตรวจจับน้ำหนักบรรทุก ซึ่งตัวตรวจจับน้ำหนักบรรทุกถูกจัดโครง
แบบเพื่อตรวจจับน้ำหนักของสินค้าจำนวนหนึ่ง และสร้างสารสนเทศน้ำหนักของสินค้าที่สอดคล้อง
กับสินค้าแต่ละชนิด;
ชั้นวางที่มีหน่วยจัดเก็บแบบชั้นจำนวนหนึ่ง;
ยานพาหนะเคลื่อนที่แบบไร้คนควบคุมที่ถูกจัดโครงแบบเพื่อรับสินค้าจำนวนหนึ่งจาก
อุปกรณ์ตรวจจับ และเคลื่อนย้ายสินค้าจำนวนหนึ่งระหว่างอุปกรณ์ตรวจจับ และชั้นวาง;
เครื่องมือขนถ่ายที่ถูกจัดโครงแบบเพื่อรับสินค้าจำนวนหนึ่งจากยานพาหนะเคลื่อนที่แบบ
ไร้คนควบคุม และเพื่อจัดเก็บสินค้าจำนวนหนึ่งในหน่วยจัดเก็บแบบชั้นแต่ละหน่วย หรือเอาสินค้า
จำนวนหนึ่งออกจากหน่วยจัดเก็บแบบชั้นแต่ละหน่วยของชั้นวาง และ
ตัวประมวลผลที่ถูกเชื่อมต่อสัญญาณเข้ากับอุปกรณ์ตรวจจับ, ยานพาหนะเคลื่อนที่แบบไร้คน
ควบคุมและเครื่องมือขนถ่าย ซึ่งตัวประมวลผลถูกจัดโครงแบบเพื่อจัดเก็บขั้นตอนวิธีการบรรทุก
แบบชั้น, สร้างสัญญาณการจัดเก็บตามขั้นตอนวิธีการบรรทุกแบบชั้น และสารสนเทศน้ำหนักสินค้า
ของสินค้าแต่ละชนิด และส่งผ่านสัญญาณการจัดเก็บไปยังยานพาหนะเคลื่อนที่แบบไร้คนควบคุมและ
เครื่องมือขนถ่าย ซึ่งยานพาหนะเคลื่อนที่แบบไร้คนควบคุมถูกจัดโครงแบบเพื่อขนส่งสินค้าจำนวน
หนึ่งไปยังเครื่องมือขนถ่ายตามสัญญาณการจัดเก็บ และซึ่งเครื่องมือขนถ่ายถูกจัดโครงแบบเพื่อ
จัดสรรสินค้าจำนวนหนึ่งให้กับหน่วยจัดเก็บแบบชั้นแต่ละหน่วยตามสัญญาณการจัดเก็บ
2. ระบบการจัดวางสินค้าตามข้อถือสิทธิข้อที่ 1 ที่ซึ่งตำแหน่งการจัดเก็บถูกจัดเรียงไปตาม
ทิศทางตามแนวตั้งบนชั้นวาง: ตัวประมวลผลถูกจัดโครงแบบเพื่อจัดเก็บสารสนเทศน้ำหนักบรรทุก
ปัจจุบันของหน่วยจัดเก็บแบบชั้นแต่ละหน่วย ตัวประมวลผลสร้างสัญญาณการจัดเก็บตาม
สารสนเทศน้ำหนักบรรทุกปัจจุบัน, ขั้นตอนวิธีการบรรทุกแบบชั้น และสารสนเทศน้ำหนักสินค้าของ
สินค้าแต่ละชนิด: ในระหว่างหน่วยจัดเก็บแบบชั้น, สารสนเทศน้ำหนักบรรทุกปัจจุบันของหน่วย
จัดเก็บแบบชั้นล่างมากกว่าสารสนเทศน้ำหนักบรรทุกปัจจุบันของหน่วยจัดเก็บแบบชั้นบน และ
ผลต่างระหว่างสารสนเทศน้ำหนักบรรทุกปัจจุบันของหน่วยจัดเก็บแบบชั้นล่าง และสารสนเทศ
น้ำหนักบรรทุกปัจจุบันของหน่วยจัดเก็บแบบชั้นบนไม่ได้มากเกินผลต่างของน้ำหนักตามที่กำหนด
เอาไว้ล่วงหน้า
3. ระบบการจัดวางสินค้าตามข้อถือสิทธิข้อที่ 2 ที่ซึ่งตัวประมวลผลถูกจัดโครงแบบเพื่อส่งผ่าน
สัญญาณการเอาออกไปยังเครื่องมือขนถ่ายตามสัญญาณการส่งสินค้าออก; เครื่องมือขนถ่ายเอาสินค้า
ที่สอดคล้องกันจำนวนหนึ่งออกจากหน่วยจัดเก็บแบบชั้นของชั้นวาง เมื่อสินค้าจำนวนหนึ่งถูกเอา
ออกจากหน่วยจัดเก็บแบบชั้น ตัวประมวลผลถูกจัดโครงแบบเพื่ออัปเดตสารสนเทศน้ำหนักบรรทุก

 

ปัจจุบันของหน่วยจัดเก็บแบบชั้นแต่ละหน่วยและสร้างสัญญาณการปรับน้ำหนักบรรทุกตาม
สารสนเทศน้ำหนักบรรทุกปัจจุบันที่อัปเดตแล้ว; ตัวประมวลผลส่งผ่านสัญญาณการปรับน้ำหนัก
บรรทุกไปยังเครื่องมือขนถ่าย และเครื่องมือขนถ่ายปรับตำแหน่งของสินค้าจำนวนหนึ่งบนหน่วย
จัดเก็บแบบชั้นแต่ละหน่วยตามสัญญาณการปรับน้ำหนักบรรทุก
4. ระบบการจัดวางสินค้าตามข้อถือสิทธิข้อที่ 1 ที่ซึ่งตำแหน่งการจัดเก็บถูกจัดเรียงไปตาม
ทิศทางตามแนวตั้งบนชั้นวาง: หน่วยจัดเก็บแบบชั้นแต่ละหน่วยถูกนิยามเป็นพื้นที่การจัดวางวัตถุที่มี
น้ำหนักมาก, พื้นที่การจัดวางวัตถุที่มีน้ำหนักปกติ และพื้นที่การจัดวางวัตถุที่มีน้ำหนักเบาไปตาม
ทิศทางตามแนวตั้ง ตามลำดับ: พื้นที่การจัดวางวัตถุที่มีน้ำหนักมากถูกจัดเรียงอยู่ที่ด้านล่างของชั้นวาง
และพื้นที่การจัดวางวัตถุที่มีน้ำหนักเบาถูกจัดเรียงอยู่ที่ด้านบนของชั้นวาง, โดยมีพื้นที่การจัดวางวัตถุ
ที่มีน้ำหนักปกติที่ถูกจัดเรียงระหว่างพื้นที่การจัดวางวัตถุที่มีน้ำหนักมาก และพื้นที่การจัดวางวัตถุที่มี
น้ำหนักเบาเมื่อสารสนเทศน้ำหนักสินค้าของสินค้าแต่ละชนิดที่ถูกสร้างขึ้นโดยตัวตรวจจับน้ำหนัก
บรรทุกมากเกินเกณฑ์น้ำหนักสูงที่กำหนดเอาไว้ล่วงหน้า, เครื่องมือขนถ่ายจัดเก็บสินค้าที่สอดคล้อง
กันจำนวนหนึ่งในพื้นที่การจัดวางวัตถุที่มีน้ำหนักมากตามสัญญาณการจัดเก็บ เมื่อสารสนเทศน้ำหนัก
สินค้าของสินค้าแต่ละชนิดอยู่ระหว่างเกณฑ์น้ำหนักสูงที่กำหนดเอาไว้ล่วงหน้า และเกณฑ์น้ำหนักต่ำ
ที่กำหนดเอาไว้ล่วงหน้า, เครื่องมือขนถ่ายจัดเก็บสินค้าที่สอดคล้องกันจำนวนหนึ่งในพื้นที่การจัดวาง
วัตถุที่มีน้ำหนักปกติตามสัญญาณการจัดเก็บ เมื่อสารสนเทศน้ำหนักสินค้าของสินค้าแต่ละชนิดต่ำกว่า
เกณฑ์น้ำหนักต่ำที่กำหนดเอาไว้ล่วงหน้า, เครื่องมือขนถ่ายจัดเก็บสินค้าที่สอดคล้องกันจำนวนหนึ่ง
ในพื้นที่การจัดวางวัตถุที่มีน้ำหนักเบาตามสัญญาณการจัดเก็บ
5. ระบบการจัดวางสินค้าตามข้อถือสิทธิข้อที่ 1 ที่ซึ่งอุปกรณ์ตรวจจับ มีตัวตรวจจับสารสนเทศ
ซึ่งถูกจัดโครงแบบเพื่ออ่านสารสนเทศบนสินค้าจำนวนหนึ่ง และดังนั้นจึงสร้างสารสนเทศสินค้า
พื้นฐานที่สอดคล้องกับสินค้าแต่ละชนิด, ตัวประมวลผลถูกจัดโครงแบบเพื่อจัดเก็บสารสนเทศ
ปริมาณสินค้าที่อยู่ภายใน และขั้นตอนวิธีความไม่เข้ากันของสินค้า, ตามสารสนเทศสินค้าพื้นฐานของ
สินค้าแต่ละชนิด, สารสนเทศปริมาณสินค้าที่อยู่ภายใน และขั้นตอนวิธีความไม่เข้ากันของสินค้า,
ตัวประมวลผลระบุสินค้าที่ไม่เข้ากันจำนวนหนึ่ง และดังนั้นจึงสร้างสัญญาณการจัดเก็บ; เครื่องมือขน
ถ่ายถูกจัดโครงแบบเพื่อจัดสรรสินค้าจำนวนหนึ่งให้กับหน่วยจัดเก็บแบบชั้นซึ่งถูกจัดเรียงห่างออก
จากสินค้าที่ไม่เข้ากันจำนวนหนึ่งตามสัญญาณการจัดเก็บ
6. ระบบการจัดวางสินค้าตามข้อถือสิทธิข้อที่ 1 ที่ซึ่งตัวประมวลผลถูกจัดโครงแบบเพื่อส่งผ่าน
สัญญาณการจัดเก็บไปยังยานพาหนะเคลื่อนที่แบบไร้คนควบคุมที่หยุดนิ่งและเครื่องมือขนถ่ายที่มี
ปริมาณภารกิจขนถ่ายที่น้อยที่สุด, ยานพาหนะเคลื่อนที่แบบไร้คนควบคุมขนส่งสินค้าจำนวนหนึ่งไป
ยังเครื่องมือขนถ่ายตามสัญญาณการจัดเก็บ และเครื่องมือขนถ่ายที่มีปริมาณภารกิจขนถ่ายที่น้อยที่สุด
จัดสรรสินค้าจำนวนหนึ่งให้กับหน่วยจัดเก็บแบบชั้นตามสัญญาณการจัดเก็บ

 

7. ระบบการจัดวางสินค้าตามข้อถือสิทธิข้อที่ 1 ที่ซึ่งหน่วยจัดเก็บแบบชั้นแต่ละหน่วยของชั้น
วางถูกจัดให้มีพร้อมกับตำแหน่งการจัดเก็บที่หนึ่ง และตำแหน่งการจัดเก็บที่สอง ตามลำดับ; ตำแหน่ง
การจัดเก็บที่หนึ่งถูกจัดเรียงอยู่บนด้านหนึ่งของหน่วยจัดเก็บแบบชั้นที่อยู่ติดกับเครื่องมือขนถ่ายและ
ตำแหน่งการจัดเก็บที่สองถูกจัดเรียงอยู่บนอีกด้านหนึ่งของหน่วยจัดเก็บแบบชั้นห่างออกจาก
เครื่องมือขนถ่าย; เครื่องมือขนถ่ายถูกจัดโครงแบบเพื่อจัดเก็บสินค้าจำนวนหนึ่งในตำแหน่งการจัดเก็บ
ที่สองอย่างพึงประสงค์
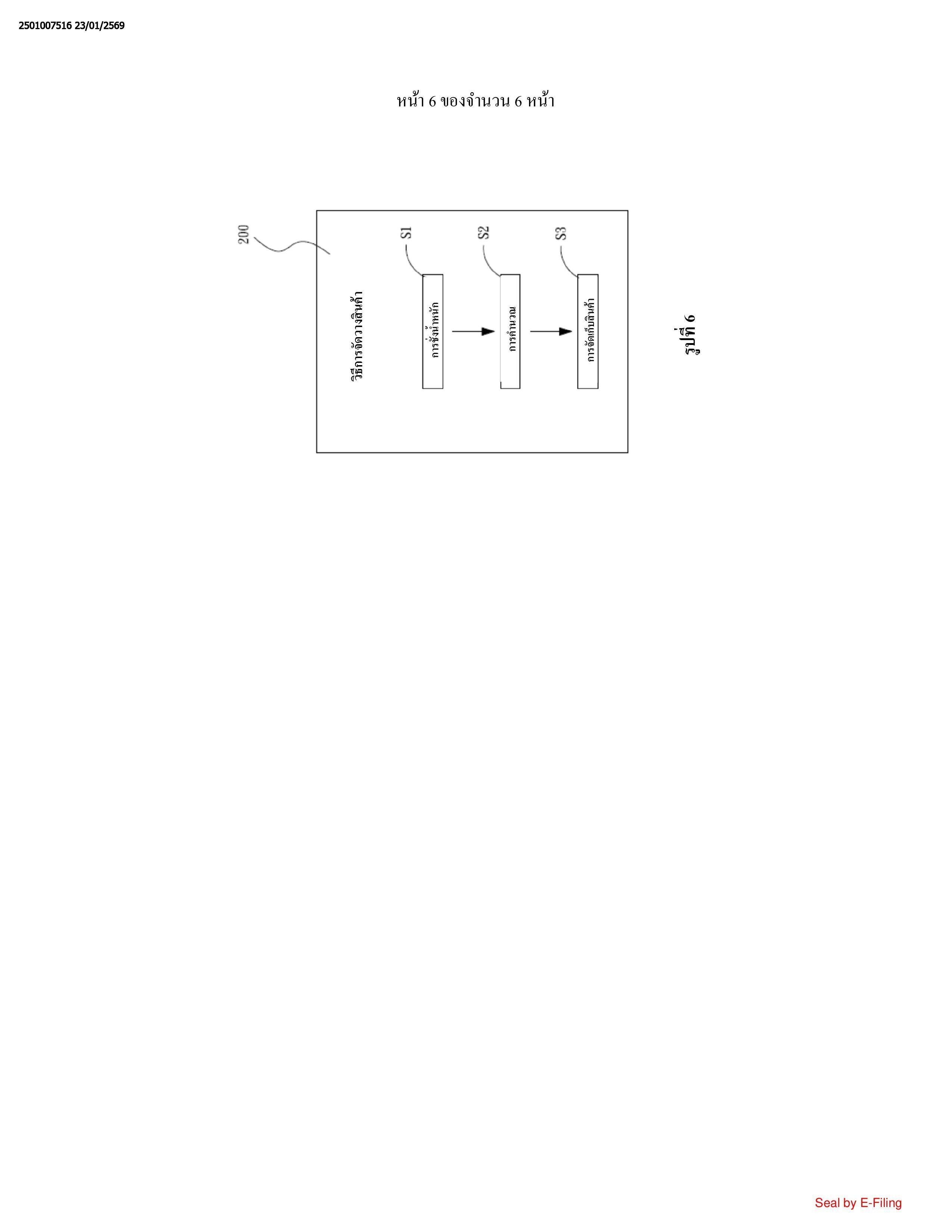
8. วิธีการจัดวางสินค้าซึ่งประกอบรวมด้วย:
ขั้นตอน S1 การตรวจจับน้ำหนักของสินค้าจำนวนหนึ่ง และการสร้างสารสนเทศน้ำหนักของ
สินค้าที่สอดคล้องกับสินค้าแต่ละชนิดโดยตัวตรวจจับน้ำหนักบรรทุกของอุปกรณ์ตรวจจับ;
ขั้นตอน S2 การสร้างสัญญาณการจัดเก็บตามขั้นตอนวิธีการบรรทุกแบบชั้น และสารสนเทศ
น้ำหนักสินค้าของสินค้าแต่ละชนิด และการส่งผ่านสัญญาณการจัดเก็บไปยังยานพาหนะเคลื่อนที่แบบ
ไร้คนควบคุมและเครื่องมือขนถ่ายโดยตัวประมวลผล และ
ขั้นตอน S3 การขนส่งสินค้าจำนวนหนึ่งไปยังเครื่องมือขนถ่ายโดยยานพาหนะเคลื่อนที่แบบ
ไร้คนควบคุมตามสัญญาณการจัดเก็บ และการจัดสรรสินค้าจำนวนหนึ่งให้กับหน่วยจัดเก็บแบบชั้น
จำนวนหนึ่งของชั้นวางโดยเครื่องมือขนถ่ายตามสัญญาณการจัดเก็บ
9. วิธีการจัดวางสินค้าตามข้อถือสิทธิข้อที่ 8 ที่ซึ่งในขั้นตอน S2 ตัวประมวลผลสร้างสัญญาณ
การจัดเก็บตามสารสนเทศน้ำหนักบรรทุกปัจจุบัน, ขั้นตอนวิธีการบรรทุกแบบชั้น และสารสนเทศ
น้ำหนักสินค้าของสินค้าแต่ละชนิด; ในขั้นตอน S3 เครื่องมือขนถ่ายจัดสรรสินค้าจำนวนหนึ่งให้กับ
หน่วยจัดเก็บแบบชั้นที่ถูกจัดเรียงไปตามทิศทางตามแนวตั้งตามสัญญาณการจัดเก็บ; ในระหว่างหน่วย
จัดเก็บแบบชั้น, สารสนเทศน้ำหนักบรรทุกปัจจุบันของหน่วยจัดเก็บแบบชั้นล่างมากกว่าสารสนเทศ
น้ำหนักบรรทุกปัจจุบันของหน่วยจัดเก็บแบบชั้นบน; ผลต่างระหว่างสารสนเทศน้ำหนักบรรทุก
ปัจจุบันของหน่วยจัดเก็บแบบชั้นล่าง และสารสนเทศน้ำหนักบรรทุกปัจจุบันของหน่วยจัดเก็บแบบ
ชั้นบนไม่ได้มากเกินผลต่างของน้ำหนักตามที่กำหนดเอาไว้ล่วงหน้า
10. วิธีการจัดวางสินค้าตามข้อถือสิทธิข้อที่ 8 ที่ซึ่งในขั้นตอน S1 ตัวตรวจจับสารสนเทศของ
อุปกรณ์ตรวจจับอ่านสารสนเทศบนสินค้าจำนวนหนึ่ง และดังนั้นจึงสร้างสารสนเทศสินค้าพื้นฐานที่
สอดคล้องกับสินค้าแต่ละชนิด: ในขั้นตอน S2 ตามสารสนเทศสินค้าพื้นฐานของสินค้าแต่ละชนิด,
สารสนเทศปริมาณสินค้าที่อยู่ภายใน และขั้นตอนวิธีความไม่เข้ากันของสินค้า, ตัวประมวลผลระบุ
สินค้าที่ไม่เข้ากันจำนวนหนึ่งและดังนั้นจึงสร้างสัญญาณการจัดเก็บ ในขั้นตอน S3 เครื่องมือขนถ่าย
จัดสรรสินค้าจำนวนหนึ่งให้กับหน่วยจัดเก็บแบบชั้นซึ่งถูกจัดเรียงห่างออกจากสินค้าที่ไม่เข้ากัน
จำนวนหนึ่งตามสัญญาณการจัดเก็บ