Application Type
Patents
Application SubType
National Patent
(10) Registration Number and Date
Status
ACTIVE ( Search and examination requested)
(180) Expiration Date
(20) Filing Number and Date
TH 2501002595 2025.04.22
(40) Publication Number and Date
${pbin}
(86) PCT Filing Number and Date
(87) PCT Publication Number and Date
(85) National Entry Date
(30) Priority Details
CN
CN2024107541079
2024.06.12
(51) IPC Classes
(71/73) Applicant
(TH) เจ้อเจียง ดูเบสท์ พาวเวอร์ ทูลส์ โค., แอลทีดี. : เลขที่ 9 ฮวาเฉิง เวสต์ โร้ด, เฉิงซี นิว โซน, หย่งคัง 321300, เจ้อเจียง, ประเทศจีน
(72) Inventor
(TH) เซียนซิน กั๋ว : เลขที่ 6, เน่ซุน เซคเคินด์ โร้ด, มูไดเคิง วิลเลจ, อวี้ซี ทาวน์ชิพ, ซ่งหยาง เค้าน์ตี้, หลี่ซุ่ย ซิตี้, เจ้อเจียง โพรวิ้นซ์
เซียวเหลียง หลี่
เซียวฮวา หวง
เผิง ฮวาง
(74) Representative
(TH) นาย ภวัต วราภิรมย์ : บริษัท ทีเอ็มพี อินเทลเลคชวล พร็อพเพอร์ตี้ จำกัด เลขที่ 65 อาคาร42 ทาวเวอร์ (ห้อง 1502) สุขุมวิท ตำบลพระโขนง อำเภอคลองเตย จังหวัดกรุงเทพมหานคร
นาย มูนีฟ ไชยปัญญา
(54) Title
(TH)

เครื่องตัดหญ้าขับเคลื่อนอัตโนมัติ

(57) Abstract
(TH)

OCR 07AP

เครื่องตัดหญ้าขับเคลื่อมอัตโนมัติรวมถึงกรอบ ชิ้น่สวนประกอบสำหรับตัดหญ้า ชิ้นส่วนประกอบสำหรับ

เคลื่อนที่ และชิ้นส่วนประกอบสำหรับขับเคลื่อน ชิ้นส่วนประกอบสำหรับขับเคลื่อนรวมถึงชิ้นส่วนขับเคลื่อนและกลไก

ส่งกำลัง และกลไกส่งกำลังรวมถึงชุดเฟืองและชุดลูกรอกสายพาน ชุดเฟืองถูกต่อเข้ากับเพลากำลังขาออกของชิ้นส่วน

ขับเคลื่อนแบบขับเคลื่อนได้ เพลงกำลังของใบมีดตัดหญ้าแบบหมุนถูกต่อเข้ากับชุดลูกกรอกสายพานแบบขับเคลื่อนได้

ชุดเฟืองได้รับการออกแบบเพื่อส่งกำลังที่สร้างขึ้นจากชิ้นส่วนขับเคลื่อนไปยังชุดลูกรอกสายพานผ่านเพลาส่งกำลัง ชุด

ลูกรอกสายพานรวมถึงลูกรอกที่หนึ่ง ลูกรอกที่สอง และล้อแกว่ง ลูกรอกที่หนึ่งและลูกรอกที่สองเชื่อมต่อกันแบบส่ง

กำลังด้วยสายพานซิงโครนัสที่หนึ่ง ล้อแกว่างถูกจัดวางอยู่ระหว่างลูกรอกที่หนึ่งและสอง และล้อแกว่างถูกจัดวางไว้ให้ออก

แรงต้านกับด้านนอกของสายพานซิงโครนัสที่หนึ่ง

(58) Citations
License Details
(98) Annuity Details
YearValidity StartValidity EndPayment
Document Type Date Action
description 2025-07-28T00:00:00Z
gazette 2025-07-28T00:00:00Z
abstract 2025-07-28T00:00:00Z
claims 2025-07-28T00:00:00Z
Event NameDateLink
Application filed2025-04-22
Document published2025-07-28
Search and examination requested2025-08-01

1

OCR 07AP

1. เครื่องตัดหญ้าขับเคลื่อนอัตโนมัติ ซึ่งประกอบรวมด้วย: กรอบ ชิ้นส่วนประกอบสำหรับตัดหญ้า ชิ้นส่วน

ประกอบสำหรับเคลื่อนที่ และชิ้นส่วนประกอบสำหรับขับเคลื่อน

ที่ซึ่งชิ้นส่วนประกอบสำหรับตัดหญ้าประกอบรวมด้วย: ใบมีดตัดหญ้าแบบหมุน และใบมีดตัดหญ้าแบบหมุนถูก

จัดเตรียมให้มีเพลากำลัง

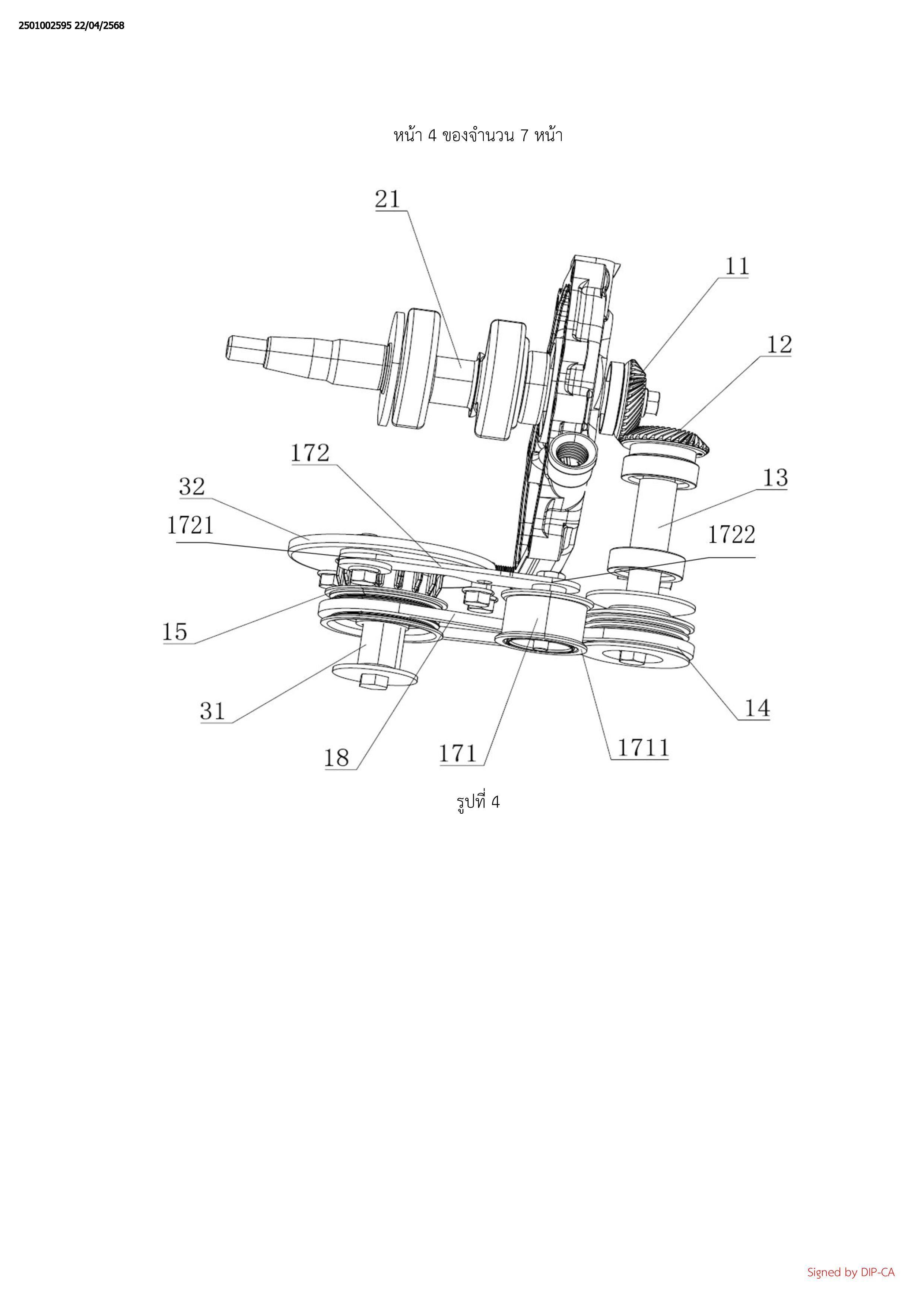
ที่ซึ่งชิ้นส่วนประกอบสำหรับขับเคลื่อนประกอบรวมด้วย: ชิ้นส่วนขับเคลื่อนและกลไกส่งกำลัง ชิ้นส่วน

ขับเคลื่อนประกอบรวมด้วย: เพลากำลังขาออก และกลไกส่งกำลังประกอบรวมด้วย: ชุดเฟืองและชุดลูกรอกสายพาน

ที่ซึ่งชุดเฟืองถูกต่อเข้ากับเพลากำลังขาออกของชิ้นส่วนขับเคลื่อนแบบขับเคลื่อนได้ เพลากำลังของใบมีดตัด

หญ้าแบบหมุนถูกต่อเข้ากับชุดลูกรอกสายพานแบบขับเคลื่อนได้ และชุดเฟืองได้รับการออกแบบเพื่อส่งกำลังที่สร้างขึ้น

จากชิ้นส่วนขับเคลื่อนไปยังชุดลูกรอกสายพานผ่านเพลาส่งกำลัง

ที่ซึ่งชุดลูกรอกสายพานประกอบรวมด้วยลูกรอกที่หนึ่ง ลูกรอกที่สอง และล้อแกว่ง ลูกรอกที่หนึ่งและลูกรอกที่

สองเชื่อมต่อกันแบบส่งกำลังด้วยสายพานซิงโครนัสที่หนึ่ง ล้อแกว่งถูกจัดวางอยู่ระหว่างลูกรอกที่หนึ่งและลูกรอกที่สอง

และล้อแกว่งถูกจัดวางไว้ให้ออกแรงต้านกับด้านนอกของสายพานซิงโครนัสที่หนึ่ง และดันด้านที่หนึ่งของสายพาน

ซิงโครนัสที่หนึ่งไปทางด้านที่สองของสายพานซิงโครนัสที่หนึ่ง ล้อแกว่งถูกจัดวางอยู่บนแขนแกว่งและผ่านการออกแบบ

ให้แกว่งโดยสอดคล้องกับลูกรอกที่หนึ่งและลูกรอกที่สอง แขนแกว่งถูกจัดเตรียมให้มีสปริงดึง และสปริงดึงได้รับการ

ออกแบบเพื่อสร้างแรงสำหรับใช้กับล้อแกว่งเพื่อให้ออกแรงต้านกับสายพานซิงโครนัสที่หนึ่ง

2. เครื่องตัดหญ้าขับเคลื่อนอัตโนมัติตามที่อ้างสิทธิในข้อถือสิทธิที่ 1 ที่ซึ่งเพลากำลังขาออกของชิ้นส่วน

ขับเคลื่อนถูกจัดเรียงในแนวระดับ และเพลากำลังของใบมีดตัดหญ้าแบบหมุนถูกจัดเรียงในแนวดิ่ง ชุดเฟืองประกอบรวม

ด้วย: เฟืองที่หนึ่งและเฟืองที่สองซึ่งทำงานร่วมกัน และเฟืองที่หนึ่งและเฟืองที่สองคือเฟืองดอกจอก เพลาส่งกำลังถูก

จัดเรียงในแนวดิ่ง เฟืองที่หนึ่งถูกต่อเข้ากับเพลากำลังขาออกของชิ้นส่วนขับเคลื่อนแบบถาวร เฟืองที่สองถูกจัดวางอยู่ที่

ปลายด้านบนของเพลาส่งกำลังแบบถาวร และลูกรอกที่หนึ่งถูกจัดวางอยู่ที่ปลายด้านล่างของเพลาส่งกำลังแบบถาวร

3. เครื่องตัดหญ้าขับเคลื่อนอัตโนมัติตามที่อ้างสิทธิในข้อถือสิทธิที่ 2 ที่ซึ่งเพลากำลังของใบมีดตัดหญ้าแบบหมุน

ประกอบอยู่บนแผ่นยึดแบบหมุนได้ และลูกรอกที่สองสวมอยู่บนเพลากำลังแบบถาวรและจัดวางอยู่ใต้แผ่นยึด แขน

แกว่งประกอบรวมด้วย: ปลายหมุนและปลายชิ้นส่วนประกอบที่อยู่ตรงข้ามกัน ปลายหมุนประกอบอยู่บนแผ่นยึดแบบ

หมุนได้ และล้อแกว่งถูกจัดวางให้แขวนอยู่ใต้ปลายชิ้นส่วนประกอบ ปลายของสปริงดึงถูกแขวนอยู่บนปลายชิ้น

ส่วนประกอบ และปลายอีกด้านหนึ่งของสปริงดึงถูกแขวนอยู่บนกรอบ แกนกลางของล้อแกว่งขนานกับแกนกลางของ

ลูกรอกที่หนึ่งและแกนกลางของลูกรอกที่สอง และล้อแกว่งถูกจัดวางไว้ใกล้กับลูกรอกที่หนึ่ง

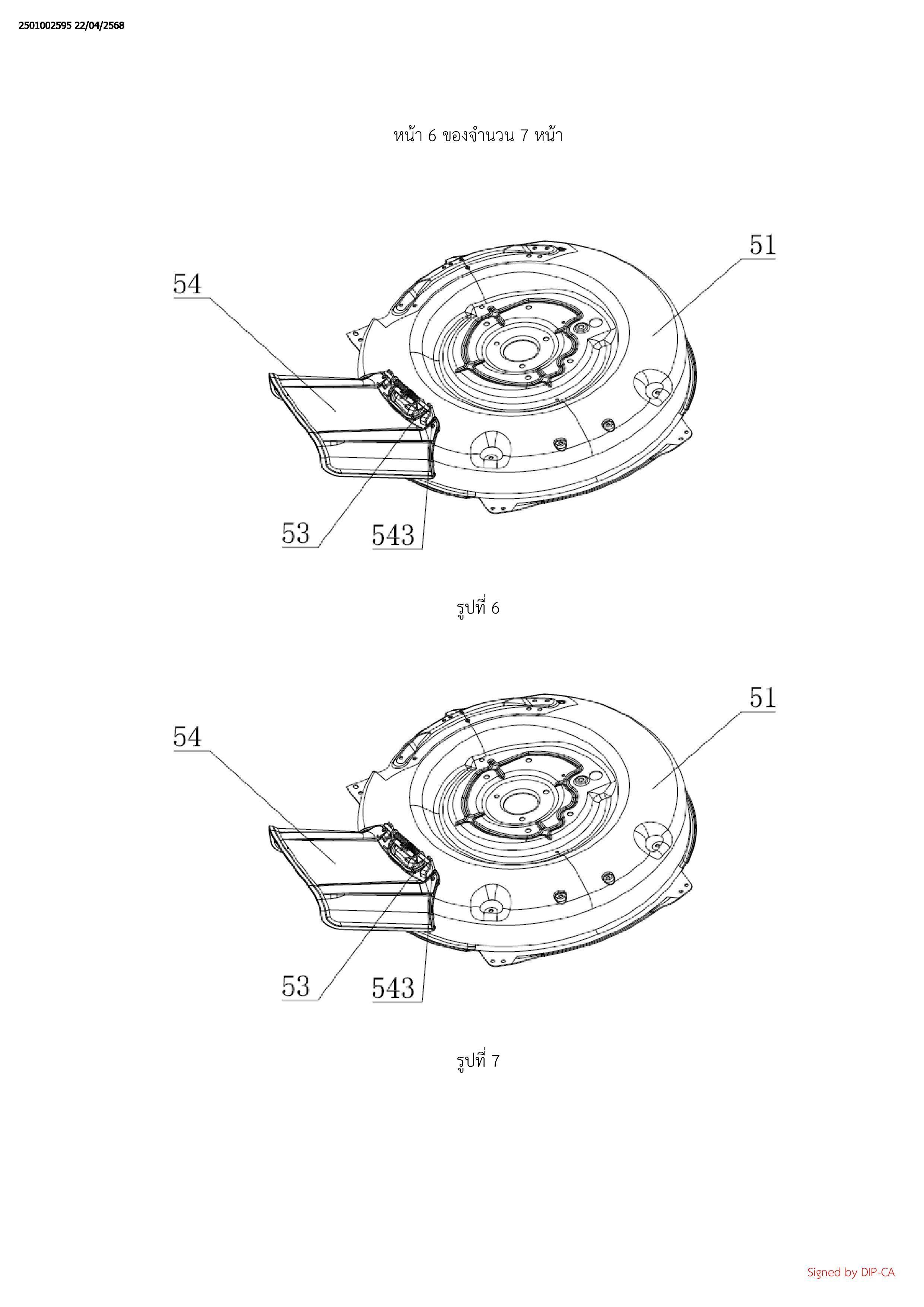
4. เครื่องตัดหญ้าขับเคลื่อนอัตโนมัติตามที่อ้างสิทธิในข้อถือสิทธิที่ 1 ที่ซึ่งกรอบประกอบรวมด้วยตัวเรือนซึ่ง

ครอบอยู่บนใบมีดตัดหญ้าแบบหมุน โดยตัวเรือนกำหนดขอบเขตช่องตัดหญ้าที่ออกแบบขึ้นเพื่อใช้สำหรับปฏิบัติการโร

ตารีของใบมีดตัดหญ้าแบบหมุน ผนังด้านข้างของตัวเรือนกำหนดขอบเขตทางหญ้าออกที่หนึ่งซึ่งเชื่อมต่อกับช่องตัดหญ้า

และด้านหลังของตัวเรือนกำหนดขอบเขตทางหญ้าออก ที่สองซึ่งเชื่อมต่อกับช่องตัดหญ้า

5. เครื่องตัดหญ้าขับเคลื่อนอัตโนมัติตามที่อ้างสิทธิในข้อถือสิทธิที่ 4 ที่ซึ่งตัวเรือนได้รับการติดบานพับพร้อมกับ

ฝาพับที่หนึ่งโดยใช้เพลาเชื่อมต่อ ฝาพับที่หนึ่งได้รับการออกแบบให้พับกลับไปกลับมาระหว่างตำแหน่งปิดและตำแหน่ง

เปิด และฝาพับที่หนึ่งครอบทางหญ้าออกที่หนึ่งเมื่อฝาพับที่หนึ่งอยู่ในตำแหน่งปิด หรือทางหญ้าออกที่หนึ่งเชื่อมต่อกับ

ด้านนอกเมื่อฝาพับที่หนึ่งอยู่ในตำแหน่งเปิด

6. เครื่องตัดหญ้าขับเคลื่อนอัตโนมัติตามที่อ้างสิทธิในข้อถือสิทธิที่ 5 ที่ซึ่งสปริงดึงที่หนึ่งถูกจัดวางอยู่ระหว่างฝา

พับที่หนึ่งและตัวเรือน และสปริงดึงที่หนึ่งได้รับการออกแบบเพื่อสร้างแรงเพื่อรักษาฝาพับที่หนึ่งให้อยู่ในตำแหน่งปิด

เมื่อฝาพับที่หนึ่งอยู่ในตำแหน่งเปิด แผ่นสล็อตจะถูกประกอบขึ้นบนตัวเรือนแบบถอดออกได้ โดยแผ่นสล็อตจะถูกจัดวาง

ตำแหน่งให้สอดคล้องกับทางหญ้าออกที่หนึ่งและรองรับฝาพับที่หนึ่ง ด้วยวิธีนี้จึงเป็นการรักษาฝาพับที่หนึ่งให้อยู่ใน

ตำแหน่งเปิด และแผ่นสล็อตนั้นยื่นออกมาทางด้านนอกและกำหนดขอบเขตช่องเปิดที่หันหน้าลงด้านล่าง

7.เครื่องตัดหญ้าขับเคลื่อนอัตโนมัติตามที่อ้างสิทธิในข้อถือสิทธิที่6 ที่ซึ่งแผ่นสล็อตประกอบรวมด้วยแผ่นรูป

ตัว U และแผ่นยื่นที่ประกอบขึ้นบนปลายของแผ่นรูปตัว U แผ่นยื่นถูกวางซ้อนบนตัวเรือน และตะขอแขวนถูกจัดวางอยู่

บนแผ่นยื่นและถูกแขวนอยู่บนเพลาเชื่อมต่อ

8. เครื่องตัดหญ้าขับเคลื่อนอัตโนมัติตามที่อ้างสิทธิในข้อถือสิทธิที่ 4 ที่ซึ่งกรอบประกอบเพิ่มเติมด้วยอุปกรณ์

จับยึดประกอบชิ้นส่วนที่จัดวางอยู่ที่ด้านหลังของตัวเรือน และอุปกรณ์จับยึดประกอบชิ้นส่วนกำหนดขอบเขตปากทาง

แนวระนาบตัดหญ้าซึ่งเชื่อมต่อกับทางหญ้าออกที่สอง อุปกรณ์จับยึดประกอบชิ้นส่วนได้รับการติดบานพับพร้อมกับฝา

พับที่สอง และฝาพับที่สองได้รับการออกแบบให้พับกลับไปกลับมาระหว่างตำแหน่งปิดและตำแหน่งเปิด และฝาพับที่

สองครอบปากทางแนวระนาบตัดหญ้าเมื่อฝาพับที่สองอยู่ในตำแหน่งปิด หรือปากทางแนวระนาบตัดหญ้าเชื่อมต่อกับ

ด้านนอกเมื่อฝาพับที่สองอยู่ในตำแหน่งเปิด

9. เครื่องตัดหญ้าขับเคลื่อนอัตโนมัติตามที่อ้างสิทธิในข้อถือสิทธิที่ 8 ที่ซึ่งสปริงดึงที่สองถูกจัดวางอยู่ระหว่างฝา

พับที่สองและอุปกรณ์จับยึดประกอบชิ้นส่วน และสปริงดึงที่สองได้รับการออกแบบเพื่อสร้างแรงเพื่อรักษาฝาพับที่สอง

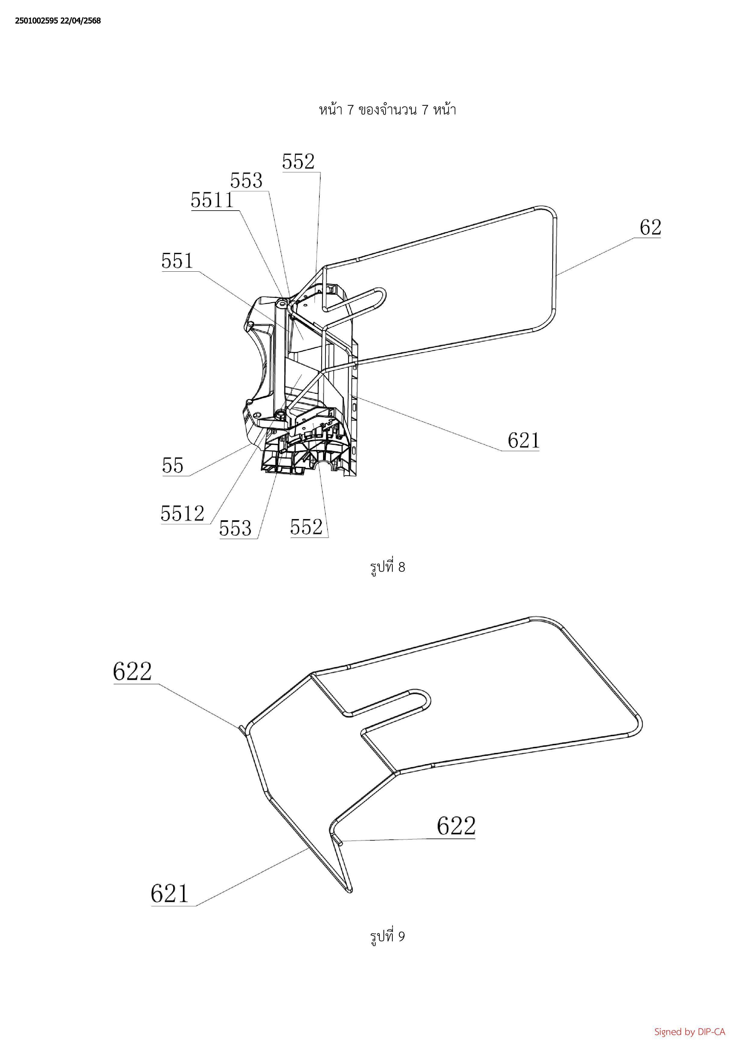
ให้อยู่ในตำแหน่งปิด เมื่อฝาพับที่สองอยู่ในตำแหน่งเปิด ถังเก็บหญ้าจะถูกประกอบขึ้นบนอุปกรณ์จับยึดประกอบชิ้นส่วน

แบบถอดออกได้และรองรับฝาพับที่สอง ด้วยวิธีนี้จึงเป็นการรักษาฝาพับที่สองให้อยู่ในตำแหน่งเปิด และทำให้ปากทาง

นำหญ้าเข้าของถังเก็บหญ้าเชื่อมต่อกับปากทางแนวระนาบตัดหญ้า

10. เครื่องตัดหญ้าขับเคลื่อนอัตโนมัติตามที่อ้างสิทธิในข้อถือสิทธิที่ 9 ที่ซึ่งอุปกรณ์จับยึดประกอบชิ้น

ส่วนประกอบรวมด้วยแผ่นเอียงไปข้างหน้าที่เอียงไปทางตัวเรือนและแผ่นด้านข้างที่จัดวางอยู่ที่ทั้งสองด้านของแผ่นเอียง

ไปข้างหน้า ปากทางแนวระนาบตัดหญ้าถูกกำหนดให้อยู่บนแผ่นเอียงไปข้างหน้า และบอสที่ยื่นออกมาซึ่งเอียงไปทาง

ปากทางแนวระนาบตัดหญ้านั้นถูกจัดวางอยู่บนแผ่นเอียงไปข้างหน้า ถังเก็บหญ้าประกอบรวมด้วยถุงเก็บหญ้าแบบ

ยืดหยุ่น และกรอบรองรับซึ่งรับน้ำหนักอยู่บนขอบด้านนอกของถุงเก็บหญ้าแบบยืดหยุ่น กรอบรองรับประกอบรวมด้วย

แท่งรองรับที่จดกับขอบด้านนอกของแผ่นเอียงไปข้างหน้า และแห่งแขวนถูกจัดวางอยู่ที่ทั้งสองด้านของแห่งรองรับโดย

สมมาตรกัน จุดเชื่อมต่อระหว่างแผ่นเอียงไปข้างหน้าและแผ่นด้านข้างที่จัดวางไว้ที่ทั้งสองด้านของแผ่นเอียงไปข้างหน้า

จะกำหนดขอบเขตของร่องสำหรับฝังแท่งแขวน