Application Type
National
Application SubType
(10) Registration Number and Date
10202400809Q
Status
ACTIVE ( Other event occurred)
(180) Expiration Date
(20) Filing Number and Date
SG 10202400809Q 2023.12.31
(40) Publication Number and Date
${pbin}
(86) PCT Filing Number and Date
(87) PCT Publication Number and Date
(85) National Entry Date
(30) Priority Details
KR
KR10-2023-0038613
2023.01.01
(51) IPC Classes
    (72) Inventor
    (74) Representative
    (54) Title
    (57) Abstract
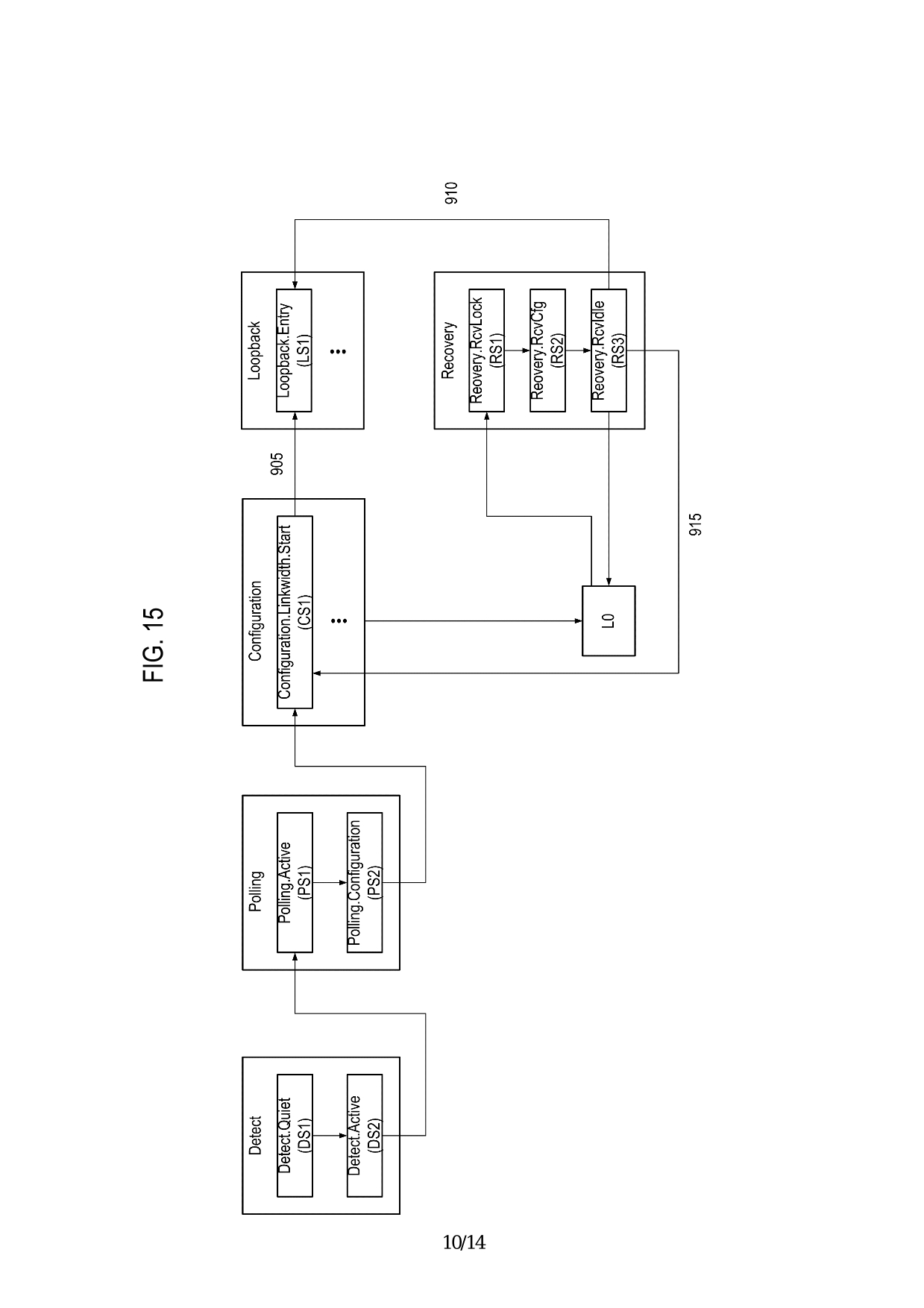
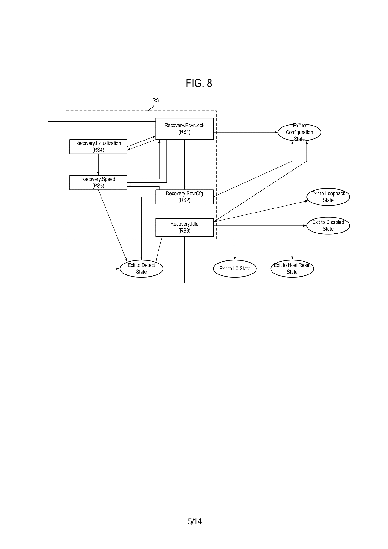
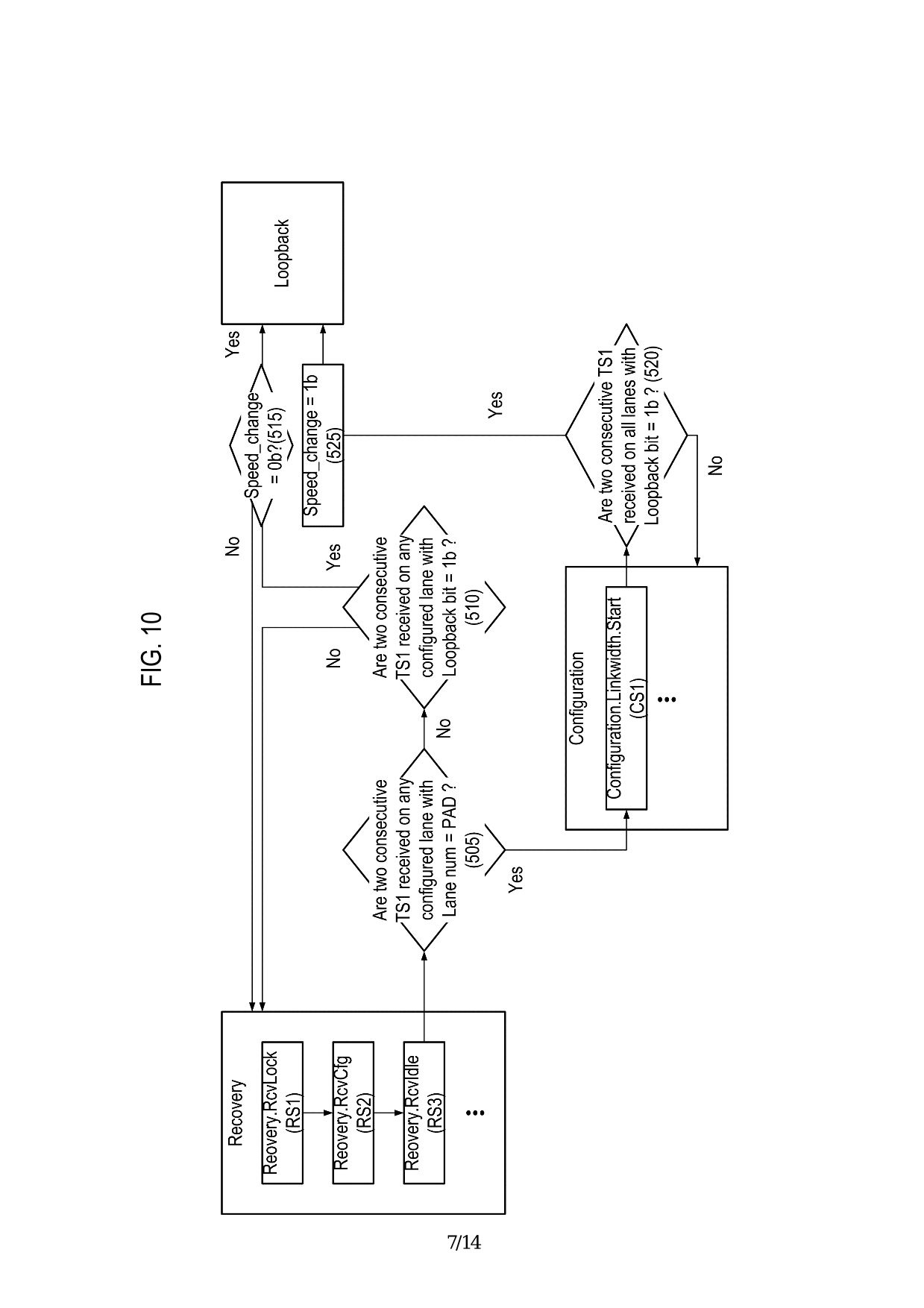
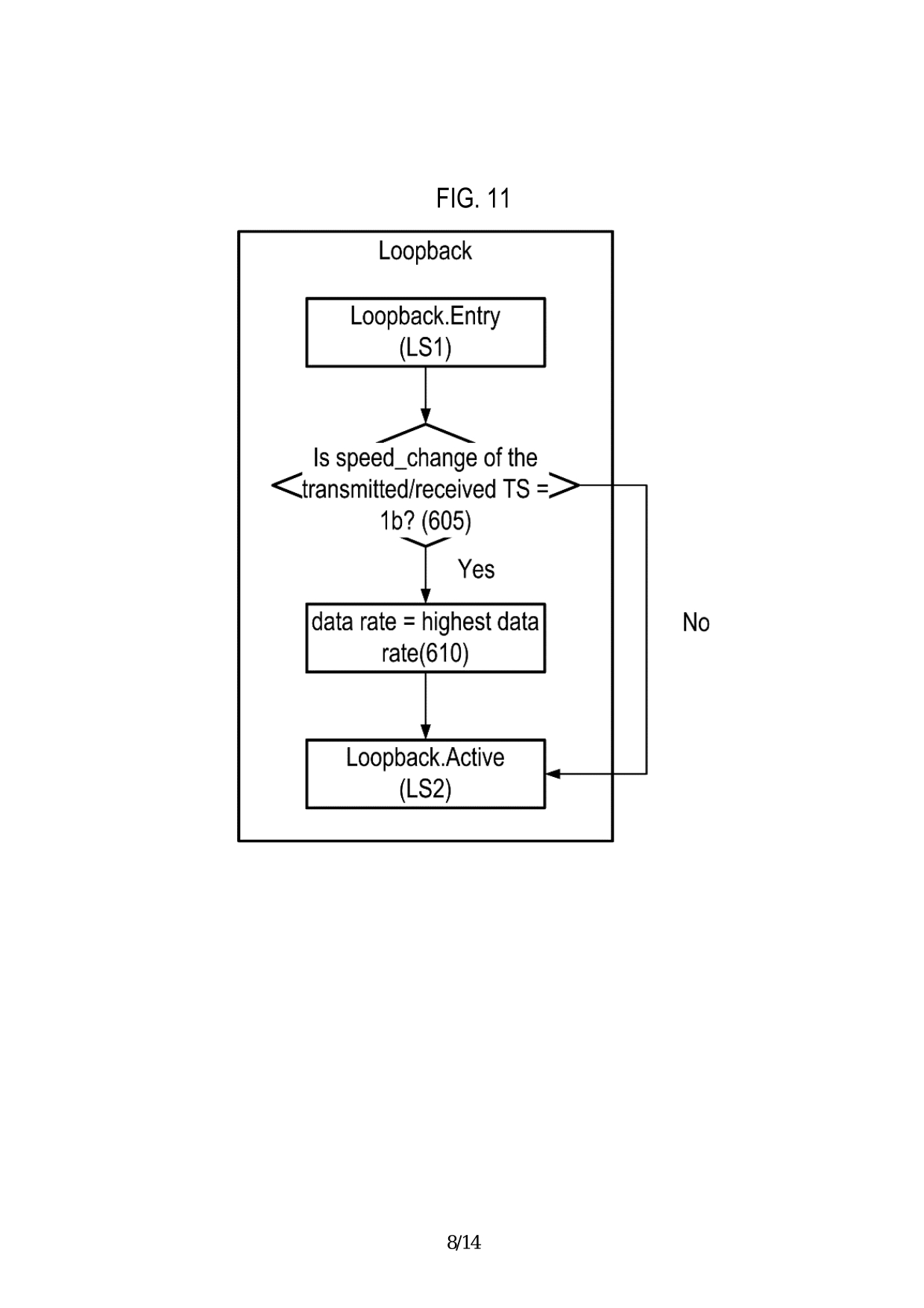
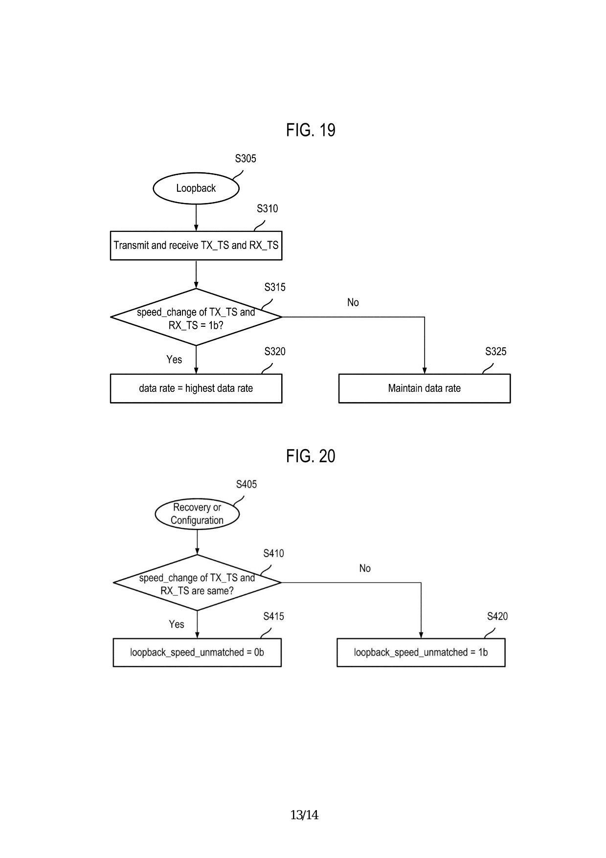
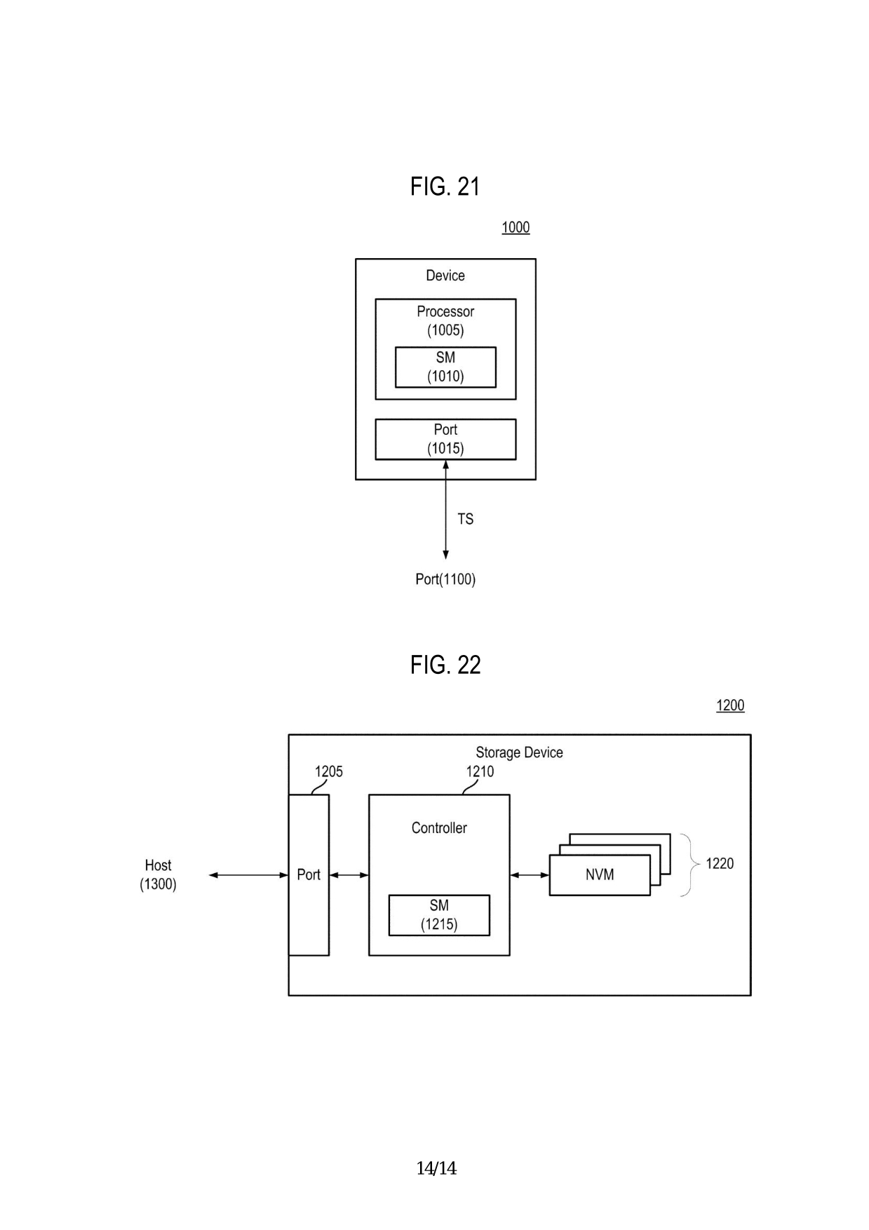
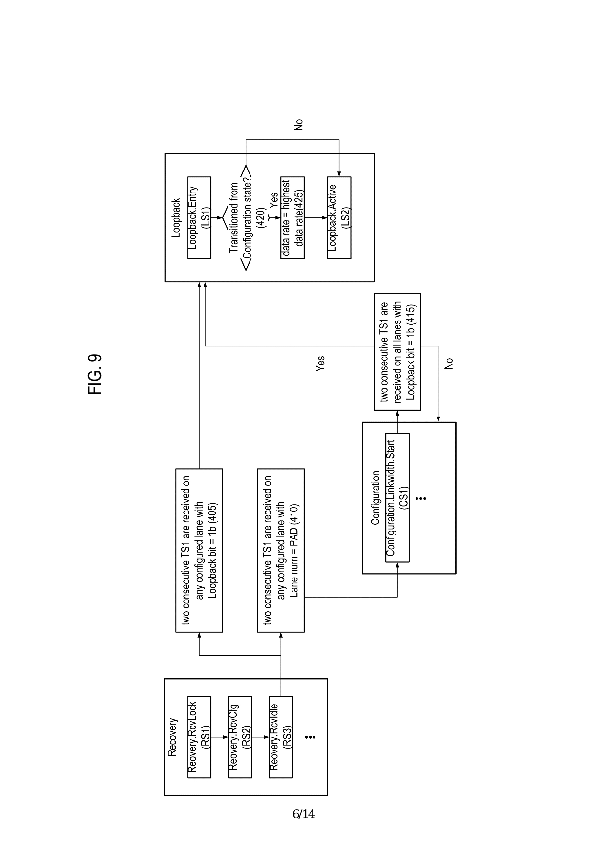
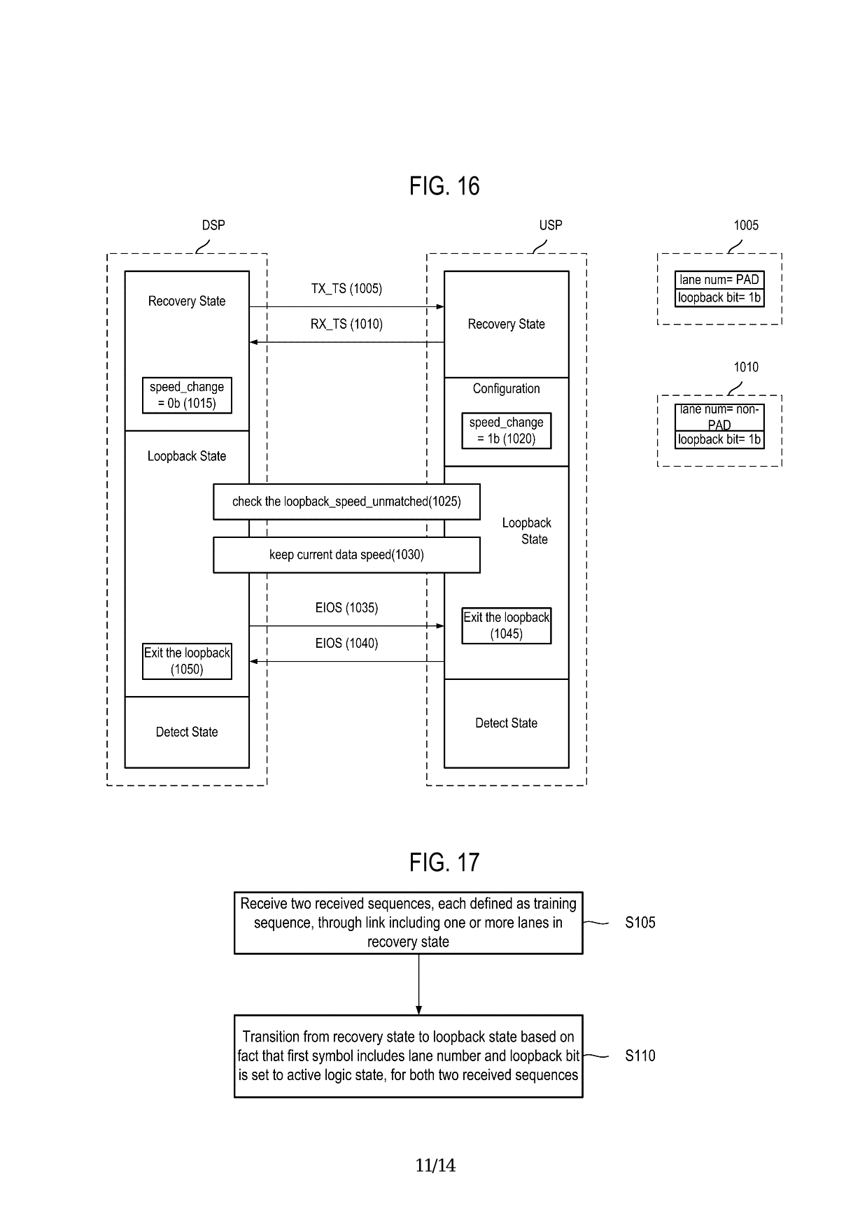
    (EN) ABSTRACT A device includes a port connected to a link including one or more lanes to support communication between the device and another device; and a controller that controls the link based on a link training and status state machine (LTSSM). The port may receive two received sequences, each defined as a training sequence, through the link in a recovery state included in the LTSSM. The training sequence may include a first symbol, including a lane number or a special symbol, and a second symbol including a loopback bit. The controller may transition from the recovery state to a loopback state included in the LTSSM, based on the first symbol including the lane number and the loopback bit being set to an active logic state, for both of the two received sequences. FIG. 10 42
    (58) Citations
    License Details
    (98) Annuity Details
    YearValidity StartValidity EndPayment
    Document Type Date Action
    Description (with claims) 2024-03-21T00:00:00Z
    Abstract 2024-03-21T00:00:00Z
    Event NameDateLink
    Other event occurred2023-12-31
    Other event occurred2023-12-31
    Other event occurred2023-12-31