Application Type
Patents
Application SubType
National Patent
(10) Registration Number and Date
Status
ACTIVE ( Document published)
(180) Expiration Date
(20) Filing Number and Date
TH 2501003578 2025.05.30
(40) Publication Number and Date
${pbin}
(86) PCT Filing Number and Date
(87) PCT Publication Number and Date
(85) National Entry Date
(30) Priority Details
TW
TW114113568
2025.04.10
CN
CN20251058761.7
2025.04.30
(51) IPC Classes
(71/73) Applicant
(TH) ฉีห์-เฉิน เหยิน : 2เอฟ., เลขที่ 27, เซค. 2, ชวงฉี โร้ด, บันเฉียว ดิสทริค, นิว ไทเป ซิตี้ ไต้หวัน, สาธารณรัฐจีน
(72) Inventor
(TH) ฉีห์-เฉิน เหยิน : 2เอฟ., เลขที่ 27, เซค. 2, ชวงฉี โร้ด, บันเฉียว ดิสทริค, นิว ไทเป ซิตี้ ไต้หวัน, สาธารณรัฐจีน
(74) Representative
(TH) นาย กฤชวัชร์ ชัยนภาศักดิ์ : สำนักกฎหมายบริษัท สัตยะพล แอนด์ พาร์ทเนอร์ส จำกัด เลขที่ 140 อาคารแปซิฟิค เพลส สุขุมวิท ตำบลคลองเตย อำเภอคลองเตย จังหวัดกรุงเทพมหานคร
นาย สัตยะพล สัจจเดชะ
(54) Title
(TH)

ปากกาที่มีปลายที่แกว่งตัวได้

(57) Abstract
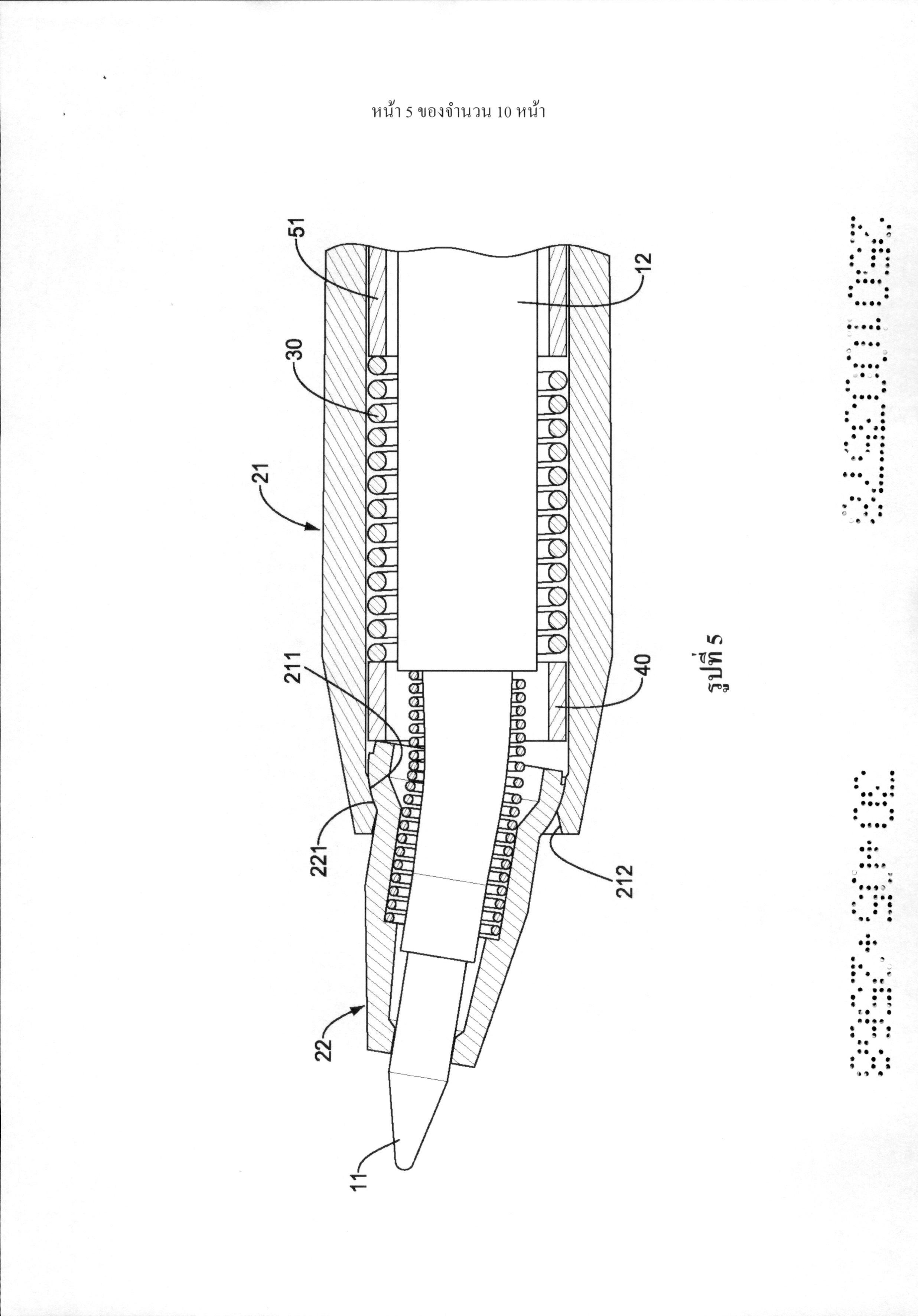
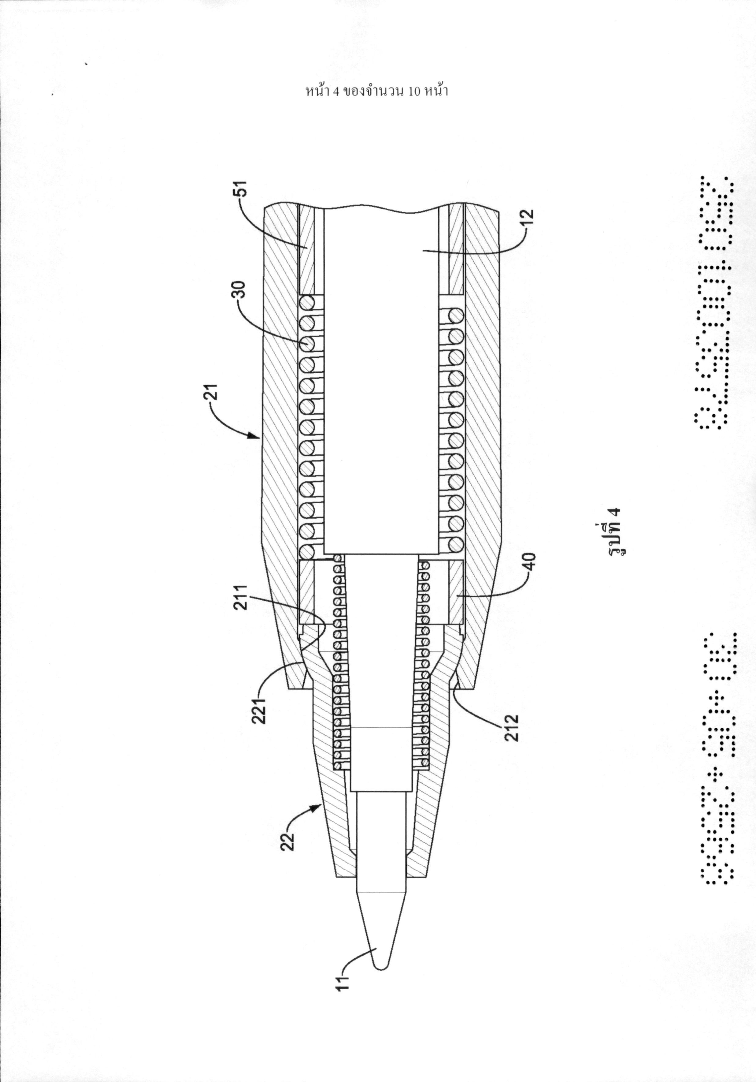
(TH) OCR 06WT ปากกาที่มีปลายที่แกว่งตัวได้มีไส้ปากกาและตัวปลอก ไส้ปากกามีส่วนปลายปากกาและส่วน ไส้ปากกา ส่วนไส้ปากกาถูกเชื่อมต่อเข้ากับส่วนปลายปากกา ไส้ปากกาอาจยื่นทะลุผ่านตัวปลอก และ ตัวปลอกมีส่วนจัดวางและส่วนแกว่งตัว ส่วนไส้ปากกาถูกจัดให้อยู่ในส่วนจัดวาง และส่วนปลายปากกา ยื่นทะลุผ่านปลายหนึ่งของส่วนจัดวาง ส่วนแกว่งตัวยื่นทะลุผ่านปลายของส่วนจัดวางและยันกับพื้นผิว ด้านในของส่วนจัดวาง ส่วนปลายปากกาถูกติดตั้งผ่านส่วนแกว่งตัวที่สามารถจะแกว่งตัวได้เมื่อเทียบกับ แกนกลางของส่วนจัดวาง
(58) Citations
License Details
(98) Annuity Details
YearValidity StartValidity EndPayment
Document Type Date Action
abstract 2025-10-06T00:00:00Z
gazette 2025-10-06T00:00:00Z
description 2025-10-06T00:00:00Z
claims 2025-10-06T00:00:00Z
Event NameDateLink
Application filed2025-05-30
Document published2025-10-06

1

OCR 06WT 1.ปากกาที่มีปลายที่แกว่งตัวได้ที่มีลักษณะเฉพาะที่ว่าปากกาประกอบรวมด้วย ไส้ปากกาที่ประกอบรวมด้วย ส่วนปลายปากกาที่สามารถจะโค้งงอได้ ส่วนไส้ปากกาที่ถูกเชื่อมต่อเข้ากับส่วนปลายปากกา ตัวปลอก ซึ่งไส้ปากกาที่สามารถยื่นทะลุผ่านตัวปลอก และตัวปลอกที่ประกอบรวมด้วย ส่วนจัดวาง ซึ่งส่วนไส้ปากกาของไส้ปากกาที่ถูกจัดให้อยู่ในส่วนจัดวาง และส่วนปลาย ปากกาสามารถจะยื่นทะลุผ่านปลายหนึ่งของส่วนจัดวาง ส่วนแกว่งตัวที่ถูกติดตั้งผ่านส่วนจัดวางและยื่นทะลุผ่านปลายของส่วนจัดวาง และส่วน แกว่งตัวที่ยันกับพื้นผิวด้านในของส่วนจัดวาง ส่วนปลายปากกาสามารถจะถูกติดตั้งผ่านส่วนแกว่งตัว และส่วนแกว่งตัวสามารถจะแกว่งตัวได้เมื่อเทียบกับแกนกลางของส่วนจัดวาง 2.ปากกาดังที่ขอถือสิทธิในข้อถือสิทธิข้อ 1 ที่ซึ่งส่วนแกว่งตัวประกอบรวมด้วย พื้นผิวโค้งรูปวงแหวนที่ยันกันพื้นผิวด้านในของส่วนจัดวาง และส่วนแกว่งตัวที่สามารถจะแกว่ง ตัวได้เมื่อเทียบกับส่วนจัดวางโดยพื้นผิวโค้งรูปวงแหวน 3. ปากกาดังที่ขอถือสิทธิในข้อถือสิทธิข้อ 2 ที่ซึ่ง ส่วนจัดวางประกอบรวมด้วย ส่วนเอียงรูปวงแหวนด้านในที่ถูกทำขึ้นที่ปลายของส่วนจัดวางและใกล้กับส่วนปลาย ปากกา ส่วนเอียงรูปวงแหวนด้านในที่ถูกจัดให้อยู่ที่พื้นผิวด้านในของส่วนจัดวาง และเส้นผ่านศูนย์กลาง ของส่วนเอียงรูปวงแหวนด้านในค่อย ๆ เพิ่มขึ้นตามระยะทางจากส่วนปลายปากกา พื้นผิวโค้งรูปวงแหวน สามารถจะยันกับส่วนเอียงรูปวงแหวนด้านใน ปากกาประกอบรวมด้วย ชิ้นส่วนยืดหยุ่นที่ถูกสวมบนไส้ปากกาและถูกทำให้มีรูปลักษณ์ให้ตันพื้นผิวโค้งรูปวง แหวนของส่วนแกว่งตัวให้ยันกับส่วนเอียงรูปวงแหวนด้านในของส่วนจัดวาง 4. ปากกาดังที่ขอถือสิทธิในข้อถือสิทธิข้อ 1 ถึง 3 ข้อใดข้อหนึ่ง ที่ซึ่งส่วนจัดวางประกอบรวมด้วย ส่วนเอียงรูปวงแหวนด้านนอกที่ถูกทำขึ้นที่ปลายของส่วนจัดวางและใกล้กับส่วนปลายปากกา และส่วนเอียงรูปวงแหวนด้านนอกที่ถูกจัดให้อยู่ที่พื้นผิวด้านในของส่วนจัดวาง และเส้นผ่านศูนย์กลาง ของส่วนเอียงรูปวงแหวนด้านนอกที่ค่อย ๆ ลดลงตามระยะทางจากส่วนปลายปากกา เมื่อส่วนแกว่งตัว แกว่งตัวเมื่อเทียบกับแกนกลางของส่วนจัดวาง ส่วนแกว่งตัวสามารถจะยันกับส่วนเอียงรูปวงแหวนด้าน นอก 5. ปากกาดังที่ขอถือสิทธิในข้อถือสิทธิข้อ 3 ที่ยังประกอบรวมด้วย ชิ้นส่วนที่เสถียรที่ถูกติดตั้งระหว่างส่วนแกว่งตัวและชิ้นส่วนยืดหยุ่น และชิ้นส่วนที่เสถียรเป็น รูปวงแหวนและล้อมรอบไส้ปากกา เมื่อส่วนแกว่งตัวแกว่งตัวเมื่อเทียบกับแกนกลางของส่วนจัดวาง ส่วน แกว่งตัวจะตันชิ้นส่วนที่เสถียรให้กดชิ้นส่วนยืดหยุ่น 6. ปากกาดังที่ขอถือสิทธิในข้อถือสิทธิข้อ 3 หรือ 5 ที่ยังประกอบรวมด้วย ชุดปรับที่ถูกติดตั้งในตัวปลอกและที่ประกอบรวมด้วย ท่อปรับที่ถูกสวมบนไล้ปากกาและถูกยึดเกลียวด้วยพื้นผิวด้านในของตัวปลอก และ ปลายหนึ่งของท่อปรับที่ยันกันชิ้นส่วนยืดหยุ่น 7.ปากกาดังที่ขอถือสิทธิในข้อถือสิทธิข้อ 6 ที่ซึ่ง ชุดปรับประกอบรวมด้วย ชิ้นส่วนหมุนที่ถูกฝังยึดในอีกปลายหนึ่งของท่อปรับและตรงข้ามกับชิ้นส่วนยืดหยุ่น และท่อ ปรับสามารถจะเคลื่อนที่ไปตามทิศทางตามแนวแกนของไส้ปากกาพร้อมกับชิ้นส่วนหมุนเมื่อชิ้นส่วน หมุนกำลังหมุน 8.ปากกาดังที่ขอถือสิทธิในข้อถือสิทธิข้อ 1 ถึง 3 ข้อใดข้อหนึ่ง ที่ยังประกอบรวมด้วย ชุดล็อกที่ถูกเชื่อมต่อกับส่วนจัดวางและที่ประกอบรวมด้วย ชิ้นส่วนล็อกที่ถูกสวมบนไส้ปากกาและดันส่วนแกว่งตัวอย่างเลือกได้ ชิ้นส่วนปรัน ซึ่งปลายหนึ่งของชิ้นส่วนปรับที่ถูกติดตั้งอย่างหมุนได้ผ่านส่วนจัดวาง และ ชิ้นส่วนล็อกที่ถูกเชื่อมต่อเข้ากับชิ้นส่วนปรับ ชิ้นส่วนล็อกสามารถจะเคลื่อนที่ไปตามทิศทางตาม แนวแกนของไส้ปากกาพร้อมกับชิ้นส่วนปรับเมื่อชิ้นส่วนปรับกำลังหมุน และชิ้นส่วนล็อกที่ดันส่วน แกว่งตัวให้อยู่ขนานกับทิศทางตามแนวแกนของส่วนจัดวาง 9. ปากกาดังที่ขอถือสิทธิในข้อถือสิทธิข้อ 8 ที่ซึ่ง ชิ้นส่วนปรับประกอบรวมด้วย ช่องปรับอย่างน้อยหนึ่งช่องที่ถูกทำขึ้นที่ปลายของชิ้นส่วนปรับและใกล้กับส่วนจัดวาง และช่องเปิดของช่องปรับจะอยู่ไปทางส่วนจัดวาง แต่ละช่องของช่องปรับอย่างน้อยหนึ่งช่องที่ประกอบ รวมด้วย ร่องที่หนึ่งและร่องที่สองที่ถูกจัดให้อยู่ตามลำดับที่ด้านสองด้านของช่องปรับและ เชื่อมติดต่อซึ่งกันและกัน ความลึกของร่องที่สองจะมากกว่าความลึกของร่องที่หนึ่ง ชิ้นส่วนล็อกประกอบรวมด้วย บล็อกล็อกอย่างน้อยหนึ่งอัน แต่ละอันของบล็อกล็อกอย่างน้อยหนึ่งอันที่ถูกติดตั้งอย่าง เคลื่อนที่ได้ในช่องหนึ่งของช่องปรับอย่างน้อยหนึ่งช่องและถูกติดตั้งอย่างเลือกได้ในร่องที่หนึ่ง หรือร่องที่สอง ส่วนจัดวางประกอบรวมด้วย ช่องจัดวางอย่างน้อยหนึ่งช่องที่สอดคล้องกับบล็อกล็อกอย่างน้อยหนึ่งอันในจำนวนและ ตำแหน่ง และแต่ละอันของบล็อกล็อกอย่างน้อยหนึ่งอันที่ถูกฝังยึดในช่องหนึ่งของช่องจัดวางอย่างน้อย หนึ่งช่อง