Application Type
Patent - Foreign
Application SubType
Patent - Foreign
(10) Registration Number and Date
2024.10.09
Status
ACTIVE ( Document published)
(180) Expiration Date
(20) Filing Number and Date
LA P/931 2023.11.14
(40) Publication Number (Gazette Number) and Date
(274)
2024.10.24
(86) PCT Filing Number and Date
(87) PCT Publication Number and Date
(85) National Entry Date
(30) Priority Details
SG
SG11202103196U
2019.09.25
(72) Inventor
(LA) RAOK, NARASIMHA : 133/1/B, 1ST FLOOR, PHASE-II, INDIA, CHERLAPALLY, GHATKESAR MANDAL, RANGAREDDY DIST, HYDERABAD 50051 TELANGANA, INDIA
(74) Representative
(LA) HAVIP (LAOS) INTELLECTUAL PROPERTY LAW SOLE CO., LTD : Ban Dongmieng, Unit 26, Chanthabouly District, Vientaine Capital Lao PDR
(54) Title
(LA) (EN) ລະບົບການຕິດຕາມກວດກາໝໍ້ແບ່ງອັດສະລິຍະ
(57) Abstract
(EN) (LA)

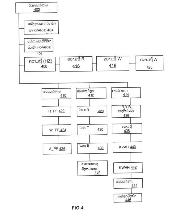
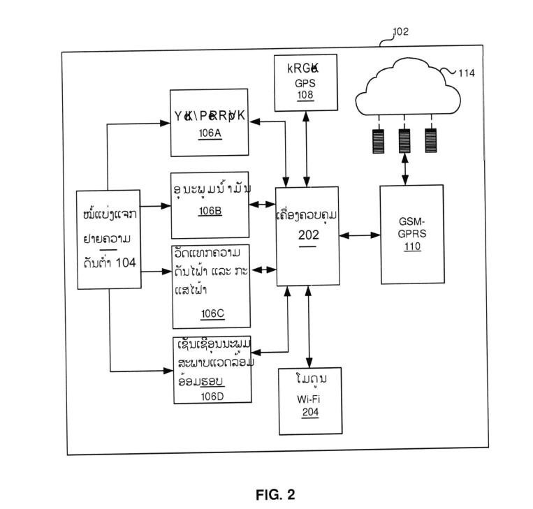
An intelligent transftrrmer monitoring system to detect and monitor random failures in distribution transformers due to improper usage and poor maintenance is provided. The intelligent transformer monitoring system includes a GSM-GPRS, a measurement and instrumentation module, a control relay module, a Trivector energy measurement, and a GPS module. The GSM-GpRS includes microcontroller along with GSM-GPRS modem in order to execute remote communication on GSM-GPRS. The Measurement and Instrumentation module includes eleven temperature measurement channels with 8-digital temperature sensors and 3-RTD. The control relay module includes 4 SPDT relays to execute output controls such as load trip and cooling motor etc. The GPS module acquires the latitude, longitude and time data from the satellite for location sharing. The Power supply module is an AC/DC SMPS power supply to convert 24OYl4l5y AC to I2VDC for the intelligent transformer monitoring system.

(EN) (LA)

ລະບົບຕິດຕາມກວດກາໝໍ້ແປງອັດສະລິຍະເພື່ອກວດຫາ ແລະ ຕິດຕາມກວດກາຫາຄວາມຜິດພາດແບບສຸ່ມໃນໝໍ້ແບ່ງໄຟຟ້າ ເນື່ອງຈາກການນໍາໃຊ້ບໍ່ຖືກຕ້ອງ ແລບະ ການບໍາລຸງຮັກສາບໍ່ດີ. ລະບົບຕິດຕາມກວດກາໝໍ້ແປງອັດສະລິຍະປະກອບມີ GSM-GPRS, ໂມດູນການວັດແທກ ແລະ ເຄື່ອງມື, ໂມດູນການຄວບຄຸມສະວິກໄຟຟ້າ, ການວັດແທກພະລັງງານ  Trivector,  ແລະ ໂມດູນ GPS. GSM-GPRS ປະກອບມີລະບົບຄວບຄຸມຂະໜາດນ້ອຍພ້ອມກັບໂມເດັມ csM-GpRS ເພື່ອເປີດໃຊ້ການສື່ສານທາງໄກ GSM-GpRS. ໂມດູນການວັດແທກ ແລະ ເຄື່ອງມືປະກອບມີສິບເອັດຊ່ອງທາງການວັດແທກອຸນຫະພູມທີມີ 8 ເຊັນເຊີອຸນຫະພູມດິຈິຕອນ ແລະ 3-RTD. ໂມດູນຄວບຄຸມສະວິກໄຟຟ້າປະກອບມີ 4 SPDT ສະວິກເພື່ອຈັດການຄວບຄຸມຜົນຜະລິດເຊັ່ນ: ການເດີນທາງການໂຫຼດ ແລະ ມໍເຕີເຢັນ ແລະ ອື່ນໆ. ໂມດູນ  GpS ໄດ້ຮັບຂໍ້ມູນເສັ້ນຂະໜານ, ເສັ້ນແວງ ແລະ ຂໍ້ມູນເວລາຈາກດາວທຽມ ເພື່ອແບ່ງປັນກໍານົດທີ່ຕັ້ງ. ໂມດູນການໜອງພະລັງງານແມ່ນການສະໜອງພະລັງງານ AC / DC SMPS ເພື່ອປ່ຽນ 240V / 415V AC ເປັນ12 VDC ສໍາລັບລະບົບຕິດຕາມກວດກາໝໍ້ແບ່ງອັດສະລິຍະ.

(58) Citations
License Details
(98) Annuity Details
YearValidity StartValidity EndPayment
Event NameDateLink
Application filed2023-11-14
IP right granted2024-10-09
Document published2024-10-24