Application Type
National
Application SubType
(10) Registration Number and Date
10202402555S 2023.12.31
Status
ACTIVE ( Other event occurred)
(180) Expiration Date
(20) Filing Number and Date
SG 10202402555S 2023.12.31
(40) Publication Number (Gazette Number) and Date
(86) PCT Filing Number and Date
(87) PCT Publication Number and Date
(85) National Entry Date
(30) Priority Details
(74) Representative
(54) Title
(EN) Battery Sorting Apparatus and Method
(57) Abstract
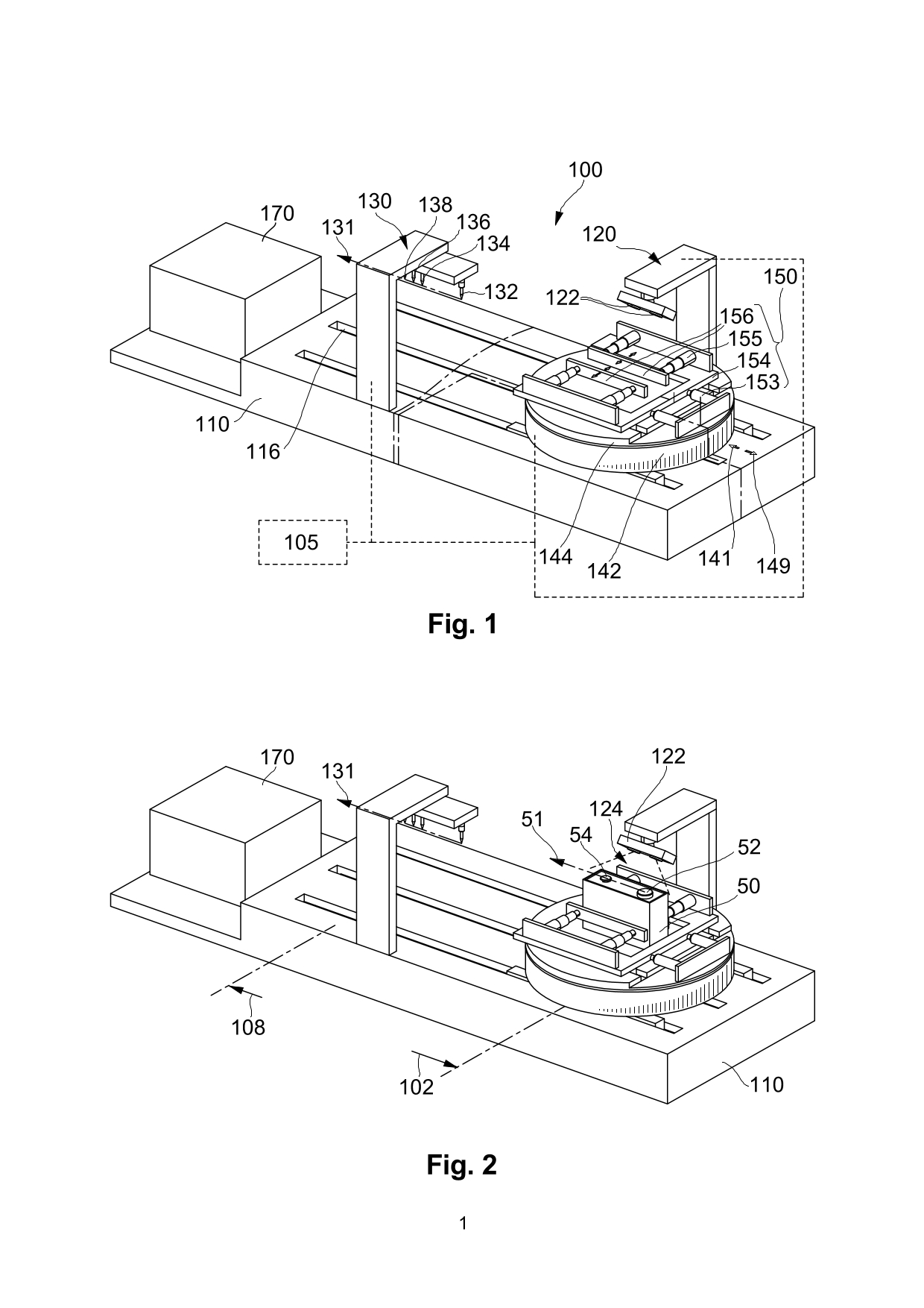
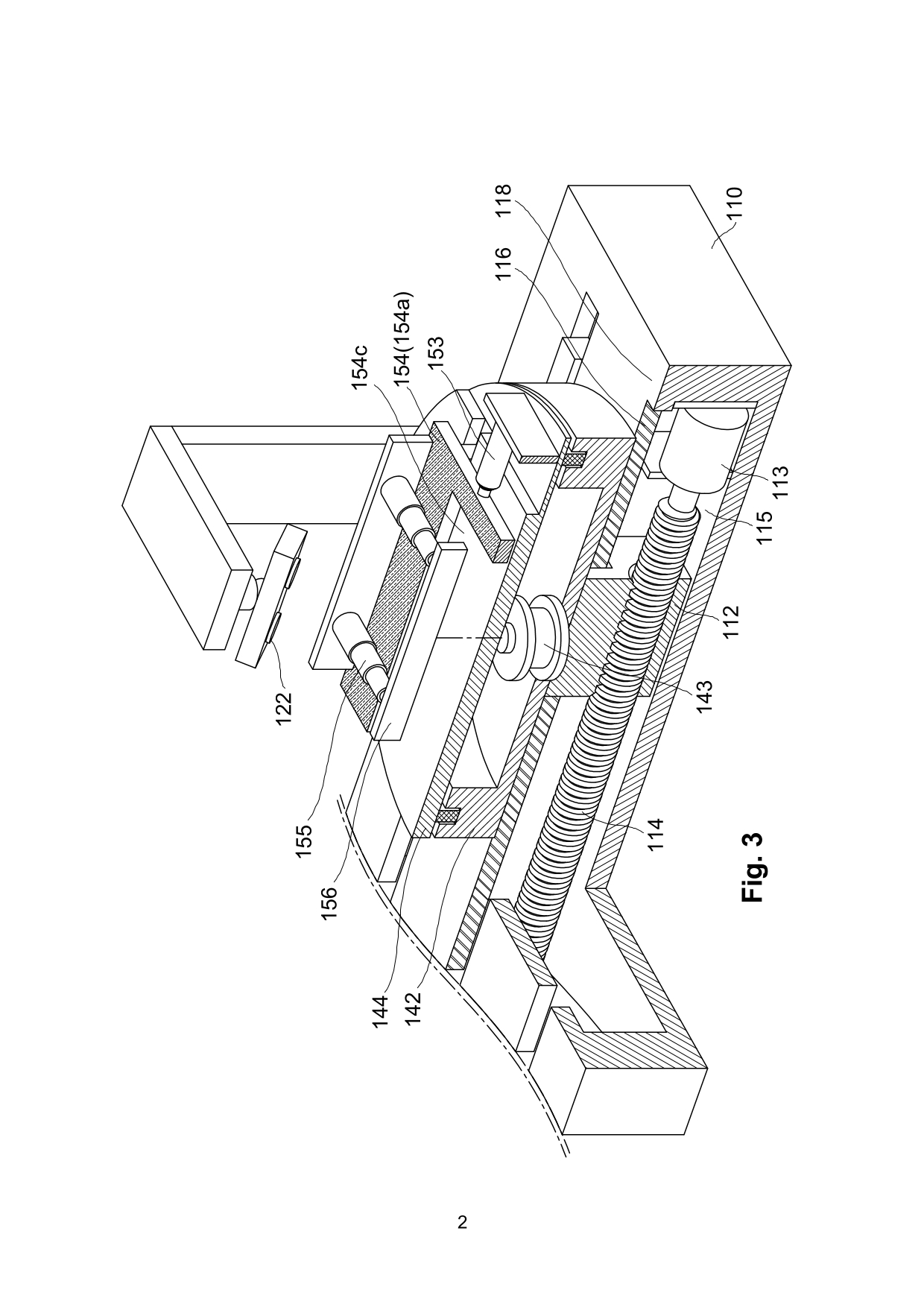
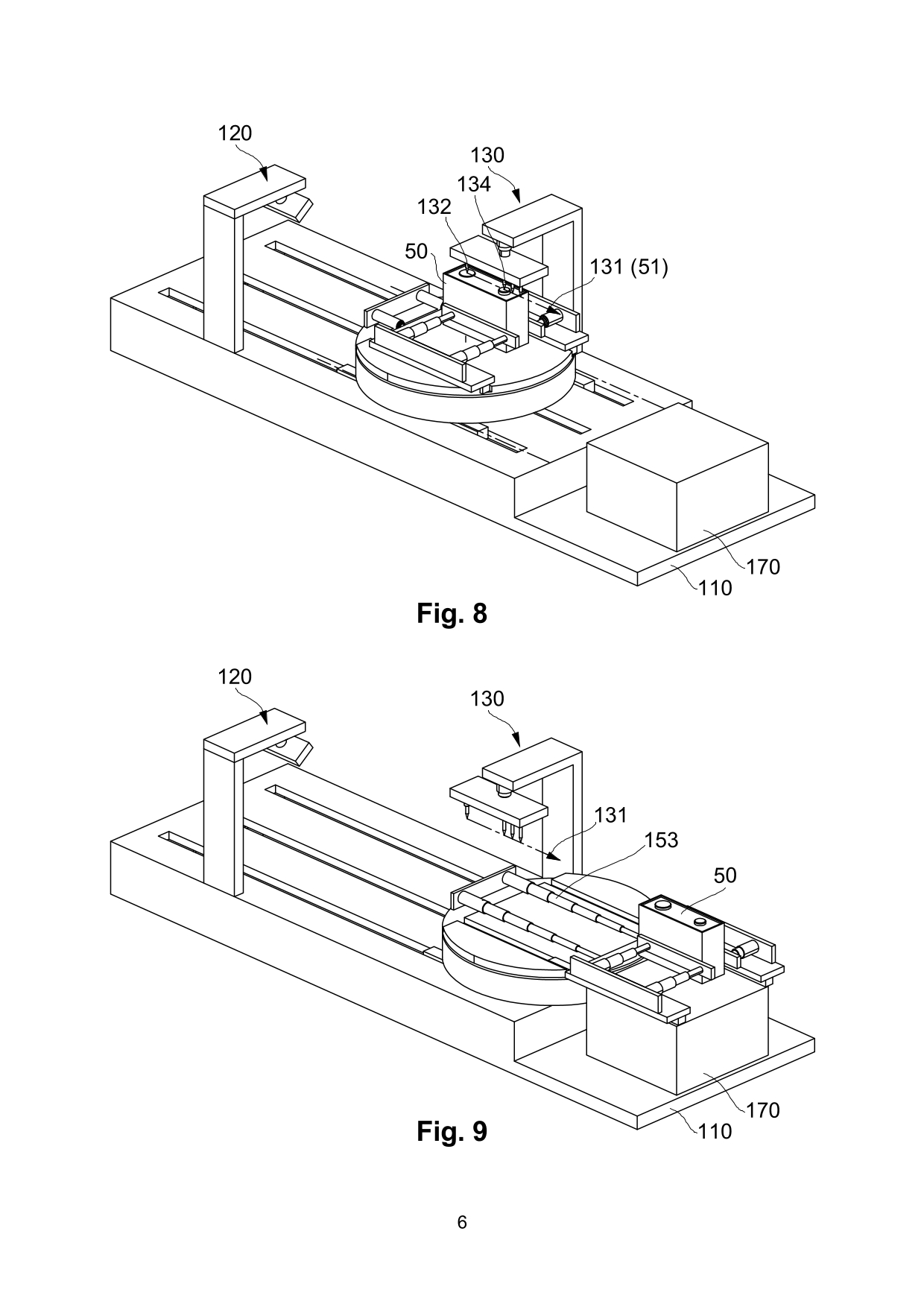
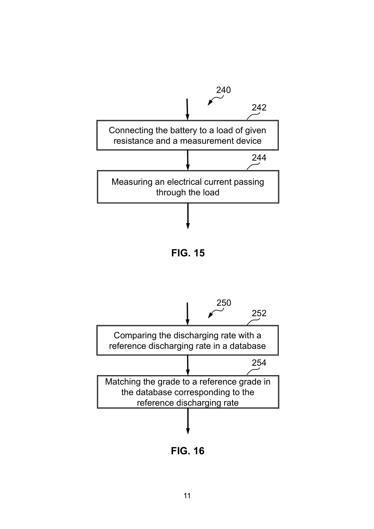
(EN) Abstract Battery Sorting Apparatus and Method 5 A battery sorting apparatus comprises a base, an imaging device mounted to the base, a measurement device mounted to the base, a platform movably coupled to the base, and a controller coupled to the imaging device, the measurement device and the platform. The imaging device is configured to capture an image of a battery carried by the platform to determine an actual orientation of the battery. The platform is moveable relative to the 10 base to align the battery along a predetermined orientation of the measurement device and to position the battery under the measurement device. The measurement device is configured to measure electrical characteristics of the battery to determine a grade of the battery, and the controller is configured to assign the grade to the battery. 15 (Fig. 8) 16
(58) Citations
License Details
(98) Annuity Details
YearValidity StartValidity EndPayment
Document Type Date Action
Description (with claims) 2024-10-08T00:00:00Z
Examination Report 2024-10-04T00:00:00Z
Amendment of Claim(s) only 2024-09-13T00:00:00Z
Search Report 2024-09-10T00:00:00Z
Written Opinion 2024-09-10T00:00:00Z
Description (with claims) 2024-08-21T00:00:00Z
Abstract 2024-08-21T00:00:00Z
Drawing(s) 2024-08-21T00:00:00Z
Event NameDateLink
Other event occurred2023-12-31
Other event occurred2024-12-29