Application Type
PCT-NP
Application SubType
(10) Registration Number and Date
11202409287X
Status
ACTIVE ( Other event occurred)
(180) Expiration Date
(20) Filing Number and Date
SG 11202409287X 2024.12.31
(40) Publication Number (Gazette Number) and Date
(86) PCT Filing Number and Date
(87) PCT Publication Number and Date
(85) National Entry Date
(30) Priority Details
CN
CN202311117709.5
2023.08.31
(51) IPC Classes
(72) Inventor
WU, Hongjie
LUO, Hailiang
XU, Maohui
WANG, Xuejun
WANG, Tiecheng
CHEN, Bohua
TIAN, Zeqi
WANG, Yunze
LIU, Haichao
(74) Representative
(54) Title
(EN) DATA CENTER WITH LIQUID COOLING CABINET
(57) Abstract
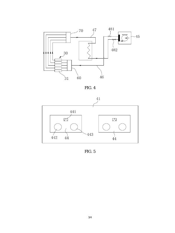
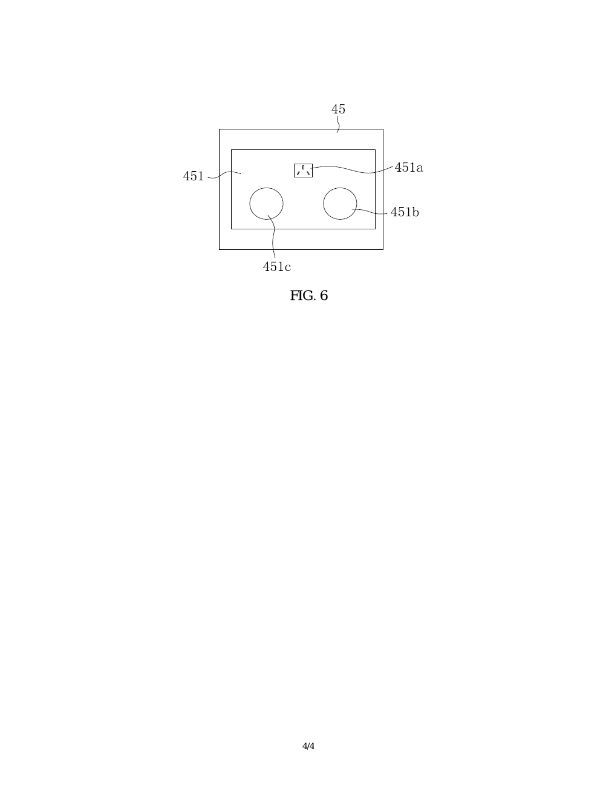
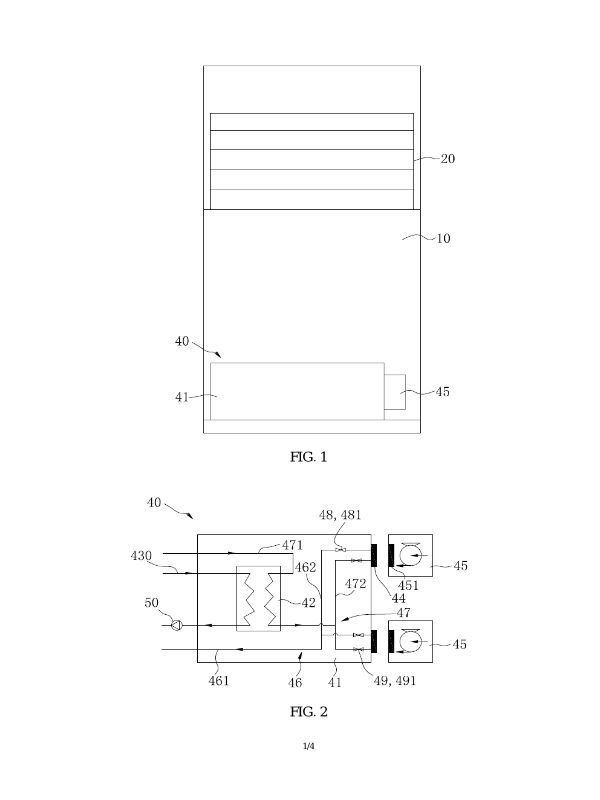
(EN) ABSTRACT The disclosure discloses a data center with a liquid cooling cabinet, comprising: a cabinet and a server arranged in the cabinet, a heat exchange assembly; the heat exchange assembly comprises: a base, a base connector and a secondary side circulation water pump module, the base connector 5 is arranged on an outer peripheral wall of base; the base connector includes a first e lectrical connector, a first coolant supply connector and a first coolant return connector; the water pump connector includes a second electric connector, a second coolant supply connector and a second coolant return connector, the secondary side circulation water pump module connects to the base connector via a water pump connector, which realizes the detachable connection with the base. 10 When the water pump connector is connected with the base connector in a plug-in manner, the first electric connector is electrically connected with the second electric connector, the first coolant supply connector is connected with the second coolant supply connector, and the first coolant return connector is connected with the second coolant return connector. The data center with the liquid-cooling cabinet type occupies a small space and facilitates the maintenance of the secondary 15 side circulation water pump. FIG. 2 19
(58) Citations
License Details
(98) Annuity Details
YearValidity StartValidity EndPayment
Document Type Date Action
Amendment of Description with Claim(s) 2025-02-18T00:00:00Z
Amendment of Description with Claim(s) 2025-01-23T00:00:00Z
Amendment of Description with Claim(s) 2025-01-17T00:00:00Z
Abstract 2024-12-31T00:00:00Z
Description (with claims) 2024-12-31T00:00:00Z
Event NameDateLink
Other event occurred2024-08-20
Other event occurred2025-01-10
Other event occurred2025-01-23
Other event occurred2025-01-24
Other event occurred2025-02-10
Other event occurred2025-02-18
Other event occurred2025-04-30