Application Type
Patents
Application SubType
National Patent
(10) Registration Number and Date
Status
ACTIVE ( Search and examination requested)
(180) Expiration Date
(20) Filing Number and Date
TH 2501003370 2025.05.23
(40) Publication Number and Date
${pbin}
(86) PCT Filing Number and Date
(87) PCT Publication Number and Date
(85) National Entry Date
(30) Priority Details
JP
JP2024103262
2024.06.26
(51) IPC Classes
(72) Inventor
(TH) ทาคุยะ โยชิดะ : ซี/โอ คูโบต้า คอร์ปอเรชั่น, โกลบอล อินสทิทิวท์ ออฟ เทคโนโลยี,1-11, ทาคูมิ-โช, ซาไก-กุ, ซาไก-ชิ, โอซากา 5900908
โทชินาริ นิชิมูระ
(74) Representative
(TH) นาง ดารานีย์ วัจนะวุฒิวงศ์ : บริษัท ติลลิกีแอนด์กิบบินส์ อินเตอร์เนชั่นแนล จำกัด เลขที่ 1011 อาคารศุภาลัย แกรนด์ ทาวเวอร์ ชั้น 20-26 พระราม 3 ตำบลช่องนนทรี อำเภอยานนาวา จังหวัดกรุงเทพมหานคร
นางสาว สนธยา สังขพงศ์ : แห่ง บริษัท ติลลิกีแอนด์กิบบินส์ อินเตอร์เนชั่นแนล จำกัด เลขที่ 1011 อาคารศุภาลัย แกรนด์ ทาวเวอร์ ชั้นที่ 20-26 พระราม 3 ตำบลช่องนนทรี อำเภอยานนาวา จังหวัดกรุงเทพมหานคร
นาย ณัฐพล อร่ามเมือง : บริษัท ติลลิกีแอนด์กิบบินส์ อินเตอร์เนชั่นแนล จำกัด 1011 อาคารศุภาลัยแกรนด์ทาวเวอร์ ชั้น 20-26 พระราม 3 ตำบลช่องนนทรี อำเภอยานนาวา จังหวัดกรุงเทพมหานคร
(54) Title
(TH)

เครื่องเกี่ยวนวด

(57) Abstract
(TH)

OCR 10KL (21/08/2568)

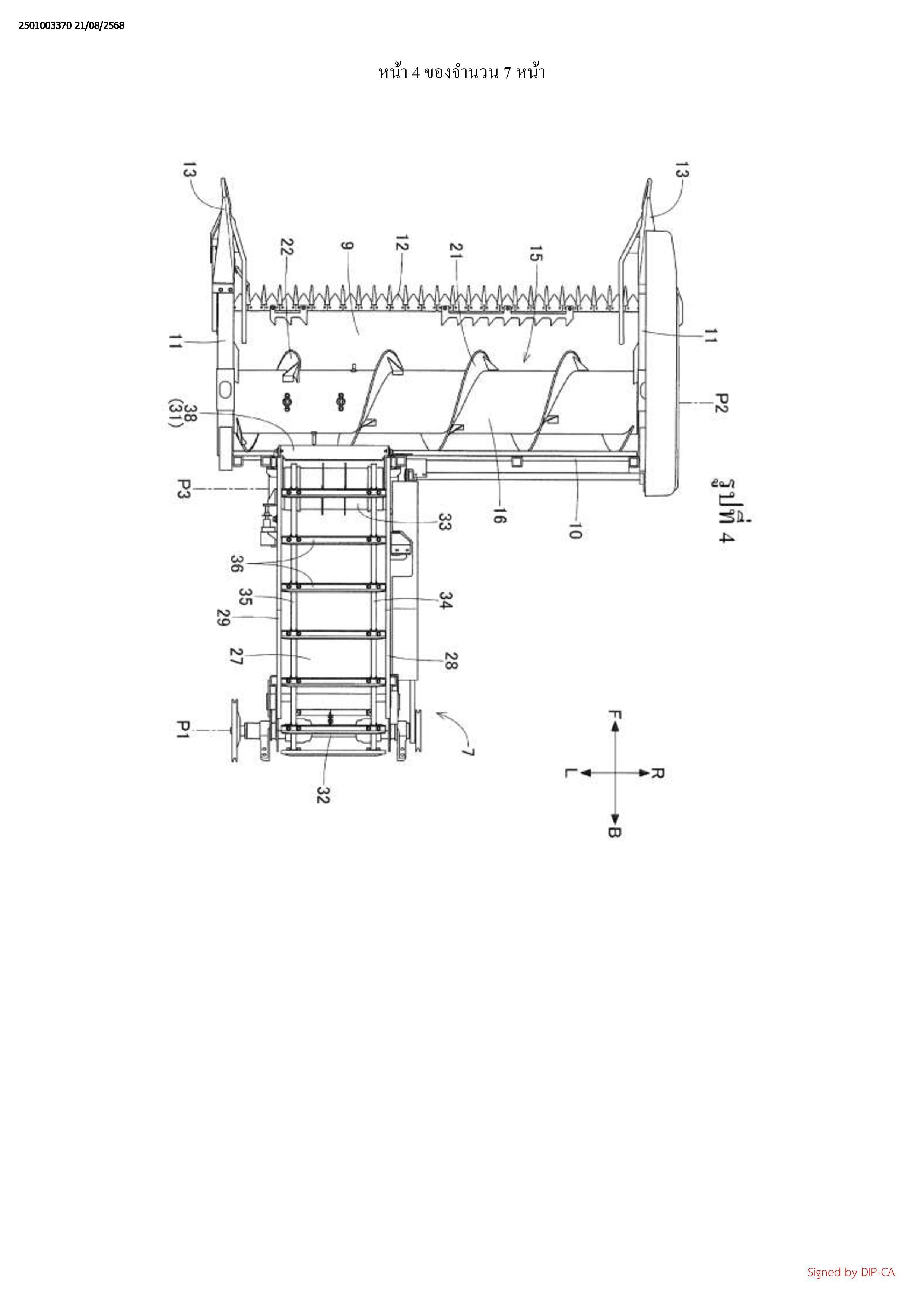
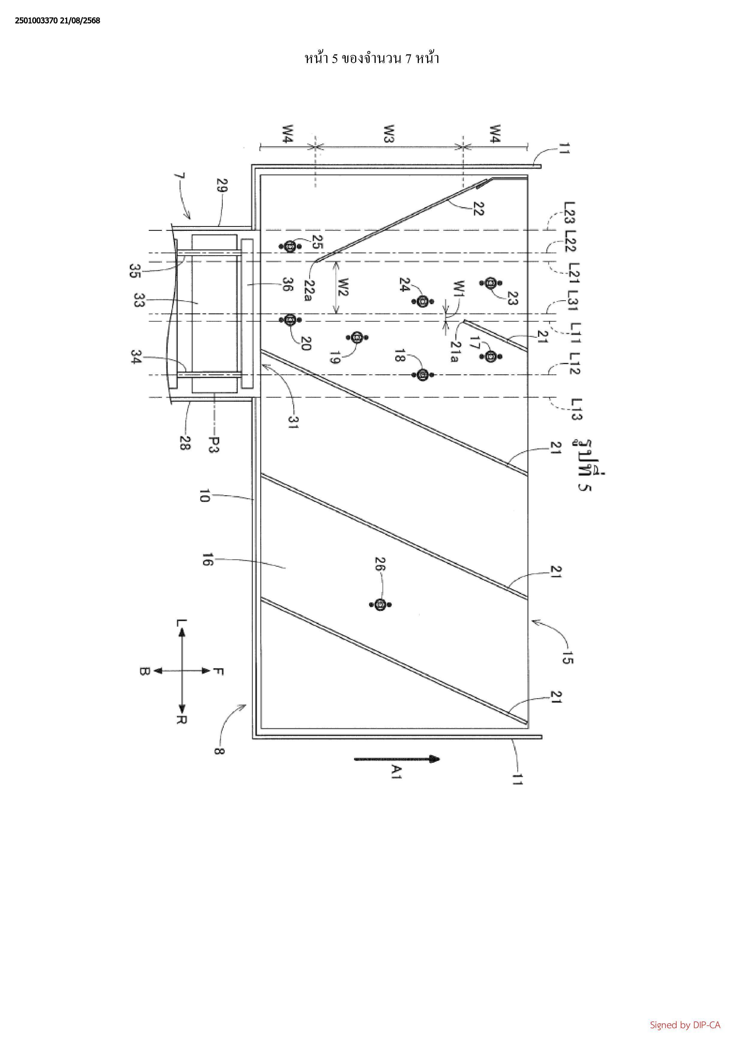
เครื่องเกี่ยวนวดนี้รวมถึงส่วนเก็บเกี่ยวที่มีสกรูลำเลียงตามขวาง 15 ที่ถูกขับเคลื่อนให้หมุน
โดยรอบแกน P2 ที่ขยายออกในทิศทางซ้าย-ขวาและอุปกรณ์ลำเลียงที่มีส่วนทางเข้า 31 ที่ถูกติดกับ
ส่วนผนังด้านหลัง 10 ของส่วนเก็บเกี่ยว สกรูลำเลียงตามขวาง 15 ถูกขับเคลื่อนให้หมุนในทิศทางจาก
ส่วนด้านล่างของส่วนทางเข้า 31 ไปทางส่วนด้านบนของส่วนทางเข้า 31 ในมุมมองจากด้านข้าง
อุปกรณ์ลำเลียงมีตัวลำเลียง 36 ที่ถูกขับเคลื่อนให้หมุนในลักษณะเพื่อหมุนไปทางด้านหลังไปตาม
ส่วนด้านล่าง 27 ของอุปกรณ์ลำเลียง และไปทางข้างหน้าไปตามส่วนแผ่นด้านบน 30 ของอุปกรณ์
ลำเลียง เครื่องเกี่ยวนวดรวมเพิ่มเติมถึงฝาครอบ 38 ที่ถูกจัดวางข้างบนพื้นที่เปิดของส่วนทางเข้า 31

 

 

(58) Citations
License Details
(98) Annuity Details
YearValidity StartValidity EndPayment
Document Type Date Action
abstract 2025-09-15T00:00:00Z
gazette 2025-09-15T00:00:00Z
description 2025-09-15T00:00:00Z
claims 2025-09-15T00:00:00Z
Event NameDateLink
Application filed2025-05-23
Document published2025-09-15
Search and examination requested2025-09-19

1

OCR 10KL (21/08/2568)

1. เครื่องเกี่ยวนวดซึ่งประกอบรวมด้วย
ส่วนเก็บเกี่ยวที่ถูกจัดโครงแบบให้เก็บเกี่ยวพืชผลในแปลงเกษตร และซึ่งรวมถึงสกรูลำเลียง
ตามขวางที่ถูกจัดโครงแบบให้ถูกขับเคลื่อนให้หมุนโดยรอบแกนที่ขยายออกในทิศทางซ้าย-ขวา
อุปกรณ์ลำเลียงซึ่งรวมถึงส่วนทางเข้าที่ถูกติดกับส่วนผนังด้านหลังของส่วนเก็บเกี่ยว และถูก
จัดโครงแบบให้ลำเลียงพืชผลที่ถูกป้อนไปยังส่วนทางเข้าในทิศทางไปทางด้านหลัง และ
อุปกรณ์นวดที่ถูกจัดโครงแบบให้รับพืชผลที่ถูกลำเลียงโดยอุปกรณ์ลำเลียง และนวดพืชผลที่
ถูกรับ
สกรูลำเลียงตามขวางที่ถูกขับเคลื่อนให้หมุนในทิศทางจากส่วนด้านล่างของส่วนทางเข้าไป
ทางส่วนด้านบนของส่วนทางเข้าในมุมมองจากด้านข้าง และลำเลียงพืชผลที่ถูกเก็บเกี่ยวในทิศทาง
ซ้าย-ขวาไปทางส่วนทางเข้า และป้อนพืชผลที่ถูกลำเลียงไปยังส่วนทางเข้า
อุปกรณ์ลำเลียงซึ่งรวมถึงตัวลำเลียงที่ถูกจัดโครงแบบให้ถูกขับเคลื่อนเพื่อหมุนในลักษณะให้
เคลื่อนที่ไปทางด้านหลังไปตามส่วนด้านล่างของอุปกรณ์ลำเลียง และไปทางข้างหน้าไปตามส่วนแผ่น
ด้านบนของอุปกรณ์ลำเลียง, พืชผลที่ถูกป้อนไปยังส่วนทางเข้าที่ถูกลำเลียงไปทางด้านหลังไปตาม
ส่วนด้านล่างโดยตัวลำเลียง และ
เครื่องเกี่ยวนวดซึ่งประกอบรวมเพิ่มเติมด้วยฝาครอบที่ถูกจัดวางข้างบนพื้นที่เปิดของส่วน
ทางเข้า
2. เครื่องเกี่ยวนวดตามข้อถือสิทธิที่ 1
ที่ซึ่งฝาครอบขยายออกผ่านส่วนทางเข้าทั้งหมดในทิศทางซ้าย-ขวา
3. เครื่องเกี่ยวนวดตามข้อถือสิทธิที่ 1 หรือ 2
ที่ซึ่งฝาครอบถูกจัดวางที่ตำแหน่งไปทางข้างหน้าของส่วนปลายด้านหน้าของเส้นทางการ
เคลื่อนที่ของตัวลำเลียงในมุมมองจากด้านข้าง
4. เครื่องเกี่ยวนวดตามข้อใดข้อหนึ่งของข้อถือสิทธิที่ 1 ถึง 3
ที่ซึ่งฝาครอบถูกจัดวางที่ตำแหน่งสูงกว่าส่วนปลายด้านบนของผิวหน้ารอบข้างด้านนอกของ
สกรูลำเลียงตามขวางในมุมมองจากด้านข้าง
5. เครื่องเกี่ยวนวดตามข้อใดข้อหนึ่งของข้อถือสิทธิที่ 1 ถึง 4
ที่ซึ่งฝาครอบถูกจัดวางบนด้านที่หนึ่งของส่วนผนังด้านหลังในมุมมองจากด้านข้าง, ด้านที่
หนึ่งที่อยู่ด้านซึ่งสกรูลำเลียงตามขวางถูกตั้งอยู่บนด้านนั้น

 

6. เครื่องเกี่ยวนวดตามข้อถือสิทธิที่ 5
ที่ซึ่งฝาครอบซ้อนทับผิวหน้ารอบข้างด้านนอกของสกรูลำเลียงตามขวางในมุมมองไป
ทางด้านล่างในทิศทางไปตามส่วนผนังด้านหลังจากตำแหน่งข้างบนฝาครอบ
7. เครื่องเกี่ยวนวดตามข้อถือสิทธิที่ 5 หรือ 6
ที่ซึ่งในมุมมองจากด้านข้าง, ฝาครอบ และผิวหน้ารอบข้างด้านนอกของสกรูลำเลียงตามขวาง
ถูกแยกออกโดยระยะทางน้อยกว่าระยะทางระหว่างฝาครอบ และเส้นทางการเคลื่อนที่ของตัวลำเลียง
8. เครื่องเกี่ยวนวดตามข้อใดข้อหนึ่งของข้อถือสิทธิที่ 5 ถึง 7
ที่ซึ่งฝาครอบรวมถึง
ส่วนที่หนึ่งที่ขยายออกจากส่วนด้านบนของพื้นที่เปิดของส่วนทางเข้าไปทางแกนของสกรู
ลำเลียงตามขวางในมุมมองจากด้านข้าง และ
ส่วนที่สองที่ขยายออกไปทางด้านล่างไปตามส่วนผนังด้านหลังจากส่วนปลายด้านล่างของ
ส่วนที่หนึ่งในมุมมองจากด้านข้าง