Application Type
National
Application SubType
(10) Registration Number and Date
10202404123U
Status
ACTIVE ( Other event occurred)
(180) Expiration Date
(20) Filing Number and Date
SG 10202404123U 2024.12.31
(40) Publication Number (Gazette Number) and Date
(86) PCT Filing Number and Date
(87) PCT Publication Number and Date
(85) National Entry Date
(30) Priority Details
CN
CN202410742222.4
2024.06.07
(51) IPC Classes
    (74) Representative
    (54) Title
    (57) Abstract
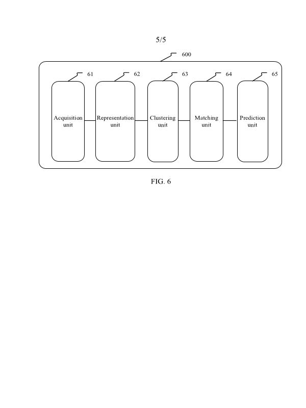
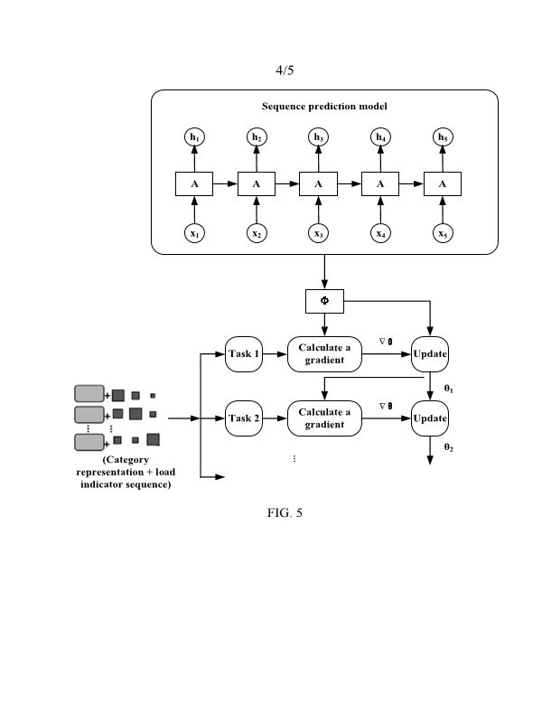
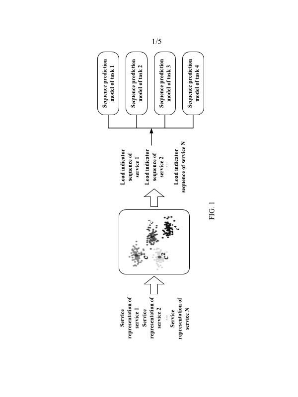
    (EN) WORKLOAD PREDICTION METHODS AND APPARATUSES FOR SERVICE IN SERVICE CLUSTER ABSTRACT Embodiments of this specification provide a workload prediction method and apparatus for a 5 service in a service cluster. The method includes: obtaining a load indicator sequence of each service in a service cluster corresponding to a workload indicator in a same historical time period; determining, based on the load indicator sequence corresponding to each service, a service representation corresponding to each service; performing clustering processing based on the service representation corresponding to each service, to obtain a target category cluster to which 10 each service belongs in multiple category clusters; obtaining multiple sequence prediction models pre-trained for multiple tasks, and enabling the multiple category clusters to correspond to the multiple tasks; and inputting at least a load indicator sequence of any service into a target sequence prediction model corresponding to a target category cluster of the service in the multiple sequence prediction models. 15 FIG. 1 25
    (58) Citations
    License Details
    (98) Annuity Details
    YearValidity StartValidity EndPayment
    Document Type Date Action
    Abstract 2024-12-31T00:00:00Z
    Description (with claims) 2024-12-31T00:00:00Z
    Event NameDateLink
    Other event occurred2024-12-31
    Other event occurred2025-01-08
    Other event occurred2025-02-20
    Other event occurred2025-03-29