Application Type
Patents
Application SubType
National Patent
(10) Registration Number and Date
Status
ACTIVE ( Document published)
(180) Expiration Date
(20) Filing Number and Date
TH 2501007739 2025.11.12
(40) Publication Number (Gazette Number) and Date
(10/2569)
2026.03.09
(86) PCT Filing Number and Date
(87) PCT Publication Number and Date
(85) National Entry Date
(30) Priority Details
JP
JP2024-202305
2024.11.20
(51) IPC Classes
(72) Inventor
(TH) เรียว เซกิกุจิ : ซี/โอ อีซูซุ แอดวานซ์ เอ็นจิเนียริ่ง เซ็นเตอร์, แอลทีดี., 8, สึจิดานะ, ฟูจิซาวะ-ชิ, คานากาว่า 252-0881
(74) Representative
(TH) นาย พัฒน์ เตชะไพฑูรย์ : บริษัท อาดาสตร้า ไอพี (ประเทศไทย) จำกัด เลขที่ 164 ซอยหมู่บ้านปัญญา ตำบลสวนหลวง อำเภอสวนหลวง จังหวัดกรุงเทพมหานคร
(54) Title
(TH)

อุปกรณ์ควบคุมสำหรับยานพาหนะ

(57) Abstract
(TH)

OCR 06WT

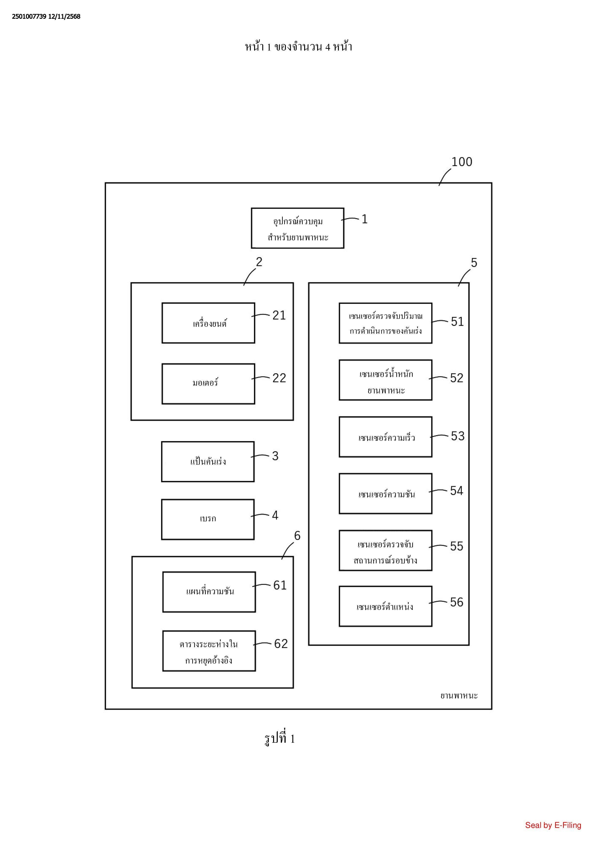
ที่จัดให้มีคืออุปกรณ์ควบคุมสำหรับยานพาหนะซึ่งหยุดยานพาหนะที่ตำแหน่งที่ยานพาหนะ

ต้องหยุด, โดยไม่ต้องดำเนินการแป็นคันเร่งบ่อยครั้งบนถนนทางลาดขึ้น อุปกรณ์ควบคุมสำหรับ

ยานพาหนะจะควบคุมอุปกรณ์ขับเคลื่อนของยานพาหนะโดยอิงจากปริมาณการดำเนินการของพวก

องค์ประกอบการดำเนินการ และรวมถึง: ส่วนการได้มาซึ่งปริมาณการดำเนินการที่ได้มาซึ่งปริมาณ

การดำเนินการ, ส่วนการได้มาซึ่งค่าความชันที่ได้มาซึ่งความชันของพื้นผิวถนนที่ยานพาหนะกำลัง

เคลื่อนที่อยู่, และส่วนการควบคุมที่ควบคุมอุปกรณ์ขับเคลื่อน เพื่อที่ยานพาหนะจะหยุดที่ระยะห่างใน

การหยุดอ้างอิง, ในกรณีที่ความชันเป็นทางลาดขึ้น และปริมาณการดำเนินการกลายเป็นศูนย์ใน

ระหว่างที่เคลื่อนที่โดยอุปกรณ์ขับเคลื่อน

(58) Citations
License Details
(98) Annuity Details
YearValidity StartValidity EndPayment
Document Type Date Action
abstract 2026-03-09T00:00:00Z
claims 2026-03-09T00:00:00Z
description 2026-03-09T00:00:00Z
gazette 2026-03-09T00:00:00Z
Event NameDateLink
Application filed2025-11-12
Document published2026-03-09

1

OCR 06WT

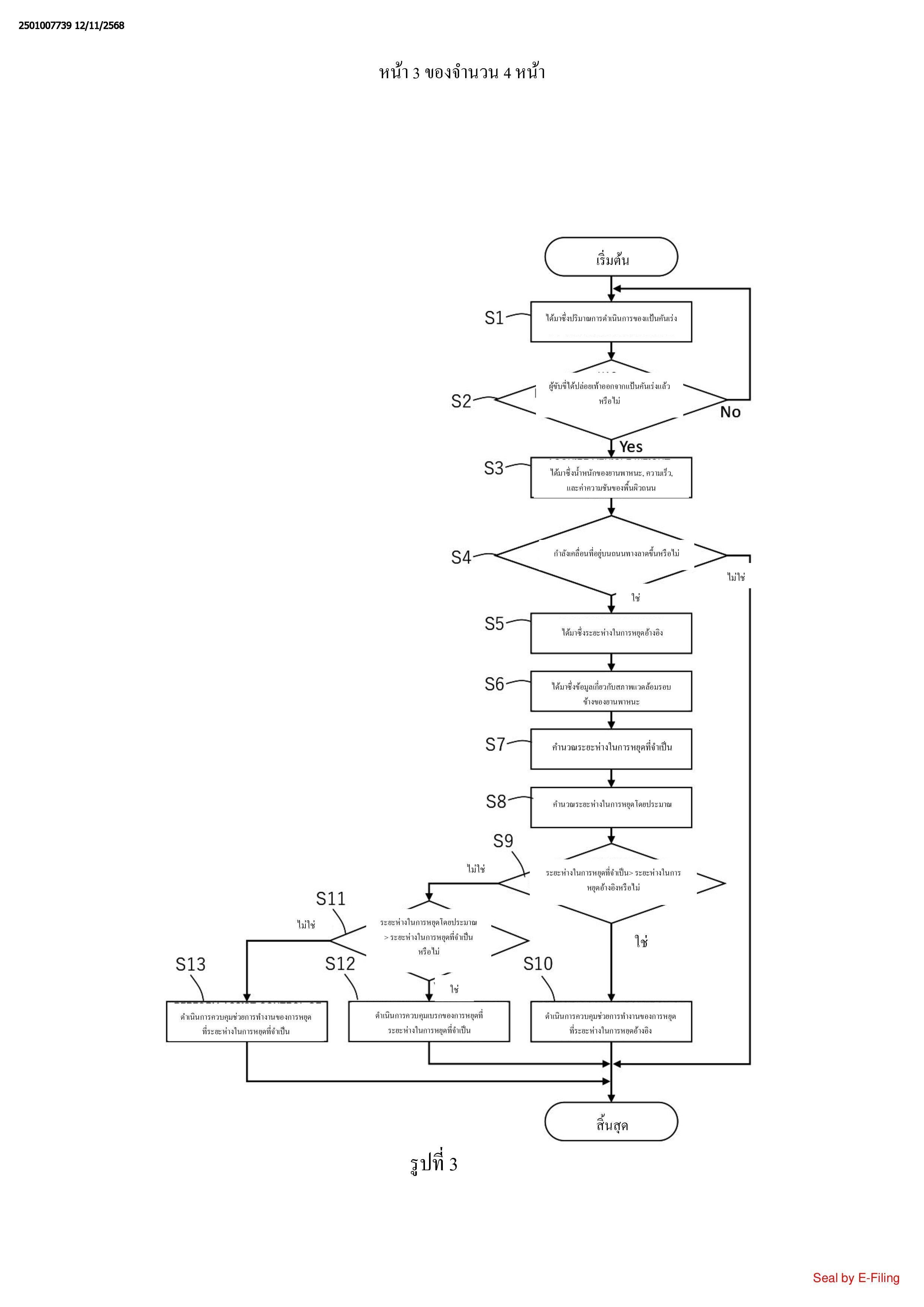
1. อุปกรณ์ควบคุมสำหรับยานพาหนะที่ควบคุมอุปกรณ์ขับเคลื่อนของยานพาหนะ โดย

อิงตามปริมาณการดำเนินการของพวกองค์ประกอบการดำเนินการ, อุปกรณ์ควบคุมสำหรับ

ยานพาหนะซึ่งประกอบรวมด้วย:

ส่วนการได้มาซึ่งปริมาณการดำเนินการที่ได้มาซึ่งปริมาณการดำเนินการ;

ส่วนการได้มาซึ่งค่าความชันที่ได้มาซึ่งค่าความชันของพื้นผิวถนนที่ยานพาหนะกำลัง

เคลื่อนที่อยู่; และ

ส่วนการควบคุมที่ควบคุมอุปกรณ์ขับเคลื่อนเพื่อที่ยานพาหนะจะหยุดที่ระยะห่างในการหยุด

อ้างอิง, ในกรณีที่ความชันเป็นทางลาดขึ้น และปริมาณการดำเนินการกลายเป็นศูนย์ในระหว่างที่

เคลื่อนที่โดยอุปกรณ์ขับเคลื่อน

2. อุปกรณ์ควบคุมสำหรับยานพาหนะตามข้อถือสิทธิที่ 1, ซึ่งประกอบรวมเพิ่มเติมด้วย:

ส่วนการได้มาซึ่งค่าน้ำหนักที่ได้มาซึ่งค่าน้ำหนักรวมของยานพาหนะ; และ

ส่วนการได้มาซึ่งค่าความเร็วที่ได้มาซึ่งค่าความเร็วของยานพาหนะ, โดยที่

ส่วนการควบคุมจะควบคุมอุปกรณ์ขับเคลื่อนโดยอิงจากค่าน้ำหนักรวมเเละความเร็ว

3. อุปกรณ์ควบคุมสำหรับขานพาหนะตามข้อถือสิทธิที่ 1, ซึ่งประกอบรวมเพิ่มเติมด้วย:

ส่วนการได้มาซึ่งสถานการณ์รอบข้างที่ได้มาซึ่งสถานการณ์รอบข้างของยานพาหนะ; และ

ส่วนการคำนวณระยะห่างในการหยุดที่จำเป็นที่คำนวณระยะห่างในการหยุดที่จำเป็นโดยอิงจาก

สถานการณ์รอบข้าง,โดยที่

ส่วนการควบคุมจะควบคุมอุปกรณ์ขับเคลื่อนเพื่อที่ยานพาหนะจะหยุดที่ระยะห่างในการหยุดที่จำเป็น,

ในกรณีที่ระชะห่างในการหยุดที่จำเป็นสั้นกว่าระยะห่างในการหยุดอึ้ง

4. อุปกรณ์ควบคุมสำหรับยานพาหนะตามข้อถือถือสิทธิที่ 3, ซึ่งประกอบรวมเพิ่มเติมด้วยส่วนการ

คำนวณระยะห่างในการหยุดโดยประมาณที่คำนวณระยะห่างในการหยุดโดยประมาณ, โดยที่

ส่วนการควบคุมจะควบคุมอุปกรณ์เบรกแทนการควบคุมอุปกรณ์ขับเคลื่อน, ในกรณีที่

ระยะห่างในการหยุดที่จำเป็นสั้นกว่าระยะห่างในการหยุดโดยประมาณ

5. อุปกรณ์ควบคุมสำหรับยานพาหนะที่ควบคุมอุปกรณ์ขับเคลื่อนของยานพาหนะโดยอิงจาก

ปริมาณการดำเนินการของพวกองค์ประกอบการดำเนินการ, อุปกรณ์ควบคุมสำหรับยานพาหนะซึ่ง

ประกอบรวมด้วย:

ส่วนการได้มาซึ่งปริมาณการดำเนินการที่ได้มาซึ่งปริมาณการดำเนินการ;

ส่วนการได้มาซึ่งค่าความชันที่ได้มาซึ่งค่าความชันของพื้นผิวถนนที่ยานพาหนะกำลัง

เคลื่อนที่อยู่;

ส่วนการได้มาซึ่งสถานการณ์รอบข้างที่ได้มาซึ่งสถานการณ์รอบข้างของยานพาหนะ:

ส่วนการคำนวณระอะห่างในการหยุดที่จำเป็นที่คำนวณระยะห่างในการหยุดที่จำเป็นโดยอิงจาก

สถานการณ์รอบข้าง; และ

ส่วนการควบคุมที่ควบคุมอุปกรณ์ขับเคลื่อน เพื่อที่ยานพาหนะจะหยุดที่ระยะห่างในการหยุดที่จำเป็น,

ในกรณีที่ความชันเป็นทางลาดขึ้น และปริมาณการคำเนินการกลายเป็นศูนย์ในระหว่างที่เคลื่อนที่โดย

อุปกรณ์ขับเคลื่อน

6. อุปกรณ์ควบคุมสำหรับยานพาหนะตามข้อถือถือสิทธิที่ 5, ซึ่งประกอบรวมเพิ่มเติมด้วยส่วนการ

คำนวณระยะห่างในการหยุดโดยประมาณที่คำนวณระยะห่างในการหยุดโดยประมาณ, โดยที่

ส่วนการควบคุมจะควบคุมอุปกรณ์เบรกแทนการควบคุมอุปกรณ์ขับเคลื่อน, ในกรณีที่

ระยะห่างในการหยุดที่จำเป็นสั้นคว่าระยะห่างในการหยุดโดยประมาย