Application Type
Paten
Application SubType
Paten Pecahan Non UMKM
(10) Registration Number and Date
Status
ACTIVE ( Application filed)
(180) Expiration Date
(20) Filing Number and Date
ID P00202515111 2025.12.22
(40) Publication Number (Gazette Number) and Date
2021/PID/01173
2021.02.25
(86) PCT Filing Number and Date
(87) PCT Publication Number and Date
(85) National Entry Date
(30) Priority Details
(51) IPC Classes
    (74) Representative
    (IN) Yogi Barlianto S.H. : A. Moehammad & Associates Jalan Raden Saleh No. 51A Cikini, Menteng Jakarta
    (54) Title
    (IN) ENKODER, DEKODER, METODE PENGENKODEAN DAN METODE PENDEKODEAN
    (57) Abstract
    (IN)

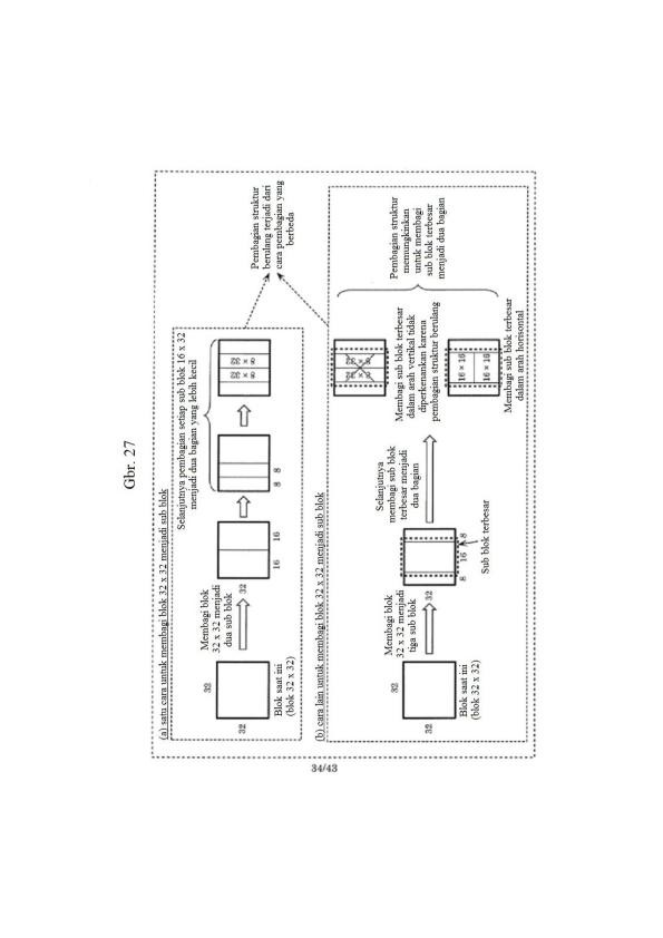
    Suatu enkoder (100) yang mengenkode blok saat ini dalam suatu gambar meliputi sirkuit dan memori. Dengan menggunakan memori, sirkuit: memisahkan blok saat ini menjadi sub blok pertama, sub blok kedua, dan sub blok ketiga dalam suatu arah pertama, sub blok kedua adalah berlokasi diantara sub blok pertama dan sub blok ketiga; menghalangi pembagian sub blok kedua menjadi dua pembagian dalam arah pertama; dan mengenkode sub blok pertama, sub blok kedua, dan sub blok ketiga.

    (IN)

    An encoder (100) that encodes a current block in a picture includes circuitry and memory. Using the memory, the circuitry: splits the current block into a first sub block, a second sub block, and a third sub block in a first direction, the second sub block being located between the first sub block and the third sub block; prohibits splitting the second sub block into two partitions in the first direction; and encodes the first sub block, the second sub block, and the third sub block.

    (58) Citations
    License Details
    (98) Annuity Details
    YearValidity StartValidity EndPayment
    Event NameDateLink
    Document published2021-02-25
    Application filed2025-12-22