Application Type
Patents
Application SubType
National Patent
(10) Registration Number and Date
Status
ACTIVE ( Search and examination requested)
(180) Expiration Date
(20) Filing Number and Date
TH 2501007303 2025.10.23
(40) Publication Number (Gazette Number) and Date
(9/2569)
2026.03.02
(86) PCT Filing Number and Date
(87) PCT Publication Number and Date
(85) National Entry Date
(30) Priority Details
CN
CN2024114961192
2024.10.25
(51) IPC Classes
(71/73) Applicant
(TH) ฮียัง เมดิคอล เทคโนโลยี (ซูโจว) โค., แอลทีดี : ห้อง 402, อาคาร 2, เลขที่ 188 ฟู่ชุนเจียง โร้ด, ไฮ-เทค โซน, ซูโจว ซิตี้, เจียงซู โพรวินซ์
(72) Inventor
(TH) เจีย เฝิง : ห้อง 402, อาคาร 2, เลขที่ 188 ฟู่ชุนเจียง โร้ด, ไฮ-เทค โซน, ซูโจว ซิตี้, เจียงซู โพรวินซ์
ชงชง ถัง
ซินหยาง หวง
(74) Representative
(TH) นาย โสภณ ปทุมรัตน์วรกุล : บริษัท เอสโอพี ลอว์ จำกัด 55/48 หมู่บ้าน Centro รามอินทรา - จตุโชติ 2 01 กาญจนาภิเษก ตำบลออเงิน อำเภอสายไหม จังหวัดกรุงเทพมหานคร
(54) Title
(TH)

อุปกรณ์การปิดหลอดเลือด

(57) Abstract
(TH)

OCR 09WP 09/12/2568
สิ่งที่ถูกเปิดเผยไว้คืออุปกรณ์การปิดหลอดเลือด อุปกรณ์นี้รวมถึงด้ามจับ, เส้นลวดดึง-ดัน,
จุดยึด, สายสวนแบบมีการยึดติด, ตัวอุดห้ามเลือดแบบขยายได้, ท่อรองรับด้านใน และท่อการอุดด้าน
นอก ด้ามจับถูกยึดติดไว้กับปลายด้านหลังของสายสวนแบบมีการยึดติด ที่มีตัวควบคุมที่หนึ่ง, ตัว
ควบคุมที่สอง และตัวควบคุมที่สามที่ถูกจัดเรียงไว้บนสิ่งดังกล่าว ปลายด้านหลังของเส้นลวดดึง-ดัน
ยืดขยายออกจากช่องด้านหลังของสายสวนแบบมีการยึดติด และปลายด้านหน้าถูกเชื่อมต่ออย่างยึดติด
ไว้กับจุดยึด ซึ่งทำให้จุดยึดส่งผ่านระหว่างสถานะแบบหดกลับตามแนวแกนและแบบขยายตามแนว
รัศมีและสถานะตั้งต้นใหม่ตามแนวแกนและแบบหดกลับตามแนวรัศมี ท่อรองรับด้านในและท่อการ
อุดด้านนอกถูกสวมครอบอย่างเคลื่อนที่ได้โดยตลอดผนังด้านนอกของสายสวนแบบมีการยึดติดตาม
ลำดับจากภายในสู่ภายนอก อุปกรณ์การปิดหลอดเลือดของการประดิษฐ์นี้สามารถบรรลุผลการลด
เวลาในการห้ามเลือดอย่างมีนัยสำคัญและมีอัตราการเกิดภาวะแทรกซ้อนที่ต่ำลง

(58) Citations
License Details
(98) Annuity Details
YearValidity StartValidity EndPayment
Document Type Date Action
abstract 2026-03-02T00:00:00Z
claims 2026-03-02T00:00:00Z
description 2026-03-02T00:00:00Z
gazette 2026-03-02T00:00:00Z
Event NameDateLink
Application filed2025-10-23
Document published2026-03-02
Search and examination requested2026-03-27

1

OCR 09WP 09/12/2568
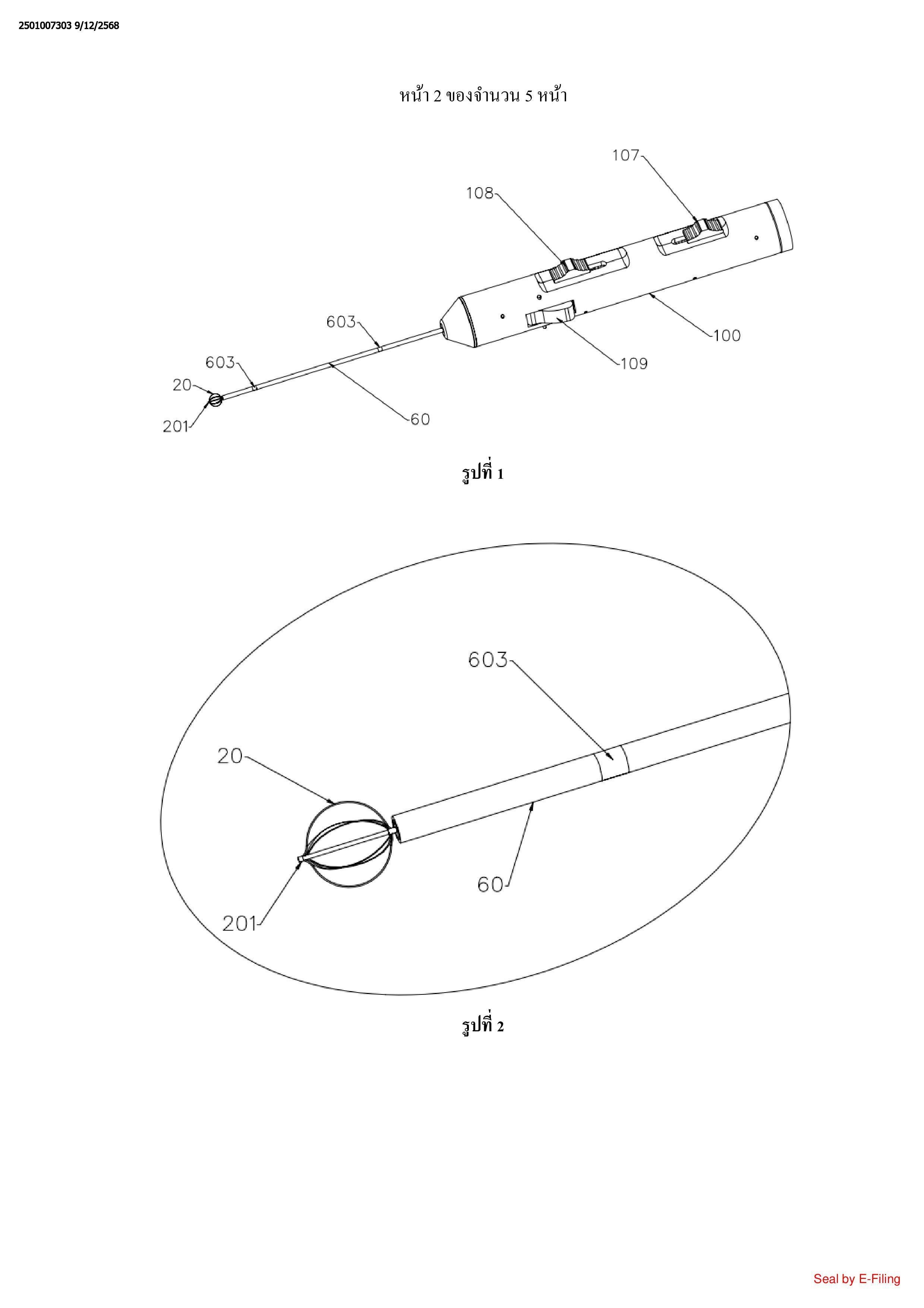
1. อุปกรณ์การปิดหลอดเลือด ที่ประกอบรวมด้วยด้ามจับ (100), เส้นลวดดึง-ดัน (10), จุดยึด
(20), สายสวนแบบมีการยึดติด (30), ตัวอุดห้ามเลือดแบบขยายได้ (40), ท่อรองรับด้านใน (50) และ
ท่อการอุดด้านนอก (60) ที่ซึ่ง:
รูทะลุ (1011) ถูกจัดวางตามแนวแกนไว้ที่ปลายด้านหน้าของด้ามจับ (100) ปลายด้านหลัง
ของสายสวนแบบมีการยึดติด (30) ถูกจัดเรียงอย่างยึดติดไว้ในด้ามจับ (100) และปลายด้านหน้าของ
สายสวนแบบมีการยึดติด (30) ยืดขยายออกจากรูทะลุ (1011)
เส้นลวดดึง-ดัน (10) ถูกสวมครอบอย่างเคลื่อนที่ได้ในสายสวนแบบมีการยึดติด (30) ปลาย
ด้านหลังของเส้นลวดดึง-ดัน (10) ยืดขยายออกจากช่องด้านหลังของสายสวนแบบมีการยึดติด (30)
และตัวควบคุมที่หนึ่ง (107) ถูกจัดเรียงไว้บนด้ามจับ (100) และถูกสร้างโครงแบบเพื่อขับเคลื่อนเส้น
ลวดดึง-ดัน (10) เพื่อให้เคลื่อนที่ตามแนวแกนไปตามสายสวนแบบมีการยึดติด (30) จุดยึด (20) ถูก
สวมครอบโดยตลอดส่วนด้านหน้าของเส้นลวดดึง-ดัน (10) ปลายด้านหน้าของจุดยึด (20) ถูกเชื่อมต่อ
อย่างยึดติดไว้กับปลายด้านหน้าของเส้นลวดดึง-ดัน (10) และปลายด้านหลังของจุดยึด (20) ถูก
เชื่อมต่ออย่างยึดติดไว้กับปลายด้านหน้าของสายสวนแบบมีการยึดติด (30) และจุดยึด (20) ถูกสร้าง
โครงแบบเพื่อส่งผ่าน ในการตอบสนองต่อการเคลื่อนที่ไปข้างหน้าหรือไปข้างหลังของเส้นลวดดึง-
ดัน (10) ระหว่างสถานะแบบหดกลับตามแนวแกนและแบบขยายตามแนวรัศมีและสถานะตั้งต้นใหม่
ตามแนวแกนและแบบหดกลับตามแนวรัศมี
ท่อรองรับด้านใน (50) ถูกสวมครอบอย่างเคลื่อนที่ได้โดยตลอดผนังด้านนอกของสายสวน
แบบมีการยึดติด (30) ปลายด้านหน้าของท่อรองรับด้านใน (50) ถูกจัดตำแหน่งไว้บนด้านหลังของจุด
ยึด (20) และปลายด้านหลังของท่อรองรับด้านใน (50) ยืดขยายเข้าไปในด้ามจับ (100) และตัวควบคุม
ที่สอง (108) ถูกจัดเรียงไว้บนด้ามจับ (100) และถูกสร้างโครงแบบเพื่อขับเคลื่อนท่อรองรับด้านใน
(50) เพื่อให้เคลื่อนที่ตามแนวแกนไปตามสายสวนแบบมีการยึดติด (30)
ท่อการอุดด้านนอก (60) ถูกสวมครอบอย่างเคลื่อนที่ได้โดยตลอดผนังด้านนอกของท่อ
รองรับด้านใน (50) ปลายด้านหน้าของท่อการอุดด้านนอก (60) ถูกจัดตำแหน่งไว้บนด้านหลังของจุด
ยึด (20) และปลายด้านหลังของท่อการอุดด้านนอก (60) ยืดขยายเข้าไปในด้ามจับ (100) และตัว
ควบคุมที่สาม (109) ถูกจัดเรียงไว้บนด้ามจับ (100) และถูกสร้างโครงแบบเพื่อขับเคลื่อนท่อการอุด
ด้านนอก (60) เพื่อให้เคลื่อนที่ตามแนวแกนไปตามสายสวนแบบมีการยึดติด (30)
ตัวอุดห้ามเลือดแบบขยายได้ (40) ถูกสวมครอบระหว่างผนังด้านในของส่วนด้านหน้าของ
ท่อการอุดด้านนอก (60) และผนังด้านนอกของส่วนด้านหน้าของท่อรองรับด้านใน (50) เมื่อท่อการ
อุดด้านนอก (60) เคลื่อนที่ พื้นผิวเส้นรอบวงด้านนอกของตัวอุดห้ามเลือดแบบขยายได้ (40) จะถูกปิด
ล้อมหรือถูกเปิดออก ท่อรองรับด้านใน (50) เคลื่อนที่ตามแนวแกนไปตามสายสวนแบบมีการยึดติด
(30) เพื่อปลดออกจากตัวอุดห้ามเลือดแบบขยายได้ (40) หรือเพื่อให้สวมครอบพื้นผิวเส้นรอบวงด้าน
ในของตัวอุดห้ามเลือดแบบขยายได้ (40) และในระหว่างการเคลื่อนที่ไปข้างหลัง ท่อรองรับด้านใน
(50) ขับเคลื่อนตัวอุดห้ามเลือดแบบขยายได้ (40) เพื่อให้ปิดผนึกบริเวณการเจาะอย่างยืดหยุ่น
ในสถานะแบบหดกลับตามแนวแกนและแบบขยายตามแนวรัศมี จุดยึด (20) ถูกสร้างโครง
แบบเป็นโครงสร้างคล้ายกลีบดอก, โครงสร้างขดลวดตาข่ายตะกร้า หรือโครงสร้างบอลลูน และใน
สถานะตั้งต้นใหม่ตามแนวแกนและแบบหดกลับตามแนวรัศมี จุดยึด (20) ถูกสร้างโครงแบบเป็น
โครงสร้างแบบท่อตรง
ปลอกวงรอบแบบดัน (601) ถูกสวมครอบอย่างยึดติดไว้โดยตลอดปลายด้านหลังของท่อการ
อุดด้านนอก (60) และองค์ประกอบที่ยืดหยุ่น (602) ถูกสวมครอบเพิ่มเติมโดยตลอดท่อการอุดด้าน
นอก (60) และปลายด้านหน้าขององค์ประกอบที่ยืดหยุ่น (602) ถูกติดเข้ากับปลายด้านหลังของรูทะลุ
(1011) ปลายด้านหลังขององค์ประกอบที่ยืดหยุ่น (602) ถูกติดเข้ากับปลายด้านหน้าของปลอกวงรอบ
แบบดัน (601) และปลายด้านในของตัวควบคุมที่สาม (109) ถูกติดเข้ากับปลายด้านหลังของปลอก
วงรอบแบบดัน (601) และ
การทำเครื่องหมายอย่างน้อยที่สุดหนึ่งจุด (603) ถูกจัดเรียงไว้บนผนังด้านนอกของท่อการอุด
ด้านนอก (60)
2. อุปกรณ์การปิดหลอดเลือดตามข้อถือสิทธิข้อ 1 ที่ซึ่งตัวควบคุมที่สาม (109), ตัวควบคุมที่
สอง (108) และตัวควบคุมที่หนึ่ง (107) ถูกจัดเรียงไว้บนพื้นผิวของด้ามจับ (100) อย่างเป็นลำดับจาก
ด้านหน้าไปยังด้านหลัง
3. อุปกรณ์การปิดหลอดเลือดตามข้อถือสิทธิข้อ 1 ที่ซึ่งฝาปิดปลาย (201) ถูกจัดเรียงอย่างยึด
ติดไว้ที่ปลายด้านหน้าของจุดยึด (20) และฝาปิดปลาย (201) ถูกยึดติดไว้กับปลายด้านหน้าของเส้น
ลวดดึง-ดัน (10) โดยกระบวนการที่ประกอบรวมด้วยการเชื่อม, การเชื่อมด้วยเลเซอร์, การเชื่อมด้วย
อาร์กอาร์กอน หรือการหลอมรวมด้วยความร้อน
4. อุปกรณ์การปิดหลอดเลือดตามข้อถือสิทธิข้อ 1 ที่ซึ่งตัวอุดห้ามเลือดแบบขยายได้ (40) ถูก
ทำขึ้นจากคอลลาเจนหรือกรดพอลิไกลโคลิก
5. อุปกรณ์การปิดหลอดเลือดตามข้อถือสิทธิข้อ 1 ที่ซึ่งฐานการยึดติด (105) ถูกจัดเรียงอย่าง
ยึดติดไว้ในด้ามจับ (100) ฐานการยึดติด (105) มีร่องการติดตั้ง (1051) ที่มีแกนร่วมกันกับรูทะลุ
(1011) และปลายด้านหลังของสายสวนแบบมีการยึดติด (30) ถูกจัดเรียงอย่างยึดติดไว้ในร่องการ
ติดตั้ง (1051)
6. อุปกรณ์การปิดหลอดเลือดตามข้อถือสิทธิข้อ 1 ที่ซึ่งตัวควบคุมที่หนึ่ง (107) และตัว
ควบคุมที่สอง (108) คือปุ่มดึง-ดัน ซึ่งแต่ละอันมีตะขอการล็อค และแผ่นการจับยึด (106) ถูกจัดเรียง
อย่างยึดติดไว้ในด้ามจับ (100) และชุดของช่องเสียบการล็อคที่จับคู่กับตะขอการล็อคที่สอดคล้องกัน
ถูกจัดเรียงไว้บนแผ่นการจับยึด (106)