Application Type
Patent (CN MOU)
Application SubType
Re-registration of Chinese Patent
(10) Registration Number and Date
Status
ACTIVE ( Document published)
(180) Expiration Date
(20) Filing Number and Date
KH P/2024/00012CN 2024.10.30
(40) Publication Number (Gazette Number) and Date
(PT202501-A)
2025.02.07
(86) PCT Filing Number and Date
(87) PCT Publication Number and Date
(85) National Entry Date
(30) Priority Details
GB
GB1812605.2
2018.08.02
(71/73) Applicant
(KH) SOLID STATE PLC : 2 Ravensbank Business Park, Hedera Road, Redditch, B98 9EY,
(72) Inventor
(KH) DEL GIUDICE, Mark Stephen
MERRILL, John Hamilton
(74) Representative
(KH) TILLEKE & GIBBINS (CAMBODIA) LTD : 15th Floor, Unit 1501, Flatiron, Street No.102 , Phnom Penh City Center, Sangkat Srah Chak , Khan Duan Penh, Phnom Penh
(54) Title
(KH) (EN) CONTACTOR
(57) Abstract
(KH) (EN)

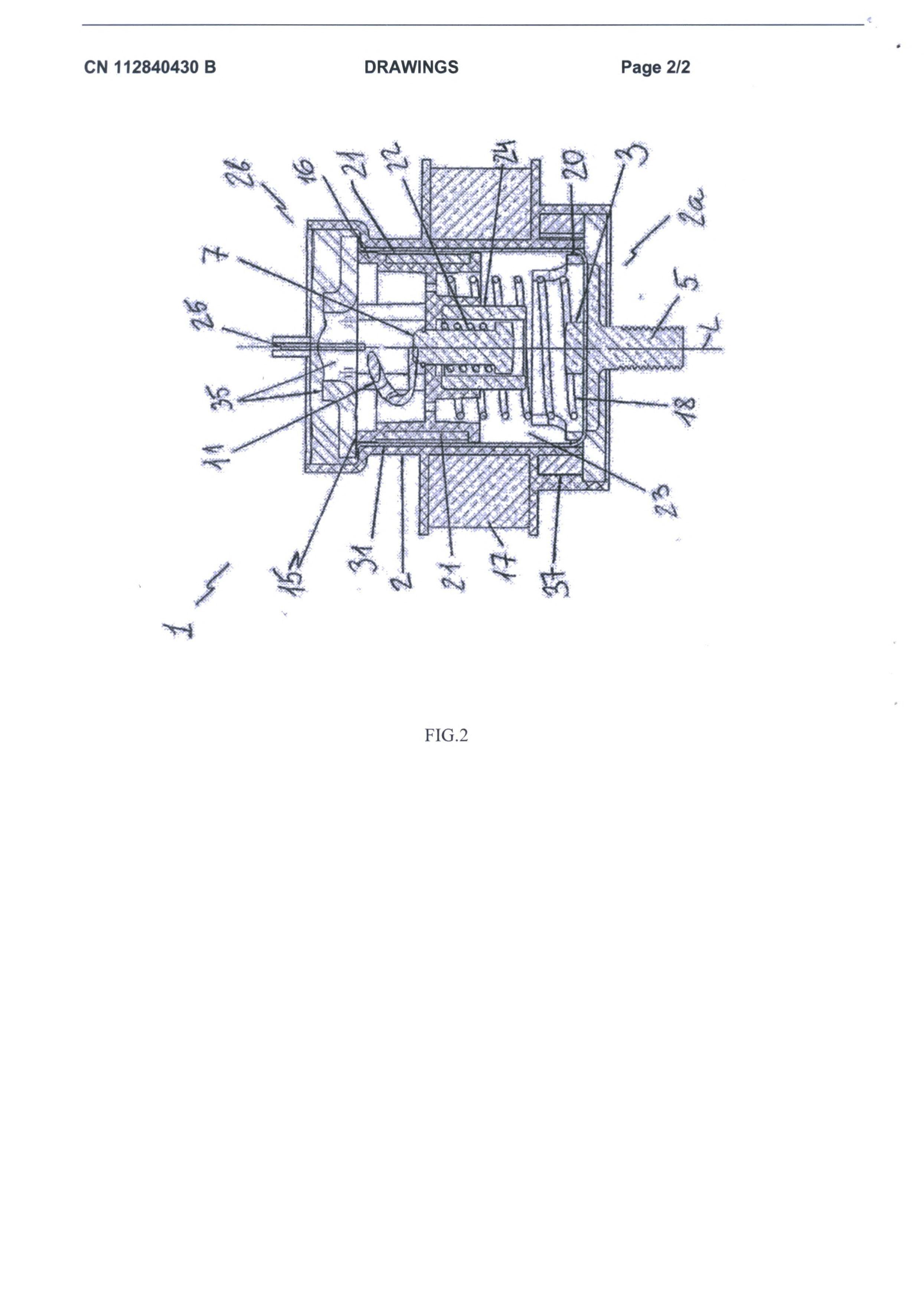
A contactor (1) comprising a first contact member (3) fixed and connected to a first conductor (5) of an electrical circuit; a second contact member (7) connected to a second conductor (9) of the electrical circuit by a connector (11); wherein the second contact member moves between a break position, in which the first and second contact members are out of contact, and a make position, in which the first and second contact members are in contact; an actuator assembly (15) coupled to the second contact member such that actuation of the actuator assembly translates into movement of the second contact member; an electromagnetic arrangement comprising an electromagnetic coil (17) and at least a part of the actuator assembly, wherein, when the coil is energised, the coil generates a magnetic field and thereby the actuation assembly is caused to move under the influence of the magnetic field, which in turn causes the second contact member to move; a hermetically sealable enclosure (2); wherein the first and second contact members, the connector, and the actuation assembly are inside the enclosure; and the coil is outside the enclosure.

(58) Citations
License Details
(98) Annuity Details
YearValidity StartValidity EndPayment
Event NameDateLink
Application filed2024-10-30
Document published2025-02-07