Application Type
National
Application SubType
(10) Registration Number and Date
10202404128Q
Status
ACTIVE ( Other event occurred)
(180) Expiration Date
(20) Filing Number and Date
SG 10202404128Q 2024.12.31
(40) Publication Number (Gazette Number) and Date
(86) PCT Filing Number and Date
(87) PCT Publication Number and Date
(85) National Entry Date
(30) Priority Details
EP
EP15306906.7
2015.12.01
US
US15/364,231
2016.11.29
(51) IPC Classes
    (72) Inventor
    (EN) BORIES, Sébastien : 27, Avenue de la gare,<br/>Nissan-lez-enserune 34440,<br/>France
    FRELAT, Olivier : 7 bis Avenue,<br/>Pierre Castel, Vias 34450,<br/>France
    (74) Representative
    (54) Title
    (57) Abstract
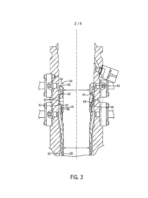
    (EN) WELLHEAD ASSEMBLY WITH INTERNAL CASING HANGER PACK-OFF ABSTRACT Various wellhead assemblies are provided. In one embodiment, the wellhead assemble includes a seal assembly that seals against an inner surface of a wellhead hanger and against an inner surface of a wellhead body. The wellhead hanger can be sized such that the upper portion of the hanger has an outer surface that abuts an inner surface of the wellhead. FIG. 3 11
    (58) Citations
    License Details
    (98) Annuity Details
    YearValidity StartValidity EndPayment
    Document Type Date Action
    Abstract 2024-12-31T00:00:00Z
    Description (with claims) 2024-12-31T00:00:00Z
    Event NameDateLink
    Other event occurred2016-11-30
    Other event occurred2025-01-08
    Other event occurred2025-03-29