Application Type
Patent (SG MOU)
Application SubType
Re-registration of Singapore Patent
(10) Registration Number and Date
Status
ACTIVE ( Document published)
(180) Expiration Date
(20) Filing Number and Date
KH P/2024/00013SG 2024.11.06
(40) Publication Number (Gazette Number) and Date
(PT202501-A)
2025.02.07
(86) PCT Filing Number and Date
(87) PCT Publication Number and Date
(85) National Entry Date
(30) Priority Details
US
US62/133,800
2015.03.16
EP
EP15159067.6
2015.03.13
(74) Representative
(KH) BNG LEGAL : No.64 St. 111, Sangkat Boen Prolit, Khan 7 Makara, Phnom Penh
(54) Title
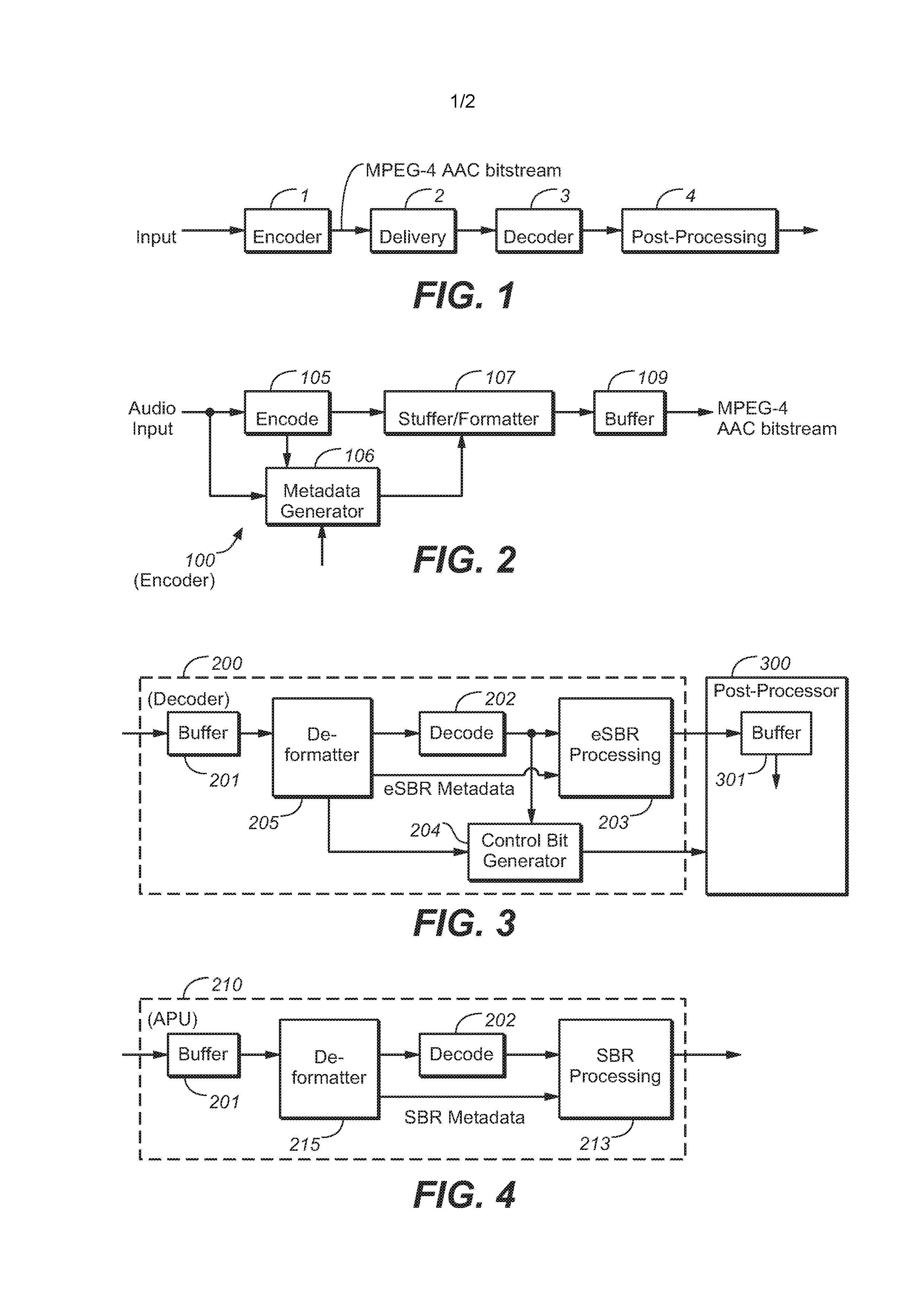
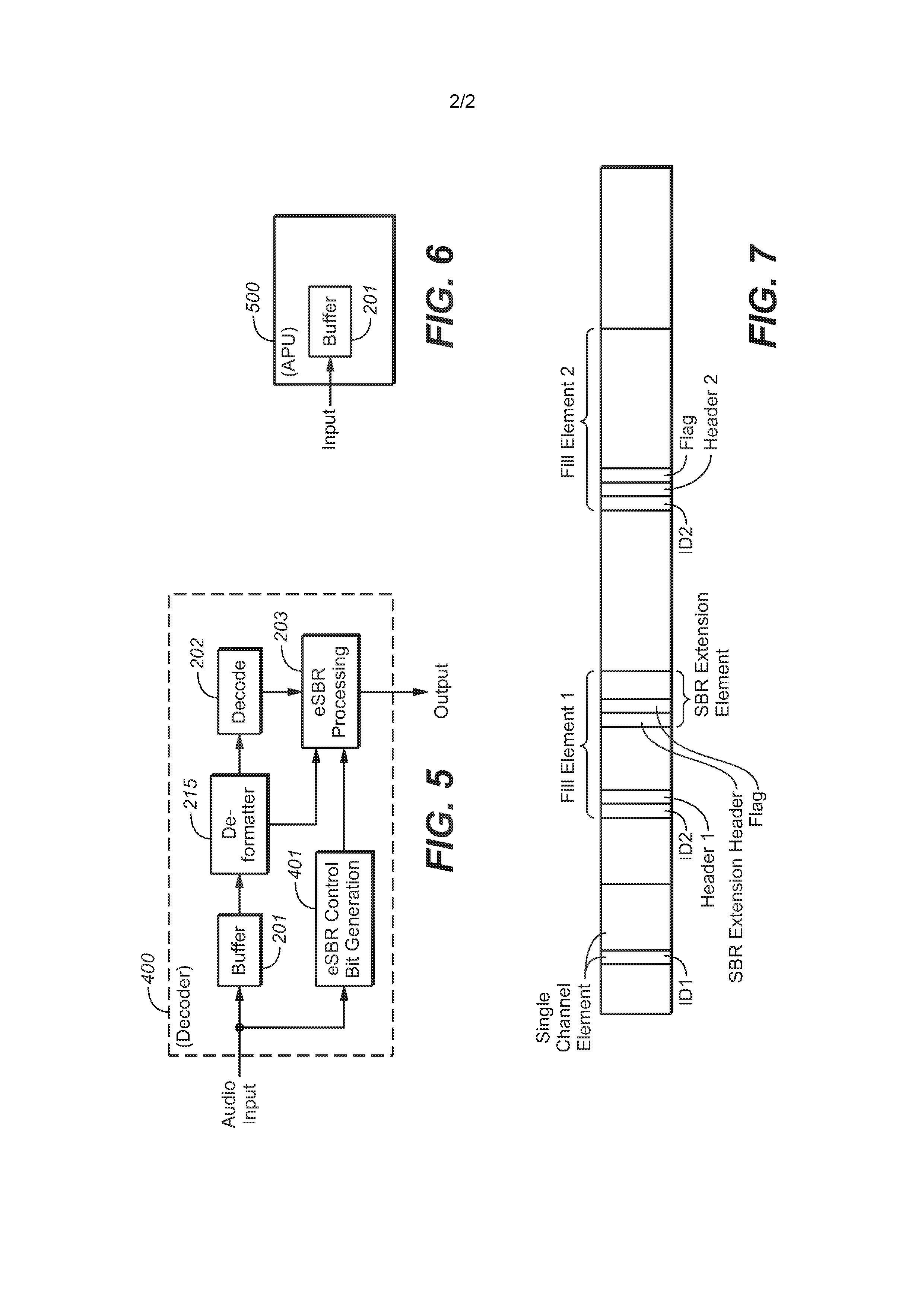
(KH) (EN) DECODING AUDIO BITSTREAMS WITH ENHANCED SPECTRAL BAND REPLICATION METADATA IN AT LEAST ONE FILL ELEMENT
(57) Abstract
(58) Citations
License Details
(98) Annuity Details
YearValidity StartValidity EndPayment
Event NameDateLink
Application filed2024-11-06
Document published2025-02-07